В данном разделе размещена информация справочного характера, предоставленная открытыми источниками.
Компания не занимается реализацией и сопровождением товаров и услуг не связанных с производством и обслуживанием грузоподъёмных механизмов.
ПРАВИТЕЛЬСТВО МОСКВЫ
МОСКОМАРХИТЕКТУРА
РЕКОМЕНДАЦИИ
по проектированию концертных
залов
Предисловие
1. Разработаны: ГУП МНИИП «Моспроект-4» и ЗАО ЦНИИЭП им. Б.С. Мезенцева;
руководитель работы - доктор архитектуры А.В. Анисимов (МНИИП); авторы - кандидат
архитектуры Н.И. Жемчужникова - научное руководство, редакция, разделы 1, 4.7 - 4.11, подбор примеров (МНИИП);
архитектор Н.Е. Прянишников - научное руководство, редакция, разделы 2, 3, 4.5, подбор примеров, опрос
экспертов (ЦНИИЭП); архитектор И.Д. Рябышева - введение, разделы 2, 3, 4.1 - 4.4, (ЦНИИЭП); доктор
архитектуры М.Р. Савченко - раздел 4.6 (ЦНИИЭП); консультанты:
кандидат архитектуры В.Д. Красильников, кандидат архитектуры С.В. Гнедовский,
кандидат архитектуры М.М. Гаврилова (Товарищество Театральных Архитекторов));
при участии О.В. Монаховой (МНИИП); кандидата технических наук С.М. Строгановой
(ЦНИИЭП).
2. Подготовлены к изданию Управлением перспективного проектирования,
нормативов и координации проектно-изыскательских работ Москомархитектуры.
3. Согласованы с Комитетом по культуре г. Москвы и Москомархитектурой.
4. Утверждены указанием Москомархитектуры от 27.04.04 г. № 16.
СОДЕРЖАНИЕ
Концерт - один из наиболее
распространённых видов зрелища, который имеет сложную технологию, рассчитанную
на непосредственный контакт актера со зрителем, проводится в различных по
величине аудиториях. Концертные программы, как правило, не связанны общим сюжет
ом и формируются из отдельных номеров с преобладанием музыкальной основы.
Концертное представление по характеру близко к цирковому или театрализованному,
но отличается от них тем, что процессы подготовки и реализации программ
отделены друг от друга в пространстве и времени и предполагают наличие
стационаров и широкой сети гастрольных площадок - концертных залов.
Строительство
специализированных зданий концертных залов довольно долгое время не велось, и
этот вид строительства оставался вне поля зрения прикладной архитектурной
науки. Ситуация изменилась в конце 60-х годов прошлого века, когда началось
строительство крупных залов для проведения общественных мероприятий. Частота их
проведения была невелика и возникла идея проведения в этих залах популярных
культурно-зрелищных программ для достижения рентабельного круглогодичного
функционирования. Изучение специфики концертного зрелища началось ЦНИИЭП им.
Б.С. Мезенцева, результаты научных исследований были опубликованы в книге
«Концертные залы», выпущенной «Стройиздатом» в 1975 году в серии
«Архитектору-проектировщику» [3.1]. Эта книга до сих пор являлась единственным
пособием по проектированию зданий для концертной деятельности. Приведенные в
книге основные рекомендации прошли проверку и нашли подтверждение на
спроектированных и построенных в Москве и других городах России объектах.
Однако всё же за 30 лет произошли значительные изменения в технологии,
функционировании и оснащении зданий концертных залов, что вызвало необходимость
разработки нового нормативно-методического документа по их проектированию.
Рекомендации опираются на
научный анализ произошедших изменений в проектировании и строительстве
концертных залов (как у нас в стране, так и за рубежом) и определяют новый
характер требований к организации архитектурной среды, к функциональным,
архитектурно-планировочным и объёмно-пространственным решениям, акустике,
звукоизоляции, видимости при проектировании зданий концертных залов.
Рекомендации опираются также на экспертный опрос специалистов по концертной
деятельности.
1.1. Область применения
1.1.1. Настоящие Рекомендации распространяются на проектирование нового
строительства и реконструкции всех типов концертных залов в г. Москве. Они
разработаны в дополнение и развитие основных положений МГСН 4.17.98. «Культурно-зрелищные учреждения».
1.1.2. Рекомендации предназначены для использования при проектировании и
экспертизе проектной документации на строительство концертных залов, как
самостоятельных объектов, так и объектов, входящих в состав общественных
комплексов.
1.1.3. Рекомендациями следует пользоваться при выборе типа концертного зала,
определении состава и площадей его помещений, а также при разработке его
функциональных и архитектурно-планировочных решений.
1.1.4. Залы с вместимостью более 1200 мест рекомендуется проектировать по
специально разработанным заданиям на проектирование с соответствующим научным и
технико-экономическим обоснованием.
1.1.5. Требования по проектированию функциональных блоков стационаров для
подготовки концертных программ в данном документе не рассматриваются.
1.1.6. Инженерно-технические требования к концертным залам как одному из
типов культурно-зрелищных учреждений изложены в МГСН 4.17-98.
1.1.7. Эмпирические показатели стоимости строительства концертных залов
приведены в таблице 3.2.2.
1.2.
Основные положения
1.2.1. В рекомендациях использован опыт проектной и научно-исследовательской
практики, а также опыт эксплуатации ряда конкретных объектов. Рекомендации
предусматривают возможность уточнения отдельных правил и требований в
соответствии с конкретными условиями строительства, потребностями и
возможностями инвесторов, заказчиков-застройщиков.
1.2.2. В основе Рекомендаций - функциональные требования к организации
архитектурно-пространственной среды, предъявляемые, как технологией
производства концертных зрелищ, и их видовых особенностей, так и возрастающими
потребностями зрителей.
1.2.3. При проектировании концертных залов и при выборе конкретных параметров
объекта рекомендуется исходить из общепринятой нормы в соответствии с МГСН 4.17-98, обеспечивающей необходимый минимум условий пребывания человека в
здании, благоприятные условия видимости и восприятия концерта. Рекомендуется
учитывать три возможных уровня комфорта: 3 - общепринятая норма, 2 - повышенный
уровень комфорта, 1 - самый высший уровень комфорта. Это отражается в наборе
услуг, в составе и параметрах помещений, что закрепляется в задании на
проектирование. Для залов, как показывает практика, следует рекомендовать
только 3-й уровень, т.е. не менее основного нормативного показателя, поскольку
всякое увеличение параметров зала (длина зала, ширина
проходов и др.) ведет к ухудшению видимости или, при сохранении условий видимости,
к сокращению его вместимости.
1.2.4. В Рекомендациях разработана типология концертных залов, сформулированы
требования к объемно-планировочной организации отдельных функциональных зон,
определены состав и площади основных и сопутствующих концертным залам
помещений.
2.1. Общие свойства концерта
2.1.1. Концерт - это зрелище с открытой, гибкой, публичной и весьма мобильной
технологией, состоящее из отдельных номеров, в которых занято различное число
артистов, где возможно чередование жанров, самостоятельных программ, различных
номеров, а также объединение малых и крупных коллективов разного профиля.
Первоначально концертному зрелищу был свойственен соревновательный характер. В
процессе эволюции из соревнования отдельных музыкантов концерт превратился в
разнохарактерный вид представления. Со временем концертные зрелища пополнились
программами с исполнителями другой природы (речевыми, пластическими), других
жанров (эстрадного, литературного), стали использовать постановочные средства.
В состав современной концертной программы входят, как сольные выступления и
выступления сложившихся коллективов, относящиеся к самостоятельному виду
искусства (выступления оркестра, хоровые капеллы, народные хоры,
хореографические и вокально-инструментальные ансамбли и т.д.), так и номера из
смежных видов сценических искусств (театрального, циркового).
2.1.2. Концерты подразделяются следующим образом.
По природе исполнения -
вокальные, инструментальные, пластические, речевые. По жанру - филармонические,
эстрадные, литературные, хореографические и сборные (смешанные). По социальному
назначению - обычные, праздничные, благотворительные. По содержанию -
тематические и нетематические. По составу зрителей - детские и взрослые. По
времени - утренние, дневные и вечерние или концертные марафоны (продолжающиеся
в течение суток).
2.2.
Виды концертов
2.2.1. Формирование архитектурного пространства концертных зрелищ в основном
определяют два параметра: жанр концерта (п. 2.1.2.) и сценография, т.е. набор
применяемых приемов организации зрелища.
2.2.2. По этим параметрам вся совокупность концертов может быть разделена на
семь видов:
1. Большие филармонические;
2. Малые филармонические (камерные);
3. Эстрадные;
4. Хореографические;
5. Народных ансамблей;
6. Литературные;
7. Сборные.
2.2.3. Характеристика этих видов концертов приведена в таблице 2.2.1.
Таблица 2.2.1.
Характеристика видов концертов
|
№
|
Виды концертов
|
Характеристика концерта
|
Основные исполнители
|
|
1
|
Большие филармонические
|
Симфоническая инструментальная и вокальная
музыка
|
Симфонические оркестры, хоровые капеллы,
духовые оркестры, оперные вокалисты, органисты
|
|
2
|
Малые филармонические (камерные)
|
Камерная инструментальная и вокальная музыка
|
Камерные оркестры и инструментальные
ансамбли, вокально-инструментальные ансамбли, камерные вокалисты,
филармонические солисты инструментального исполнения
|
|
3
|
Эстрадные
|
Эстрадная инструментальная и вокальная музыка,
юмор и сатира, танцевальные и цирковые номера, театрализованные представления
легкого жанра и т.п.
|
Эстрадные оркестры и инструментальные
ансамбли, эстрадные вокально-инструментальные ансамбли, солисты-вокалисты
эстрадного жанра, цирковые артисты, артисты оригинального жанра, артисты
художественного слова, сатирики и юмористы, артисты мюзик-холла и эстрадного
танца.
|
|
4
|
Хореографические
|
Народные, классические, характерные и
современные танцы
|
Ансамбли: народного и классического танца,
солисты классического, характерного, современного танцев, театр танца.
|
|
5
|
Народных ансамблей
|
Народная вокально-инструментальная музыка и
танцы
|
Народные хоры, ансамбли песни и танца
|
|
6
|
Литературные
|
Художественное слово
|
Артисты художественного слова,
солисты-инструменталисты
|
|
7
|
Сборные
|
Включают номера всех видов концертов и
исполнителей
|
2.2.4. Каждый из этих видов
концертов предъявляет свои специфические требования к организации зрелищного
пространства (демонстрационная площадка и зона зрительских мест), а также к
другим группам помещений концертных залов. В данных Рекомендациях приводятся
дифференцированные требования с учетом видов концертов. Такой подход позволяет
формировать концертные блоки (включая зрелищное пространство и все другие
группы помещений) для определенного вида концерта, предусматривая при этом
возможность универсализации залов и включения концертных блоков в многозальные
комплексы.
2.2.5. При проектировании концертных залов помимо специфических требований,
предъявляемых к организации зрелищного пространства отдельными видами
концертов, следует учитывать также их общие свойства:
·
преобладание
музыкальной основы;
·
ведущая
роль инструментального состава исполнителей (кроме хореографии и литературных);
·
ограниченное
использование декораций (поэтому для концертов используются эстрады и
сцены-эстрады);
·
демократичность
зрелища, т.е. максимальная приближенность выступающих и зрителей друг к другу;
·
быстрая
и ритмичная смена номеров;
·
использование
световых эффектов и видеоэкранов.
2.2.6. К общей характеристике концертов следует отнести: ненужность резервных
складов, использование для репетиций, в основном, игровой площадки.
Хореографическим концертным коллективам, помимо прочего, требуются
репетиционные залы. Для крупных концертных коллективов необходимы большие
артистические уборные, которые могут использоваться для дополнительной
распевки, настройки инструментов, разминки. Хореографические коллективы имеют в
составе швей и сапожников, поэтому в обслуживающих помещениях следует
предусматривать место (зоны) для ремонта обуви и костюмов. Также необходимы
специальные складские помещения для временного хранения костюмов и прочего
багажа.
2.2.7. Разные виды концертов имеют с разную привлекательность для зрителя
(масштабность зрелища), характеризуемую посещаемостью или единовременным числом
посетителей. По этому критерию концертные программы делятся на следующие
группы:
·
Крупнейшие
- свыше 3000 зрителей;
·
Крупные
- 1201 - 3000 зрителей;
·
Средние
- 601 - 1200 зрителей;
·
Малые
- до 600 зрителей;
·
Камерные
- менее 200 зрителей.
Основными качественными
характеристиками концертных залов являются:
·
комфортность,
·
рациональность
(в том числе функциональность и безопасность). Комфортность удается максимально
обеспечить в узкоспециализированных залах, рассчитанных на один вид концерта.
Для этого необходимо удовлетворить функциональные требования программ этих
концертов к объемно-пространственной организации и параметрам зрелищного
пространства (зрительному залу и демонстрационной площадке), а также к
сценическому оборудованию.
Достижения рациональности
возможно добиться при условии правильного выбора вместимости зала и видов
концертных программ с соответствующей степенью привлекательности
(масштабности), при правильной функциональной организации сооружения,
соблюдении условий безопасности пребывания и эвакуации.
Отдельные концертные залы
могут проектироваться с учетом иных целей: престижности и повышения уровня
культуры, для привлечения значимых программ, обеспечения условий деятельности
уникального коллектива и др.
3.1.1. Музыкальная основа концертных программ предъявляет особо жесткие
требования к акустике зала. Симфоническая музыка качественно звучит лишь в
залах с естественной акустикой, а эстрадная может хорошо восприниматься и в
залах с искусственной акустикой.
3.1.2. Ведущая роль инструментального состава исполнителей концертных
программ вызывает необходимость размещения их на демонстрационной площадке, а
не в оркестровой яме (кроме хореографических программ), которая не является
обязательным элементом концертного зала. Ограниченное использование декораций
(или полное их отсутствие) допускает решение демонстрационной площадки в виде
эстрады или сцены-эстрады.
3.1.3. Гастрольная система функционирования концертной деятельности позволяет
развести процессы подготовки и реализации программ. Для реализации программ
используются концертные залы - гастрольные площадки, при выборе которых следует
учитывать специфику реализуемой концертной программы.
3.1.4. Для создания рациональной сети гастрольных площадок необходимы
следующие типы концертных залов:
·
специализированные
концертные, рассчитанные на один вид концерта;
·
универсальные
концертные, рассчитанные на демонстрацию нескольких видов концертов;
·
универсальные
зрелищные, рассчитанные на концерты и другие виды зрелищ;
·
многоцелевые,
рассчитанные не только на концерты, другие виды зрелищ, но и на досуговые
мероприятия.
3.1.5. Зарубежная и отечественная практика проектирования, строительства и
эксплуатации показала, что повышения рациональности функционирования
культурно-зрелищных объектов можно добиться путем предоставления посетителям
возможности выбора зрелищных программ и попутных мероприятий, а также
возможности самостоятельного формирования досуговых программ.
3.1.6. Для достижения этой цели создаются зрелищные многозальные комплексы.
Многозальные здания позволяют не только увеличивать рациональность
функционирования, но и уменьшать капитальные вложения на строительство зданий
за счет сокращения и кооперирования близких по функции групп помещений
(артистических, зрительских, репетиционных и т.п.).
3.1.7. Посещаемость зрелищных объектов существенно увеличивается при их
размещении в центральной части города, при приближении остановок городского и
внегородского транспорта, соседстве гостиниц, наличии парковок и главное, - при
историко-культурной освоенности среды, являющейся традиционным местом
проведения досуга. Чем дальше от центра размещается зрелищный объект, тем
степень его многофункциональности должна быть выше.
3.1.8. Участок территории объекта должен допускать возможность развития
комплекса. Организация и дизайн участка и особенно входной зоны должен
соответствовать настрою посетителей перед посещением зрелища, так и после
окончания его.
3.1.9. В случае размещения объекта в районах новостроек следует обеспечить
благоустройство и озеленение участка, формирование
архитектурно-пространственной и эстетико-культурной среды одновременно с вводом
объекта в действие. При строительстве крупных комплексов, состоящих из
нескольких зданий, очень важно определить целесообразную последовательность
ввода его отдельных блоков. При проектировании крупного зрелищного здания
следует учитывать последствия его ввода в действие, отнимающее программы
соответствующей масштабности у объектов старой сети. В связи с этим возникает
необходимость в корректировке сети для восстановления эффективности отдельных
объектов, поиск для них новых программ (а, возможно, и другого профиля).
3.1.10. При проектировании концертного зала необходимо системное рассмотрение
сети объектов культуры района, микрорайона, что позволит решить следующие
задачи:
·
повысить
уровень обслуживания населения зрелищными (в том числе и концертными)
программами;
·
обеспечить
рациональность функционирования сети.
3.2.
Типы концертных залов.
3.2.1. Мировая и отечественная практика свидетельствует, что концертные
программы демонстрируются, как правило, в следующих типах залов:
·
узкоспециализированных
(филармонических, органных, хоровых и т.п.), предназначенных для программ
одного профиля и масштабности (если число таких программ обеспечивает годовой
цикл функционирования зала);
·
универсальных
концертных, допускающих демонстрацию программ различных видов концертов одной
масштабности;
·
универсальных
зрелищных залах (театрально-концертных, киноконцертных,
театрально-киноконцертных, спортивно-концертных, цирко-концертных и др.),
допускающих демонстрацию различных видов концертных программ и ряда программ
других видов зрелищ одной масштабности;
·
многоцелевых
залах (концертно-танцевальных, концертно-танцевально-банкетных,
лекционно-концертных и др.), допускающих демонстрацию различных видов концертов
и других видов зрелищ, а также досуговых и/или общественных видов деятельности
(танцы, банкеты, собрания, елки и т.д.) одной масштабности.
3.2.2. Узкоспециализированные типы концертных залов создаются для
демонстрации концертных программ с весьма специфическими требованиями к
организации зрелищного пространства и сценическому оборудованию, а также для
уникальных программ или программ, исполнителями которых являются мало мобильные
коллективы. Как правило, такой зал становится стационаром концертного
коллектива.
3.2.3. Универсальные концертные залы предназначены для демонстрации различных
видов концертных программ (симфонических, эстрадных, народного искусства) и
прежде всего сборных концертов.
3.2.4. Универсальным зрелищным залам следует адресовать программы с близкими
функциональными требованиями к зрелищному пространству. Имеется возможность
менять архитектурную среду с помощью трансформируемых устройств (настраивать
акустику зала как музыкальный инструмент, создавать нужный уклон пола, изменять
профиль потолка и объем зала, менять тип демонстрационной площадки и её размеры
и т.д.). Однако следует учитывать сложности трансформаций, существенные
затраты, трудности достижения звукоизоляции, а также необходимость использовать
при эксплуатации достаточно квалифицированные в техническом отношении кадры.
3.2.5. В многоцелевых залах концертная программа из-за её уникальности
оказывается сопутствующей функцией, а доминируют развлекательные (ганцы и балы)
или общественные виды деятельности (проведение собраний, конгрессов,
фестивалей, съездов). К таким объектам относятся городские общественные и
клубные залы. В прошлом к таким объектам относились здания сословных собраний
(дворянских, благородных, купеческих).
3.2.6. Привлекательно (правда редко используется) совмещение концертных и
цирковых функций в одном здании. Такой зал со сценой-ареной возник еще до
революции - цирко-концертный зал в Иваново-Вознесенске (не сохранился).
Концертные и цирковые программы могут чередоваться в музыкальном центре в
Утрехте, Нидерланды (см. рис. 4 и 5, приложения 10).
3.2.7. Помимо специально построенных залов для демонстрации концертных
программ используются другие объекты культуры:
·
помещения
памятников культуры - салонные залы и залы-гостиные в дворцах-музеях и
усадебных комплексах (Останкино, Кусково, театр Гонзаго в Архангельском и др.);
·
музейные
экспозиции и выставочные залы картинных галерей («Декабрьские вечера» в Белом
зале ГМИИ им. А.С. Пушкина, Третьяковской галерее, Музее им. М. Глинки, и др.);
·
клубные
помещения творческих объединений (Белая гостиная Центрального дома
архитекторов);
·
залы
и аудитории системы дополнительного образования (Малый зал московской
Консерватории, концертный зал училища им. Гнесиных).
3.2.8. Все перечисленные типы залов имеют право на введение в разрабатываемую
классификацию зрелищных залов и использование в качестве элементов зрелищной
сети для демонстрации концертных программ.
3.2.9. Рациональность функционирования концертных залов достигается
правильностью выбора их назначения и вместимости, а также с помощью
кооперирования холлов и других помещений, многоцелевого использования всех
возможных помещений, эффективной архитектурно-планировочной схемы всего
комплекса и зальных пространств в частности.
3.2.10. Целесообразно создание новых типов концертных залов:
·
специализированных
эстрадных залов, предназначенных для выступления джазовых и эстрадных оркестров
в условиях естественной акустики;
·
специализированных
залов народной вокально-инструментальной музыки и танцев.
3.2.11. Необходимость создания специализированных эстрадных залов объясняется
растущей популярностью этого жанра и развитием шоу-бизнеса, производством
большого числа джазовых и эстрадных программ. Этот тип залов уже постепенно
внедряется в организуемые в Москве развлекательные центры.
3.2.12. Целесообразность создания специализированных залов народной музыки и
танцев связана с одним из направлений развития туризма в столице - культурным
туризмом. Туристов, прежде всего, интересует специфическое искусство страны
пребывания, особенно, если страна многонациональна и многокультурна.
Популярность этого направления подтверждается выделением в самостоятельный жанр
этнической музыки, например, этнического рока. Создание такого типа
специализированных концертных залов целесообразно в составе центров народного
искусства.
3.2.13. Предлагаемая классификация концертных залов приведена в табл. 3.2.1.
3.2.14. При определении стоимости строительства залов разных типов
рекомендуется использовать удельные показатели, приведенные в табл. 3.2.2.
Таблица 3.2.1.
Классификация концертных залов
|
|
Виды залов
|
Вместимость, мест
|
Акустика
|
Тип демонстрационной площадки
|
|
1
|
Специализированные
концертные залы
|
|
1.1
|
Филармонические для симфонических и гала
концертов, органных концертов и т.п.
|
500 - 2500
|
Естественная акустика, регулирование
естественной акустики
|
Эстрада, тип А
|
|
1.2.
|
Эстрадные
|
500 - 6000
|
звукоусиление
|
Эстрада, тип А
|
|
1.3.
|
Народной вокально-инструментальной музыки и
танцев
|
900 - 2500
|
Естественная акустика, звукоусиление
|
Эстрада, тип Б
|
|
1.4.
|
Музыкально-речевые
|
200 - 600
|
Естественная акустика, звукоусиление
|
Эстрада, тип А
|
|
2
|
Универсальные концертные залы
|
|
2.1.
|
Концертно-театральные
|
500 - 2500
|
Естественная акустика, регулирование
естественной акустики
|
Сцена-эстрада
|
|
2.2.
|
Прочие универсальные концертные
(киноконцертные, спортивно-концертные и др.)
|
250 - 2000
|
Звукоусиление
|
Трансформируемая сцена-эстрада
|
|
3
|
Универсальные залы
|
|
3.1.
|
Зрелищно-досуговые (банкеты, танцы,
выставки)
|
250 - 2000
|
Естественная акустика, звукоусиление
|
Трансформируемый зал с эстрадой
|
|
Примечания.
1. Все типы залов могут быть стационарными,
полу стационарными и полностью трансформируемыми.
2.
Оборудование и сценография залов разрабатываются по специальной,
индивидуальной программе.
|
Табл.
3.2.2.*
Удельные показатели стоимости строительства зданий концертных залов
|
Типы
залов
|
Вместимость, мест
|
Стоимость строительства тыс. руб. на 1 кв. м. общей площади
|
|
Концертные
|
1000
|
3,4
|
|
1200 -
1600
|
3,3
|
|
2000
|
3,1
|
|
2500
|
3,0
|
|
Театрально-концертные
|
800 -
1200
|
4,2
|
|
Летние
(театры)
|
1600
|
1,4
|
|
1000
|
1,6
|
|
* Удельные показатели рассчитаны в ценах
1991 г. на основе данных МРР-3.1.02-97
|
4.
ЭЛЕМЕНТЫ ЗДАНИЯ КОНЦЕРТНОГО ЗАЛА. ОБЕСПЕЧЕНИЕ ТЕХНОЛОГИЧЕСКИХ ТРЕБОВАНИЙ.
Здание для демонстрации
концертных программ должно включать основной концертный и дополнительный блоки.
Основной блок состоит из демонстрационной площадки и зоны зрительских мест
(зрелищного пространства) и сопутствующих групп помещений обслуживающих
зрителей, демонстрационную площадку и коллектив артистов. Дополнительный блок
состоит из помещений, выполняющих сервисные функции, необходимые для нормальной
эксплуатации здания.
Разные виды концертов
предъявляют различные и, подчас, противоречивые требования к организации
зрелищного пространства и других групп помещений. Приводимыми в данном разделе
требованиями, дифференцированными по видам концертов, руководствуются при
проектировании специализированных залов, в том числе при формировании
универсальных объектов и отдельных концертных блоков многофункциональных
центров.
При проектировании
универсальных залов следует опираться на наиболее жесткие требования,
предъявляемые к концертному зрелищу, рассматривая в последствии возможность
улучшения условий для остальных видов зрелищ, добиваясь создания комфортных
условий для каждого из них.
При определении состава и
параметров помещений концертных залов следует учитывать режим их
функционирования, выявлять помещения большую часть времени недоиспользующиеся,
перераспределять функциональные нагрузки, оптимизировать количество и площади
помещений комплекса.
4.1.1. Зрелищное пространство является композиционным и функциональным ядром
концертного зала. Оно состоит из двух функциональных зон: зрительного зала и
игровой площадки, предназначенной для выступлений. Этот
архитектурно-пространственный комплекс - наиболее ответственная, технологически
оснащенная и дорогостоящая часть здания.
4.1.2. В зрелищном пространстве происходит процесс демонстрации и восприятия
концертной программы, которые предъявляют к нему жесткие функциональные
требования.
4.1.3. К числу наиболее важных функциональных требований к зрелищному
пространству относятся:
·
сценографические;
·
акустические;
·
зрительного
восприятия.
4.1.4. Вне зависимости от общего композиционного решения зрительный зал и
игровая площадка - это единый функциональный комплекс, который может
представлять собою либо единое пространство (эстрада в зале), либо может быть
визуально разделен на два смежных взаимопроникающих пространства (сцена и зал).
Также возможны промежуточные варианты (сцена-эстрада).
Сцена - это сценическое
пространство, допускающее проведение театрализованных концертных представлений с быстрой сменой
попланных подвесных декораций в нетрансформируемом виде;
Сцена-эстрада - это сценическое
пространство, допускающее быструю смену попланных подвесных декораций в
трансформируемом виде;
Эстрада - это сценическое
пространство для концертов, не допускающее быстрой смены попланных подвесных
декораций.
Эстрады делятся на два типа:
А - эстрада без занавесов;
Б - эстрада с занавесом в
первом (антрактные занавесы) и последнем (задники) планах.
4.1.5. Рекомендуемые демонстрационные площадки для разных видов концертов, а
также функциональные зоны и помещения игрового пространства с учетом их
сценографической функции приведены в таблице 4.1.1.
Таблица 4.1.1.
Рекомендуемые игровые площадки и сопутствующие им помещения
|
Типы
концертов
|
Комплекс демонстрационной площадки
|
Функциональные зоны и помещения
|
Комплекс электротехнических помещений для:
|
|
Тип
|
Помещения накопления
|
Оперативный склад
|
Карманы
|
Вспом. игровая площадка
|
Трюм
|
Рирпроекционная
|
Склад одежды сцены
|
Фронтального освещения
|
Ложи бокового освещения
|
Свето- и кино проекционные
|
Регулирования света
|
|
Эстрада
|
Сцена-эстрада
|
Сцена
|
|
А
|
Б
|
|
Большие
филармонические
|
+
|
-
|
-
|
-
|
+
|
+
|
-
|
-
|
-
|
-
|
-
|
+
|
+
|
+
|
+
|
|
Камерные
|
+
|
-
|
-
|
-
|
+
|
+
|
-
|
-
|
-
|
-
|
-
|
+
|
+
|
+
|
+
|
|
Эстрадные,
постановочные
|
-
|
-
|
+
|
+
-
|
+
|
+
|
+
|
+
|
+’
|
(*)
|
+
|
+
|
+
|
+
|
+
|
|
Эстрадные,
непостановочные
|
-
|
+
|
-
|
-
|
+
|
+
|
-
|
+
|
+’
|
,*)
|
-
|
+
|
+
|
+
|
+
|
|
Хореографические
|
-
|
+
|
-
|
-
|
+
|
+
|
-
|
+
|
|
()
|
(+)
|
+
|
+
|
+
|
+
|
|
Народных
ансамблей
|
-
|
+
|
-
|
-
|
+
|
+
|
-
|
-
|
-
|
(-)
|
(+)
|
+
|
+
|
+
|
+
|
|
Литературные
|
+
|
-
|
-
|
-
|
-
|
-
|
-
|
-
|
-
|
-
|
-
|
-
|
-
|
+
|
+
|
|
Сборные
|
-
|
+
|
-
|
-
|
+
|
+
|
+
|
+
|
+’
|
(+)
|
+
|
+
|
+
|
+
|
+
|
|
Примечание:
+ необходимо; (+) желательно; +’ необходимо при наличии
подъемно-выжимных площадок и транспортерных лент; - не рекомендуется.
|
4.2.
Сценография.
4.2.1. Сценография включает в себя приемы и средства постановки концертных
номеров и программ. Она предопределяет структуру и состав демонстрационного
пространства (наличие, помимо игровой площадки, оркестровой ямы, карманов и
т.п.). Сценографические требования являются определяющими в организации
зрелищного пространства т.е. в организации архитектурного пространства зала и
игровой площадки. Основа концертных программ (кроме симфонических) - быстрая,
ритмичная смена номеров.
4.2.2. К сценографическим приемам, наиболее распространенным и существенно
влияющим на архитектурные параметры площадки и зала относятся:
·
пространственное
разъединение игровой площадки на основную и вспомогательную зоны;
·
перенесение
действия в изобразительную среду мягких и жестких декораций;
·
быстрая
смена среды концертного зрелища;
·
иллюзорное
расширение игрового пространства;
·
приближение
действия к зрителю;
·
рисунок
и характер расположения исполнителей на игровой площадке.
4.2.3. Прием пространственного разъединения основной и вспомогательной частей
действия используется для акцентирования внимания зрителей на главном. Этот
прием характерен для хореографических номеров в сопровождении оркестра.
Пространственное разъединение основной и вспомогательной зон игровой площадки
достигается, как правило, за счет рельефа пола с помощью:
·
трансформируемых
подъемно-выжимных устройств, размещенных в разных местах планшета игровой
площадки;
·
стационарных
вспомогательных площадок в виде оркестровой ямы на первом плане и в виде
галерей, приподнятых относительно планшета основной игровой площадки и
расположенных по бокам (как в концертном зале имени Чайковского), или сзади её
(как в цирке). Последняя должна иметь ступенчатый пол и телевизионный экран для
дирижера.
4.2.4. Основным средством создания изобразительной среды в концертном зрелище
являются мягкие и жесткие декорации, мелкая бутафория, мебель и рельеф пола, а
также костюмы и освещение (цветное и белое).
4.2.5. Мягкими декорациями являются:
·
живописные
декорации (расписанные анилиновыми красками и бамперы, на которые изображение
наносится компьютерным способом);
·
тюлевые
завесы;
·
картинные
занавесы (в том числе и антрактные, которые в настоящее время иногда заменяются
световыми);
·
экраны
для видео и светопроекции;
·
телеэкраны
(синхронное изображение исполнителя крупным планом).
4.2.6. Мягкие декорации в большинстве концертных программ размещают на заднем
плане игровой площадки, на переднем - основной (антрактный) занавес или
суперзанавес и тюлевую завесу. При необходимости используются несколько планов
(план 2 - 3 метра).
4.2.7. Жесткие подвесные декорации предусматриваются в виде горизонтальных и
вертикальных подвижных жалюзи. Жесткие не подвесные декорации используются в
виде ширм и стенок, а также отдельных плоских элементов.
4.2.8. Телеэкраны, как правило, размещаются на заднем плане тропой площадки,
или на переднем - сбоку.
4.2.9. Бутафория применяется, как правило, в виде единичных небольших
изобразительных деталей, линейные размеры которых, в основном, не превышают
двух метров. Отдельные детали иногда имеют значительно большую высоту.
Рекомендуемое применение элементов декорационного оформления в программах
разных видов концертов приведено в таблице 4.2.1
Таблица
4.2.1
|
№
|
Виды концертов
|
Элементы декорационного оформления
|
|
Антрактный занавес
|
Попланные подвесные занавесы и декорации (мягкие и жесткие)
|
Задники экраны
|
Ширмы и мелкие плоские элементы
|
Мелкая бутафория и постановочная мебель
|
Рельеф пола
|
|
1
|
Большие филармонические
|
-
|
-
|
-
|
-
|
-
|
-
|
|
2
|
Камерные
|
-
|
-
|
-
|
-
|
-
|
-
|
|
3
|
Эстрадные
|
+
|
(+)
|
+
|
+
|
+
|
(+)
|
|
4
|
Хореографические
|
+
|
-
|
+
|
-
|
-
|
-
|
|
5
|
Народных ансамблей
|
-
|
-
|
+
|
(+)
|
(+)
|
-
|
|
6
|
Литературные
|
-
|
-
|
-
|
+
|
+
|
-
|
|
7
|
Сборные
|
+
|
-
|
+
|
+
|
(+)
|
-
|
|
Примечание: + частого использования; (+)
редкого использования; - не используются
|
4.2.10. Для светового оформления
концертных номеров применяют как общее, так и постановочное освещение. В
эстрадных программах для световых эффектов используют не только
демонстрационную площадку, но и зрительный зал, объединяя его с
демонстрационной площадкой в единое зрелищное пространство.
4.2.11. В филармонических концертных залах требуется, чтобы зрители хорошо
видели исполнителей и имели возможность следить за партитурой, а исполнители -
без напряжения читать ноты. Для этого требуется общее равномерное освещение
демонстрационного пространства и зала. При этом уровень освещенности
демонстрационной площадки выше уровня освещенности зрительного зала. Кроме
того, используются скрытые подсветы пюпитров. При необходимости в
специализированных филармонических залах предусматриваются прожекторы для
световых эффектов акцентирующего и следящего освещения исполнителей.
4.2.12. При проектировании концертных залов необходимо предусматривать
возможность изменения изобразительной среды от концерта к концерту, от номера к
номеру и в рамках одного номера. Характер изменения изобразительной среды
определяет способы смены декоративных элементов и регулирования света. В
процессе концерта жесткие подвесные декорации в виде подвижных жалюзи, как
правило, смены не требуют, вертикальные длинномерные бутафории и жесткие
элементы заднего плана при необходимости закрываются попланными декорациями или
задниками.
4.2.13. Основным требованием при проектировании игровой площадки является
создание удобства для подвески жестких декораций и бутафории. Для этой цели
предусматриваются декорационные и индивидуальные подъемы с элементами
оборудования, расположенными за пределами игровой зоны в колосниковом
пространстве, высотой не менее 2,2 метров.
4.2.14. Декорационные подъемы также используются для подвески мягких
декораций. Быструю смену мягких декораций в процессе действия можно производить
путем их перемещения в любом направлении как в нетрансформируемом (Рис. 4.2.1.А), так и в трансформируемом
виде (Рис. 4.2.1.Б). Распространенными решениями, допускающими быструю смену мягких
декораций, являются раздвижные (Рис. 4.2.2) и распашные (Рис. 4.2.3) занавесы, подъемные
занавесы (в не трансформируемом виде и складные пополам), одноприводные и
многоприводные занавесы типа французских штор (Рис. 4.2.4), а также занавесы,
наматываемые на барабан (Рис. 4.2.5). Исключение составляет тюлевые
завесы, которые не раздвигают, в силу особенностей материала.

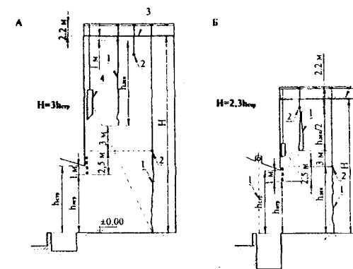
Рис. 4.2.1. Размещение элементов верхней механизации.
А - сцены с
нетрансформируемыми мягкими декорациями;
Б - сцены -
эстрады со складываемыми мягкими декорациями;
|
1 - занавес;
|
Н = высота
сценической коробки до колосников;
|
|
2 -
декорационные подъемы
|
hстр = высота
строительного портала;
|
|
3 -
колосники;
|
hигр = высота
игрового портала;
|
|
4 -
софиты.
|
hдек = высота
декорации.
|

Рис. 4.2.2. Устройство раздвижного занавеса.
А - стационарный;
Б - подъемно-опускной;
1 - занавес;
2 - блок подъемно-выжимного
устройства.

Рис.
4.2.3.
Устройство распашного занавеса.

Рис.
4.2.4.
Устройство многоприводного занавеса.
1 - занавес;
2 - блок
подъемно-выжимного устройства;
3 - лебедка;
4 - направляющий канат;
5 - портал.

Рис.
4.2.5.
Устройство занавеса, наматываемого на барабан.
1 -
занавес;
2 - барабан;
3 - ось дороги.
4.2.16. Для размещения мягких декораций (завесов) и механизмов их перемещения,
а также для обслуживания элементов механического оборудования необходима
соответствующая зона обслуживания. Её величина и местоположение зависят от
количества декораций и размещения их по глубине игровой площадки, размеров
игрового пространства и вида занавесов.
4.2.17. Мелкие бутафории, мебель, элементы жестких декораций (ширмы и т.п.)
меняемые от номера к номеру, требуют помещения оперативного складирования,
размещенного в непосредственной близости от игровой зоны. Оно должно быть
рассчитано также и на складирование функционального оборудования для исполнителей
(стульев, пюпитров, станков для хора) и крупных музыкальных инструментов
(рояль, клавесин и т.п.).
4.2.18. При наличии нижней механизации для перемещения сменных элементов
оперативные склады следует располагать вблизи данных механизмов: при
использовании для этой цели фур транспортных лент - рядом с карманами, а при
использовании подъемно-выжимных площадок - в уровне трюма.
4.2.19. Для временного хранения декорационных элементов и концертного багажа
коллективов, а также тары (кофров) для перевозки этого багажа следует
предусматривать вблизи демонстрационного пространства специальное помещение.
Его размещение должно обеспечить удобную подачу багажа в оперативный склад и к
месту погрузки на транспорт.
4.2.20. Для «одежды» игровой площадки (мягких кулис, падуг и т.п.) необходимо
предусматривать места её хранения, - театральный сейф для скатанных декораций
или обычное помещение, связанное с игровой площадкой, для хранения декораций в
свернутом виде. При этом следует предусмотреть возможность транспортировки тяжелых
и объемистых декораций. Величина сейфа или помещения зависит от размеров
игровой площадки, насыщенности «одеждой» и запасом сменного фонда и составляет
ориентировочно 40 кубических метров.
4.2.21. Комплекс помещений постановочного освещения следует проектировать по
нормам проектирования театров. Расположение рампы на борту оркестровой ямы не желательно, так как исполнители не видят края игровой
площадки.
4.2.22. При проектировании игровых площадок рекомендуются следующие
сценографические приемы и средства:
·
для
накопления к моменту выхода в игровую зону большого числа исполнителей следует
предусматривать одно или несколько помещений, непосредственно примыкающих к
игровой площадке или сценической зоне (закулисной части) и скрытых от взоров
зрителей;
·
следует
предусматривать возможность изменения местоположения выхода исполнителей в
игровую зону (для народных ансамблей предусматриваются боковые выходы первого и
второго планов);
·
для
хореографических концертов рекомендуется предусматривать, кроме боковых, выход
по оси игровой площадки; для эстрадных и сборных концертов - боковые выходы
всех планов, а также выходы с игровой площадки в зрительный зал
(преимущественно по центральной оси); для камерных и литературных концертов -
один выход на игровую площадку и выход в зрительный зал; для больших
филармонических концертов - не менее двух боковых выходов на игровую площадку
(желательно на первом плане) и дополнительный выход по центральной оси.
4.2.23. Для хореографических концертов зону накопления артистов следует проектировать
в виде единого пространства, учитывая необходимость подключения её к игровой
площадке (вереница исполнителей в процессе танца временно исчезает в закулисной
части, затем опять появляется на игровой площадке с другого выхода, перетекая
как ручеек), а также использования для быстрого переодевания артистов балета к
новому номеру.
4.2.24. Сценографическими решениями определяются размеры проемов для выхода
артистов и подачи постановочных элементов на игровую площадку. Для выхода
артистов в эстрадных, хореографических, сборных концертах требуется ширина не
менее двух метров (три танцора в ряд), а высота не менее четырех (двойной рост
человека с поднятой рукой). Остальные виды концертов особых требований к
размерам этих проемов не предъявляют.
4.2.25. Размеры проемов в оперативные склады лимитируются габаритами
сценического оборудования для исполнителей, размером музыкальных инструментов и
постановочных элементов. Эстрадные концерты требуют проема размером 2×4 (h) метра для движения фуры с постановочным оборудованием 3-х метровой
высоты. Ширина проема 2×2 (h) метра для филармонических
концертов диктуется размером меньшей стороны рояля (1,65 метров). Высота 2
метра допускает свободное транспортирование любого крупногабаритного
музыкального инструмента и оборудования для исполнителей.
4.2.26. Для обеспечения визуальной и акустической связей между основной и
вспомогательной площадками необходимо:
·
заглубление
оркестровой ямы следует выдерживать в пределах 1,8 - 2, 2 метров;
·
не
превышать расстояние между боковыми галереями 22 метра;
·
иметь
ступенчатый пол вспомогательных оркестровых площадок, расположенных на заднем
плане демонстрационного пространства, и телевизионный экран для дирижера.
4.2.27. Для устройства мизансцен концертных программ необходимо предусматривать
фуры или возможность трансформации планшета основной игровой площадки. Для
этого попланные подъемно-выжимные устройства рекомендуется предусматривать
секционными с размером секций 1,5´1,5 метра. Устройство вспомогательных площадок для мизансцен требует
дополнительных помещений для фур - карманов на уровне основной площадки, для
трансформации планшета - трюма. Площадь трюма определяется площадью
трансформируемой площадки, а высота зависит от конструктивного решения. Игровые
площадки для мизансцен используются также для оркестров в эстрадных,
хореографических и сборных концертах.
4.3.
Размещение исполнителей
4.3.1. Основная игровая площадка
4.3.1.1. Характер концертных действий может быть статичным (исполнители не
перемещаются во время действия), динамичным (исполнители активно перемещаются
во время действия) и смешанным. Для статичных действий размеры игровых площадок
зависят от состава, параметров зоны одного исполнителя и числа исполнителей
каждой группы, а также от распространенных схем их расположения на
демонстрационной площадке. Определяющими для параметров игровых площадок
статичных действий являются крупные коллективы (оркестры, хоры,
инструментально-вокальные ансамбли). Данные для расчета параметров площадок
таких коллективов приведены на рис 4.3.1. и 4.3.2. и в таблице 4.3.1.

Рис.
4.3.1.
Классическая схема размещения симфонического оркестра.
1 - первые скрипки; 2 - вторые
скрипки; 3 - альты; 4 - виолончели; 5 - контрабасы; 6 - английский рожок; 7 -
флейты; 8 - гобои; 9 - кларнеты; 10 - валторны; 11 - тромбоны, 12 - трубы; 13 -
туба; 14 - литавры; 15 - ударные; 16 - челеста; 17 - арфы; 18 - рояль; 19 -
фаготы.

Рис.
4.3.2. Схемы
размещения партий хора:
А - смешанный; Б - мужской хор; В -
женский и детский хоры; А-I и А-II - альты; Т-I и Т-II - теноры; С-I и С-II - сопрано; В-I и В-II -
басы; D-I и D-II - баритоны.
Таблица 4.3.1
Рекомендуемые площадки для различных групп исполнителей
|
№
|
Группы инструментов и хора
|
Инструмент, исполнитель
|
Площадь необходимой площадки, м2
|
|
минимум
|
максимум
|
|
1
|
|
Дирижер
|
1,1
|
1,5
|
|
2
|
Смычковые
|
Скрипка
|
0,65
|
1,2
|
|
3
|
|
Альт
|
0,65
|
1,2
|
|
4
|
|
Виолончель
|
1,15
|
1,45
|
|
5
|
|
Контрабас
|
1,4
|
2,1
|
|
6
|
Деревянные духовые
|
Флейта
|
0,95
|
1,2
|
|
7
|
|
Гобой
|
0,65
|
1,0
|
|
8
|
|
Кларнет
|
0,65
|
1,0
|
|
9
|
|
Фагот
|
0,8
|
1,0
|
|
10
|
Медные духовые
|
Саксофон
|
0,8
|
1,0
|
|
11
|
|
Валторна
|
0,8
|
1,0
|
|
12
|
|
Труба
|
0,65
|
1,0
|
|
13
|
|
Тромбон
|
1,1
|
1,6
|
|
14
|
|
Туба
|
0,8
|
1,2
|
|
15
|
|
Альт
|
0,65
|
1,0
|
|
16
|
|
Тенор
|
0,65
|
1,0
|
|
17
|
|
Баритон
|
0,65
|
1,0
|
|
18
|
|
Бас-труба
|
0,95
|
1,2
|
|
19
|
Ударные
|
Малый барабан
|
0,95
|
1,5
|
|
20
|
|
Большой барабан
|
1,9
|
2,66
|
|
21
|
|
Литавры
|
4,5
|
6,0
|
|
22
|
Украшающие
|
Арфа
|
0,95
|
1,3
|
|
23
|
|
Рояль
|
3,35
|
5,6
|
|
24
|
|
Пианино
|
1,7
|
2,1
|
|
25
|
|
Клавесин
|
-
|
3,7
|
|
26
|
|
Челеста
|
-
|
1,1
|
|
27
|
|
Ксилофон
|
1,45
|
2,2
|
|
28
|
|
Аккордеон
|
1,05
|
1,44
|
|
29
|
Щипковые
|
Мандолина
|
0,85
|
1,2
|
|
30
|
|
Домбра
|
0,85
|
1,2
|
|
31
|
|
Балалайка
|
0,85
|
1,2
|
|
32
|
|
Бас-балалайка
|
1,2
|
1,7
|
|
33
|
|
Гусли
|
-
|
2,3
|
|
34
|
Хор
|
Хорист
|
0,18
|
0,24
|
4.3.1.2. Параметры игровых площадок
для динамичных действий определяются заданием на проектирование исходя из того,
что формирующим жанром динамичных действий являются танцы. Величина зоны
танцевального действия зависит, в основном, от композиционной структуры танца
(применяемых балетных фигур и ходов, траекторий движения и группировки
исполнителей). Эмпирически определены оптимальные габариты игровых площадок для
динамичных действий колеблются в диапазоне 19×14,5 метров. Необходимые
величины зон действий ганцев приведены в табл. 4.3.2. и на рис. 4.3.5.
Таблица
4.3.2
|
№
|
Типы танцев
|
Параметры зон действия танцев, м
|
|
ширина
|
глубина
|
|
1
|
Народные и характерные
|
19
|
14,5
|
|
2
|
Классические
|
18
|
13,5
|
4.3.1.3. В целях безопасности
габариты игровых площадок для динамичных действий при использовании жестких
декораций необходимо увеличивать на эмпирическую величину 1,3 м (в сторону этих
декораций), при применении мягких декораций этого увеличения не требуется. От
габаритов игровой площадки для динамичных действий до наружной кромки
демонстрационной площадки следует предусматривать зоны безопасности глубиной не
менее 1,2 метра.
4.3.1.4. Размеры зоны действия танцев и смешанных действий в программах
народных ансамблей составляют: ширина 16 метров, глубина 7 метров. Высота зоны
действия должна быть не менее 5 метров (двойной рост человека с поднятой рукой
плюс свободное пространство).
4.3.1.5. Параметры игровых площадок для смешанных действий концертов народных
ансамблей рассчитываются по схеме, приведенной на рис. 4.3.5. Высота здесь
предопределяется хореографическим исполнением и составляет 5 - 6 метров.
4.3.1.6. Игровые площадки эстрадных программ наибольших размеров требуется для
отдельных цирковых номеров и номеров мюзик-холла (32 исполнительницы в ряд).
Для первых необходима большая высота 7,5 метра, для вторых - ширина 14 - 16
метров (при свободной расстановке исполнительниц по 0,5 метра на человека и 0,4
при тесной) и глубина 12 - 15 метров.
4.3.1.7. Для статичных и динамичных действий эстрадных программ размеры игровой
площадки с мягкими ограждениями размером 14×12×7 метров допускает
все выступления этого вида.
4.3.1.8. Рекомендуемые размеры игровых площадок для конкретных видов концертов
приведены в таблице 4.3.3.
Таблица
4.3.3.
|
№
|
Виды концертов
|
Характеристики основной игровой площадки, м2
|
|
Минимальная ширина
|
Минимальная глубина
|
Высота
|
|
1
|
Большие филармонические
|
19
|
12,5
|
10
|
|
2
|
Камерные
|
11,5
|
5,5
|
6 - 8
|
|
3
|
Литературные
|
4,5
|
2,5
|
7,5
|
|
4
|
Хореографические
|
19,5
(17)
|
5,5
(14)
|
6
|
|
5
|
Народных ансамблей
|
16,5
(14)
|
14 (14)
|
6
|
|
6
|
Эстрадные, постановочные и не постановочные
|
14
|
12
|
7
|
|
7
|
Сборные
|
19,5
(19)
|
15,5
(14)
|
7 - 10
|
|
Примечание:
1. Размеры игровых площадок обеспечивают все
концертные программы.
2. В
скобках даны размеры игровых площадок при использовании мягких декораций.
|
4.3.1.9. Приведенные в табл. 4.3.3. показатели при
необходимости могут корректироваться заданием на проектирование.
4.3.1.10. Для универсальных концертных залов (предназначенных для демонстрации
программ 2-х и более видов концертов) размеры игровых площадок принимаются по
табл. 4.3.3. и рис. по наибольшим показателям совмещаемых видов концертов. По
требованиям акустики ширина игровой площадки универсальных залов для всех
совмещаемых видов концертов не должна превышать 22 м;
4.3.1.11. Для камерных концертных залов размеры игровых площадок принимаются по
рис. 4.3.4.

Рис.
4.3.3.
Размеры игровых площадок в зависимости от различной доли номеров данного
концерта в ежегодной концертной программе:
1 - духовые оркестры вне
категории; 2 - духовые оркестры I
категории; 3 - симфонические оркестры
вне категории; 4 - симфонические оркестры I категории; 5 - то же, II категории; 6 - оркестры народных инструментов
вне категории и I
категории; 7 - то же, II
категории; 8 - хор вне категории; 9 - хор I категории; 10 - то же, II категории. Совместное выступление хора с
оркестром конкретного типа и категории указаны дробью.

Рис. 4.3.4. Размеры игровых площадок для камерных концертов:
1 - камерные оркестры вне категории;
2 - то же II категории;
3 - ансамбль скрипачей вне категории.

Рис.
4.3.5.
Расчетная схема игровой площадки для динамических действий.
1 - суммарный контур зон
действия;
2 - зона свободного пространства;
3 - Контуры игровой площадки;
X - ширина игровой площадки; V - глубина игровой площадки;
х - ширина суммарного контура зон действий; у - глубина суммарного
контура зон действий; а - глубина свободного пространства впереди зоны
действия; б - то же, сзади зоны действия; в - ширина свободного
пространства справа и слева от зоны действия.
4.3.2.
Вспомогательная игровая площадка для оркестра.
4.3.2.1. Вспомогательные игровые площадки для музыкального сопровождения
предусматриваются, как правило, для хореографических, эстрадных и смешанных
концертных программ с учетом примерной схемы рассадки оркестра приведенной на
рисунке 4.3.1., из расчета площади на одного музыканта - 1,2 м2.
4.3.2.2. Численность и состав оркестра музыкального сопровождения определяется
заданием на проектирование. Рекомендуемая численность эстрадных (смешанных)
коллективов - 28 человек, хореографических - 16 человек.
4.3.2.3. Глубина вспомогательной игровой площадки не менее 3 метров.
4.3.2.4. Требования к габаритам вспомогательной площадки в виде оркестровой ямы
приведены в МГСН 4.17-98.
4.3.3.
Зона накопления артистов.
4.3.3.1. Зона накопления предназначена для:
·
расположения
участников в определенном порядке (построению в ряд, попарно или по одному);
·
принятия
той или иной позы;
·
разбега
некоторых исполнителей при динамическом выходе на сцену;
·
быстрого
переодевания актеров;
·
оперативного
хранения фур и бутафории.
4.3.3.2. Площадь зоны накопления определяется из расчета 0,3 м2 на
хориста или музыканта; 1,4 м2 на одного танцора. Расчетное число
исполнителей, находящихся одновременно в зоне накопления, и минимальная площадь
зоны по типам концертов приведены в таблице 4.3.4.
Таблица
4.3.4.
|
№
|
Тип концерта
|
Состав исполнителей
|
Число исполнителей, чел.
|
Минимальная площадь зоны накопления артистов, м2
|
|
1
|
Большие филармонические
|
Хористы и оркестранты
|
140
|
40
|
|
2
|
Хореографические
|
Танцоры
|
48 (по
24 ´ 2
танца)
|
70
|
|
3
|
Народных ансамблей
|
3.1. Хористы и оркестранты 3.2. Танцоры
|
58
22
|
30
|
|
4
|
Эстрадные
|
Танцоры
Солисты
|
32
|
70
|
|
5
|
Смешанные
|
Состав, требующий максимальной площади
|
58
|
70
|
4.3.3.3. Высота зоны накопления
артистов для хореографических, эстрадных, смешанных концертов и выступлений
народных ансамблей должна быть не менее 4-х метров.
4.4.1. Концертное зрелище - процесс двусторонний, объединяющий исполнение и
восприятие. Процесс объединения выступающих и зрителей осуществляется в
следующих формах:
·
выхода
артистов в зал, прохода через зал;
·
исполнения
номера на ступеньках эстрады и/или в проходах;
·
вовлечения
в исполнение номера (хоровое пение, диалоги) зрителей;
·
использования
«подсадных» актеров;
·
использования
свето и цвето музыки;
·
применения
световых эффектов.
4.4.2. Все эти приемы требуют от проектировщика умения запроектировать
хорошую связь зрительских мест и игровой площадки. Подробнее о поисках новых
форм приближения действия к зрителю см. приложение 6.
Интегральным показателем,
влияющим на качество зрительного зала, является акустическое благоустройство,
т.е. совокупность заложенных в проектное решение мер, конструктивных решений,
параметров, приводящих к необходимым комфортным характеристикам концертного
действия. Акустического благоустройства нельзя добиться без тщательной
совместной работы акустика и архитектора на всех стадиях работы над проектом.
Совместное проектирование поможет избежать многих ошибок, приводящих к
акустическим дефектам, исправление которых либо потребует больших
дополнительных затрат, либо окажется совсем невозможным1.
1 Так, доводка концертного зала после
строительства является обычным делом (Московский Международный Дом Музыки, Дом
радиовещания в Копенгагене и другие).
Все современные залы по
акустическому благоустройству делятся на три группы.
·
Залы
с естественной акустикой. В них зрители слушают звучание голоса или инструмента
непосредственно, а качество звучания зависит только от акустических свойств
помещения. Вместимость таких залов должна быть не более 3000 человек;
·
Залы
со смешанной акустикой. В них совмещены непосредственное звучание и звучание
при помощи системы звукоусиления. Вместимость таких залов может достигать 4500
чел.;
·
Залы
с искусственной акустикой. Здесь звучание обеспечивается только при помощи
звуковоспроизводящей аппаратуры. Вместимость таких залов не ограничена и может
достигать 10 - 15 тыс. чел. (Московский Дворец Спорта).
Для концертов наиболее
приемлемы залы 1-й группы, так как большая часть музыкальных программ
значительно лучше звучит в условиях естественной акустики, лишь некоторые
номера эстрадных концертов заранее рассчитаны на звукоусиление. Поэтому
эстрадные многожанровые концертные залы оборудуют системой звукоусиления. К
акустическим свойствам таких залов предъявляются в принципе те же требования,
что и к залам с естественной акустикой. Решение системы звукоусиления в залах
3-й группы также зависит от их архитектурного решения, и может быть затруднено
при плохих акустических свойствах этих помещений.
Следует учитывать, что
акустические качества помещений, предназначенных для передачи речи и помещений,
предназначенных для передачи музыки, различны. Объективной оценкой речевого
помещения является разборчивость, которая может быть выражена процентной
артикуляцией. Оценка качества музыкальных помещений не является чисто
физической проблемой, так как связана с индивидуальными эстетическими
требованиями слушателей. Здесь многое зависит от музыкального вкуса и
расположения слушателей, качества исполнения, привычки к определенному помещению.
Так для музыкантов существуют такие субъективные характеристики зала, как
«тяжесть» или «легкость» звучания оркестра.
Однако существуют общие
требования к акустике концертных залов и к архитектурно-строительным
характеристикам, от которых зависит акустическое благоустройство.
Хорошим акустическим
качеством характеризуются помещения, где выполнены следующие основные
требования:
·
все
места слушателей обеспечены прямой звуковой энергией, а также энергией ранних
отражений;
·
в
помещении создано диффузное звуковое поле, исключающее возникновение эха,
концентрацию звука и другие нежелательные явления;
·
время
реверберации зала, заполненного слушателями, соответствует величине и
назначению помещения;
·
посторонние
шумы сведены к минимуму.
Нужного соотношения в распределении
прямой и отраженной звуковой энергии, а также создания диффузного звукового
поля, исключающего нежелательные явления, добиваются в зале путем:
·
правильного
выбора объема зала и его вместимости;
·
взаимного
размещения мест для слушателей и игровой площадки;
·
формы
зала в плане и разрезе;
·
размеров,
профиля и местоположения отражающих поверхностей и отдельных архитектурных
элементов;
·
характера
и количества звукопоглощающего материала и его размещения.

Рис.
4.5.1.
Кривая рекомендуемого объема зала на одного слушателя
4.5.1.
Обеспеченность слушательских мест достаточной звуковой энергией
4.5.1.1. Интенсивность звука в зале резко падает с удалением от источника
(исполнителя) вследствие распространения звуковой энергии по объему помещения,
значительного звукопоглощения слушателями и звукопоглощения ограждающими
поверхностями и архитектурными элементами.
4.5.1.2. Для залов с естественным звучанием (без звукоусиления) мощность
звучащих источников (человеческий голос, музыкальный инструмент) является
ограниченной. Поэтому существуют пределы удаленности слушателей от
демонстрационной площадки, ограничения объема помещения и численности
слушателей.
4.5.1.3. В залах для литературных концертов максимальная удаленность слушателей
от демонстрационной площадки (эстрады) не должна превышать 27 м. В камерных
залах эта величина может быть равна 30 м, а в больших филармонических залах -
не должна превышать 45 м. Вместимость залов следует выдерживать в пределах,
указанных в табл. 4.5.1.
Таблица
4.5.1
|
№
|
Виды концертов
|
Вместимость зала, мест
|
|
1
|
Большие филармонические
|
500 -
2500
|
|
2
|
Камерные
|
100 -
200
|
|
3
|
Эстрадные (эстрадные оркестры)
|
500 -
6000
|
|
4
|
Народных ансамблей
|
300 -
3000
|
|
5
|
Литературные
|
200 -
600
|
4.5.1.4. Кубатуру на 1 место для
слушателя (включая объем эстрады) следует принимать в зависимости от
вместимости по расчетной кривой, приведенной на рис. 4.5.1. Для удовлетворения
рассматриваемого требования необходимо также правильно запроектировать зону
демонстрационной площадки и размещение слушательских мест.
4.5.1.5. В концертных программах оркестров и хоров для хорошего слитного
звучания и избежания эха (для исполнителей и для слушателей первых рядов)
оркестр должен быть размещен на площади шириной не более 22 м, хор - не более
46 м. (рис. 4.5.2.).

Рис.
4.5.2.
Максимальные размеры зон размещения оркестра и хора по требованиям акустики.
4.5.1.6. Ширину эстрады, предназначенной
для выступления хора и оркестра, следует принимать по более жестким требованиям
для оркестра - 22 м.
4.5.1.7. Для комфортного восприятия оркестра, расположенного на эстраде,
рекомендуется удалять слушателей от оркестра не менее чем на 6,5 м.
4.5.1.8. При расположении слушателей вокруг игровой площадки наиболее
акустически комфортная зона - перед оркестром, менее - с боков и наименее -
сзади, в связи с чем места слушателей, сидящих сзади оркестра (хора), как
правило, приподнимают над уровнем игровой площадки. Чтобы довести до слушателей
как можно больше прямой звуковой энергии, не следует допускать преград
(конструкций, оборудования, реквизита и т.п.) на пути распространения звуковой
энергии от источника к слушателю. С этой же целью предусматривается подъем
планшета сцены по отношению к полу зрительного зала и уклон пола зоны
слушательских мест, а также попланный подъем исполнителей на игровой площадке.
Такое решение уменьшает поглощение прямого звука впереди сидящими слушателями и
его экранирование.
4.5.1.9. Практика показывает, что превышение рядов, обеспечивающее хорошую
видимость, как правило, является достаточным и для обеспечения хорошей акустики
зала.
4.5.2.
Первые звуковые отражения
4.5.2.1. К слушателям в зале поступает прямой звук непосредственно от источника
и ряд звуковых отражений от ограждающих поверхностей зала.
4.5.2.2. Первые звуковые отражения (однократно отраженные от поверхностей зала
на пути от источника к слушателям) имеют достаточную интенсивность и усиливают
прямой звук от источника, улучшая слышимость и разборчивость. При этом
полезными являются отражения, время запаздывания которых по отношению к прямому
звуку не превышает для музыкальных залов - 30 мс. (10 мс.), для речевых - 20
мс. Схема хода прямого звука от источника и первых отражений приведена на рис. 4.5.3.

Рис.
4.5.3.
Графическое построение отражения звуковых лучей:
И - источник звука;
С - слушатель;
N - нормаль к отражающей поверхности;
a1 - угол падения;
a2 - угол отражения.
4.5.2.3. При расчетах времени
запаздывания отраженного звука высота источника над полом эстрады принимается
равной 1,5 м (уровень рта исполнителя), а высота точки приема над полом - 1,2 м
(уровень уха сидящего слушателя).
4.5.2.4. Для получения первых полезных отражений вблизи игровой площадки
предусматривают звукоотражающие конструкции массой не менее 50 кг/м2
из материалов, хорошо отражающих звук.
4.5.2.5. Передняя часть потолка зала, как правило, выполняется в виде
наклонного или выпуклого отражателя или подвешивается специальный отражатель,
как правило, в залах с высокими потолками, от которых первые отражения придут к
слушателям со временем запаздывания больше допустимого.
4.5.2.6. Приемом, способствующим улучшению акустического благоустройства зала,
является уменьшение размеров потолка и обрамляющих стен игровой площадки.
4.5.2.7. Высоту потолка зала или подвески отражателя определяют либо
графическим построением отраженных лучей (рис. 4.5.3), либо путем моделирования.
Как правило, необходимая высота не превышает 10 м. В современной
практике проектирования потолок часто выполняют в виде расчлененных секций, при
правильном выборе очертаний дающих хорошее рассеяние отраженного звука,
перекрывающего отражения от соседних секций (рис. 4.5.4). Секции, показанные на рис.
4.5.4, Б, неудовлетворительны, так как отражения от смежных секций не
перекрывают друг друга. Эти же соображения учитываются при проектировании формы
потолка (раковины) игровой площадки, так как исполнителям и дирижеру необходимо
слышать одновременно сбалансированное звучание всех инструментов.

Рис.
4.5.4. Форма
поверхности потолка:
А - акустически благоприятная;
Б - акустически неблагоприятная;
I - зона слушательских мест, лишенная полезных
отражений.
4.5.2.8. При выборе очертания
боковых отражающих поверхностей в плане также следует руководствоваться
приведенными выше требованиями (пп. 4.5.2.5. и 4.5.2.7.). Рабочая высота боковых
отражающих поверхностей - до 4 м от уровня пола. При большой ширине зала и
плоских параллельных боковых стенах отражения от их передней части у игровой
площадки приходят к первым рядам слушателей, как правило, с запозданием более
допустимого.
4.5.2.9. Ширина зала у игровой площадки рекомендуется: в лекционных залах до 15
м, в залах для литературных концертов до 20 м, в больших филармонических залах
до 22 м.
4.5.2.10. В многоцелевых залах возникает необходимость в создании системы
изменяемой акустики. Эффективно устройство съемных звукопоглощающих покрытий на
боковых и задних стенах зала.
4.5.3.
Распределение отраженного звука по поверхности слушательских мест
4.5.3.1. Необходимость распределения первых полезных - отражений звука в зале
исключает применение в нем вогнутых поверхностей, концентрирующих отраженный
звук. При запаздывании отраженного звука на 50 мс и более в зале возникает эхо.
При этом следует учитывать, что неравномерность звукового поля перемещается по
залу вместе с перемещением источника звука на игровой площадке.
4.5.3.2. Не рекомендуется проектировать зал в плане круглой, овальной или
подобной формы с вогнутыми поверхностями стен и с куполами или сводами.
Во избежание концентрации звука радиус кривизны вогнутой задней стены зала R должен не менее чем в 2 раза превышать глубину зала (расстояние от
внутренней поверхности вогнутой стены до наружной кромки эстрады или красной
линии сцены), а радиус кривизны потолка R в большом зале должен быть,
по крайней мере, в 2 раза больше высоты помещения (рис. 4.5.5.).

Рис. 4.5.5 Отражение от вогнутых поверхностей.
А - от задней стенки; Б - от потолка;
1 - Недопустимое положение центра кривизны;
2 - Допустимое положение центра кривизны;
О - центр кривизны;
И - источник звука;
Ф - точка концентрации отраженных лучей;
R - радиус кривизны поверхности;
L - расстояние от источника звука до вогнутой
поверхности;
Н - высота помещения.
4.5.3.3. При боковых стенах (или
других поверхностях) зала параллельных и гладких появляется многократное
отражение звука и возникает так называемое «порхающее эхо». Избежать этого
можно небольшим отклонением стен от параллельности (3 - 5°) в плане и небольшим
наклоном их внутрь зала в разрезе.
4.5.3.4. В зале, как правило, не должно быть двух или более повторяющихся
размеров. Кубические или квадратные в плане помещения с точки зрения акустики
являются неудовлетворительными.
4.5.4.
Диффузное звуковое поле
4.5.4.1. Первые полезные звуковые отражения обеспечивают разборчивость речи и
ясность звучания музыки. Более поздние отражения при определенных условиях
дадут дополнительное качество звучания в зале: для речи - естественную
тембровую окраску, для музыки - полноту и живость.
4.5.4.2. Эти качества зал приобретает, если в нем создано диффузное звуковое
поле. Для этого необходимо, чтобы вся площадь слушательских мест была
равномерно покрыта поздними, рассеянными звуковыми отражениями, приходящими из
всех направлений.
4.5.4.3. Большие гладкие ограждающие поверхности зала не создают в нем
диффузного звукового поля. Оно достигается членением поверхностей зала и
введением таких элементов, как колонны, балконы, лоджии и т.п. Для получения
хорошего отражения или рассеяния звука необходимо, чтобы отражающие поверхности
имели линейные размеры не менее 1,5 длины волны падающего на них звука.
4.5.4.4. Размеры отражателей вблизи демонстрационной площадки должны быть по
ширине не менее 5 - 6 м с тем, чтобы при перемещении источника звука
(исполнителя) в игровой зоне обеспечивалось равномерное покрытие по площади
слушательских мест первыми направленными полезными отражениями. Для получения
рассеянных (диффузных) отражений расчлененные поверхности должны иметь ширину
1,5 - 2 м, глубину 0,5 - 1 м при шаге членения 2 - 4 м.
4.5.4.5. Дополнительные более мелкие членения крупных элементов обеспечивают
рассеяние в широком диапазоне звуковых частот. При этом наибольший эффект дают
элементы криволинейной выпуклой формы.
4.5.4.6. Рекомендуемые соотношения глубины, шага и ширины элементов членения
поверхности приведены на рис. 4.5.6.

Рис. 4.5.6. Размеры членений диффузно отражающей
поверхности:
А - область эффективного рассеивания
отраженного звука;
а - глубина элемента;
б - ширина элемента;
в - период членения;
f - частота, Гц.
4.5.4.7. Акустические условия для
балконов благоприятны, если отношение выноса А1 к средней высоте
подбалконного пространства h1, (рис. 4.5.7.) не более 1,5. Если над
балконом нет выше расположенного балкона, то отношение А2: h2
не более 2.

Рис.
4.5.7.
Целесообразные пропорции балконного пространства:
1 - пространство под балконом;
А1 ≤ 1,5 h1 (А -
глубина подбалконного пространства;
h1 - средняя высота подбалконного
пространства);
2 - пространство над верхним балконом;
А2 ≤ 2 h2 (А2
- глубина балкона,
h2 - средняя высота надбалконного пространства).
4.5.5.
Время реверберации
4.5.5.1. Достаточность диффузности звукового поля зала определяется гулкостью.
Количественно она оценивается временем реверберации зала, которое будет
различным для залов разного назначения и объема. Время реверберации - время, в
течение которого звуковая энергия после выключения источника падает до
1/1000000 своей первоначальной величины.
4.5.5.2. Зависимость времени реверберации от объема (для частоты 512 Гц)
показана на рис. 4.5.8. Чтобы время реверберации зала не зависело от степени заполнения его
слушателями, кресла в нем должны быть мягкими с обивкой, пропускающей воздух,
т.е. с большим звукопоглощением.

Рис.
4.5.8.
Зависимость оптимальных значений времени реверберации от объема помещения при
частоте 512 Гц:
1 - хоровая и органная музыка;
2 - легкая музыка;
3 - средние значения для музыки;
4 - средние значения для речи.
4.5.5.3. Время реверберации на
стадии рабочего проекта рассчитывается для частот 125, 500, 1000, 2000, 3000,
4000, 5000, 6000 и 8000 Гц. Для частот до 1000 гц включительно время
реверберации вычисляют по формуле Эйринга:
(1)
где Т - время реверберации, сек.;
- суммарная площадь внутренних
поверхностей, м2;
ln(1 - a)
- функция среднего коэффициента звукопоглощения;
V - объем зала, м3.
4.5.5.4. Для частот выше 1000 Гц начинает сказываться молекулярное поглощение
звука в воздушном объеме зала, и формула (1) изменяется:
(2)
где все значения те же, что и
в формуле (1), а коэффициент 4m учитывает
поглощение звука и воздухе и зависит от температуры и относительной влажности
воздуха.
4.5.5.5. При расчете времени реверберации заполнение зала слушателями рекомендуется
равным 75 %. При расчетном времени реверберации большем требуемого оптимального
значения во внутреннюю отделку зала рекомендуется ввести звукопоглощающие
материалы, которые следует располагать на поверхностях, не дающих первых
направленных полезных отражений. Обычно звукопоглотитель размещают в верхней
части боковых стен, иногда на задней стене и на части потолка, не дающей ранних
отражений. Более точно эти участки определяют специальными построениями с
использованием метода мнимых, источников. Для увеличения диффузности звукового
поля в зале и для более эффективного звукопоглощения звукопоглощающий материал
лучше размещать отдельными плоскостями размером 1 - 5 м. При этом не следует
закрывать ими поверхности пазух над и под балконом. Звукопоглощающие
конструкции должны соответствовать интерьеру зала и отвечать санитарным и
противопожарным требованиям.
4.5.6.
Звукоизоляция
4.5.6.1. Комфортные акустические условия в концертных залах определяются с
учетом его звукоизоляции, которую следует проектировать в соответствии с МГСН 2.04-97. Общий уровень посторонних шумов, проникающих в концертный зал не
должен превышать (в октавных полосах) значений, указанных в табл. 4.5.2
Таблица
4.5.2
|
№
|
Среднегеометрические частоты октавных полос, Гц
|
Уровень шума, Дб
|
|
1
|
63
|
63
|
|
2
|
125
|
52
|
|
3
|
250
|
45
|
|
4
|
500
|
39
|
|
5
|
1000
|
35
|
|
6
|
2000
|
32
|
|
7
|
4000
|
30
|
|
8
|
8000
|
28
|
|
Примечание. Допустимые уровни шумов,
вызванных установками вентиляции и кондиционирования воздуха, на 5 дБ ниже
указанных в таблице.
|
4.5.6.2. Следует избегать размещения
концертных зданий вблизи шумных предприятий и магистралей. При разработке архитектурно-планировочной
схемы здания следует использовать окружающие зал помещения для защиты его от
уличных шумов.
4.5.6.3. Помещения с сильными источниками шумов и вибраций (вентиляционные
камеры, насосные, шахты лифтов и их машинные помещения, трансформаторные и
т.п.) не должны примыкать к залу и другим помещениям, требующим тишины. В
помещениях с шумными установками, кроме их надлежащего расположения в здании,
следует предусматривать вибро- и звукоизоляцию установок, а также
предусматривать специальные устройства по глушению шумов.
4.6.1. Условия расположения зрителей.
4.6.1.1. На рис. 4.6.1. показаны зоны возможного расположения зрителей, имеющие три градации
качества: I - высоко комфортная видимость («5»), II - комфортная видимость («4»), III - допустимо комфортная
видимость («3»).

Рис. 4.6.1. Зоны расположения зрителей перед открытой в зал
эстрадой.
Пространство вне этих
объемных зон не комфортно для восприятия концертной программы. Параметры зон
комфортности определяются угловыми размерами, а также расчетной величиной D,
которая зависит от заданной вместимости зала. Взаимосвязь вместимости и
расчетной величины D была получена в эксперименте. Она составляет:
(3),
где N - исходная вместимость
зала.
4.6.1.2. Чем больше вместимость концертного зала, тем относительно больше
величина D, т.е. размер зон комфортности.
На рис. 4.6.2.
показана зависимость показателя D от вместимости зала N.
4.6.1.3. Если в зале предусмотрена эстрада с порталом, основные параметры зон
остаются теми же, но боковые ограничения зон в плане оказываются связаны с
глубиной эстрады согласно рис. 4.6.3.

Рис.
4.6.2.
Зависимость расчетного параметра D (м) от вместимости зала N (чел.).

Рис.
4.6.3. План
зон расположения зрителей перед портальной эстрадой.
4.6.2.
Условия загораживания.
4.6.2.1. Оптимальное превышение свободного луча зрения над головой зрителя в
предыдущем ряду - С = 0,14 м2, высота глаза сидящего человека - 1,2
м.
2 Превышение 0,14 м отвечает более 70 % случаев
взаиморасположения зрителей, (0,12 м отвечает лишь 50 % случаев).
4.6.2.2. Разное качество мест отвечает беспрепятственной (С = 0,14 м) видимости
следующих фокусных точек на эстраде (рис. 4.6.5.), где:
I - очень комфортная видимость (оценивается в «5» баллов);
II - комфортная видимость («4» балла);
III - допустимо комфортная видимость («3» балла).

Рис. 4.6.4 Фокусные точки разных зон
загораживания.
4.6.2.3. Если луч зрения, проходя над головой впереди сидящего зрителя с
превышением 0,14 м, оказывается выше зоны III, то видимость с данного
места некомфортна. Построение профиля зрительских мест рекомендуется вести по
отрезкам, предусматривая от 3-х до 5-ти прямых отрезков пола по длине зала
(рис. 4.6.6.).

Рис. 4.6.5. Превышение Сn луча зрения для отрезка
профиля пола.
4.6.2.4. Превышение Сn луча зрения из последнего ряда на отрезке
пола над головой зрителя первого ряда в этом отрезке определяется формулой:
(4)
где n - число рядов на отрезке пола (На рис. 4.6.5.
n = 6). Построение профиля по кривой равных превышений (графически от ряду к
ряду, или по формуле) обеспечивает наименьший подъем последнего ряда, но
разница с расчетом по прямым отрезкам невелика, а способ построения и расчета
несравненно проще. Проектировщик может быстро сопоставить разные варианты
профиля. Кроме того, таким способом можно предусматривать разное качество
загораживания для отдельных групп мест.
4.6.3.
Общее качество видимости в зале. Способы проектирования.
4.6.3.1. Проектирование расположения мест в зрительном зале рекомендуется
начинать с расчета параметра D по формуле 3, а затем построения чертежа плана и разреза зон расположения
зрительских мест в необходимом масштабе.
4.6.3.2. При определении структуры зала (балконы, амфитеатр и т.п.) необходимо
обеспечить общее качество видимости в зале. Общее качество видимости в зале
определяется как средне взвешенное качество разных групп мест (K).
(5),
где N - вместимость зала.
Пример: если в зале 800 мест
(М = 800) имеется 200 мест высокой комфортности (NI = 200), 350 комфортных мест
(NII = 350) и 250 мест допустимо комфортных (NIII = 250),
то общее качество зала по условиям видимости K равно:
то есть близко к «хорошему»
(«4»), но 800 меньше его.
4.6.3.3. Некомфортная видимость
допускается только для дополнительных мест эпизодического использования.
4.6.3.4. При проектировании конфигурации плана и разреза зала рекомендуется
опробовать несколько вариантов расположения мест, максимально используя в разрезе
и в плане «высоко комфортную» и «комфортную» зоны видимости. При этом каждый
необходимо соблюдать допустимое качество условий загораживания.
4.7.1. Помещения для обслуживания зрителей делятся на несколько функциональных
групп:
·
входная
группа помещений;
·
зрительный
зал;
·
рекреационные
помещения и фойе;
·
помещения
питания;
·
санитарные
узлы.
4.7.2. Входная группа помещений состоит из тамбуров, кассового и входного
вестибюлей, распределительного вестибюля с гардеробами и помещениями
обслуживания посетителей.
Тамбура в Москве, в целях
энергосбережения, рекомендуется проектировать двойными с тремя рядами дверей,
открывающихся наружу, и с тепловой завесой, что определяется заданием на
проектирование.
Кассовый и входной вестибюли
рекомендуется совмещать, если кассы находятся при главном входе. В некоторых
обоснованных случаях размещение кассового вестибюля возможно отдельно от
главного входа или даже отдельно от основного комплекса
концертного зала. Площадь помещения кассиров рекомендуется принимать из расчета
не менее 5 кв. м на одного кассира, а количество кабин кассиров следует
принимать из расчета одна кабина (кассир) на 500 мест в зале.
При кассовом или входном
вестибюлях следует предусматривать телефоны-автоматы из расчета не менее 2-х на
каждые 200 - 300 мест в зале, а также помещение дежурного администратора (8 -
10 кв. м.), непосредственно связанное с распределительным вестибюлем. В
концертных залах большой и средней вместимости рекомендуется предусматривать и
кабинет главного администратора (12 - 20 кв. м). Помещения администраторов
рекомендуется непосредственно связывать с распределительным вестибюлем. При
кассовом вестибюле, расположенном отдельно, рекомендуется помещение дежурного
администратора располагать рядом с кассами.
Распределительный вестибюль -
основное помещение входной группы. В комплекс распределительного вестибюля
входят распределительное рекреационное пространство, гардеробные с камерой
хранения, бюро обслуживания. Рекомендуется при вестибюле предусматривать
кладовую для хранения инвентаря - 3 кв. м.
Для удобства обслуживания
зрителей глубина гардеробной не должна быть более 4 м, а ширина
предгардеробного подхода - не менее 3 м. Площадь предгардеробного пространства
рекомендуется принимать исходя из расчета 0,2 кв. м на 1 зрителя. В
предгардеробном пространстве рекомендуется размещать зеркала и банкетки
(диваны). Длина барьера гардеробной должна составлять не менее 1 п. м на каждые
20 - 30 зрителей. Уровень пола гардеробной за барьером может быть понижен по
отношению к уровню пола предгардеробного пространства, но не более чем на 0,3
м. Высота барьера гардеробной от пола предгардеробного пространства - не более
0,9 м, ширина прохода за барьером (до вешалок) - не менее 0,7 м.
Количество крючков на 1 пог.
м вешалки (в зависимости от типа вешалки) 6 - 7 шт., а их размещение от пола
гардеробной - 1,6 м.
Помещение для отдыха
гардеробщиков, билетеров, уборщиц, оборудованное умывальником площадью 15 - 20
кв. м, рекомендуется размещать в непосредственной близости от гардеробной. Для
уборщиц рекомендуется устройство индивидуальных шкафчиков.
Камеру хранения сумок
рекомендуется размещать рядом с гардеробной, возможно, в несколько ярусов
(цифра в табл. 4.7.1 дается общая, без учета поярусного
хранения).
Бюро обслуживания, в том
числе киоски по продаже музыкальной продукции, книг и пр., рекомендуется
располагать в распределительном вестибюле, в стороне от основных потоков
посетителей.
4.7.3. Параметры зрительного зала определяются по условиям вместимости,
обеспечения комфортной видимости и слышимости из наиболее удаленных точек зала.
Оптимальная длина зала по его продольной оси до спинки кресла последнего ряда
рекомендуется:
·
для
залов симфонической музыки с естественной акустикой не более 32 м от края
игровой площадки;
·
для
концертно-театральных залов с естественной акустикой с глубинной портальной
сценой не более 25 м от красной линии сцены;
·
для
залов со звукоусилением не более 40 - 50 м;
·
для
залов концертно-эстрадных со звукоусилением удаление не ограничено.
Ширина зала симфонической
музыки при направленном распространении звука рекомендуется не более 22 - 25 м.
Расстояние между границей
сцены (эстрады или барьера оркестровой ямы) и спинками кресел первого ряда
зрительских мест зависит от вместимости зала и составляет: в залах до 300 мест
- не менее 1,2 м, в залах свыше 300 мест - не менее 1,5 м. Ширина проходов в
зале принимается по расчету путей эвакуации, но не менее 1,0 м. Уклон пола
пандусов в зрительном зале рекомендуется не более 1:7; при устройстве в
проходах ступеней высоту подступенков рекомендуется принимать не более 0,2 м.
4.7.4. Зрительские места в зале рекомендуется размещать в форме партера,
амфитеатра, балконов, ярусов, лож в различных комбинациях. При вместимости зала
более 80 мест зрительские места должны быть прикреплены к полу; незакрепленные
места рекомендуется предусматривать в ложах с количеством мест не более 12 (при
наличии самостоятельного выхода из лож). Расстояние между спинками сидений
рекомендуется принимать не менее 0,9 м, ширину прохода в ряду - не менее 0,45
м, ширину зрительского места - не менее 0,52 м.
Непрерывное количество мест в
ряду при одностороннем выходе рекомендуется не более 26, при двустороннем - не
более 50.
Высоту подбалконного пространства
с количеством рядов до трех рекомендуется принимать не менее 2,1 м, при большем
количестве рядов - не менее 3,0 м; высоту барьера балкона (ярусов, лож) - не
менее 0,8 м.
4.7.5. Площадь зрительного зала, включая все места размещения зрителей, определяется
до границы сцены (барьера оркестровой ямы), ее рекомендуется принимать для
камерных залов вместимостью до 300 мест - не менее 0,8 кв. м на 1 место, для
прочих более крупных залов - не менее 0,6 кв. м на 1 место.
4.7.6. Зрительные залы следует проектировать с учетом потребностей инвалидов
в соответствии со СНиП 35-01-2001. Места для инвалидов рекомендуется определять из расчета 1 % от общей
вместимости зала, но не менее двух. Размеры места для инвалида на
кресле-коляске - 0,9×1,5 м, ширина его, как и ширина подъезда к месту, -
не менее 0,9 м, длина места - 1,5 м.
4.7.7. Рекреационная группа помещений включает в себя фойе, кулуары,
гостиные, курительные. Фойе и кулуары непосредственно примыкают к зрительному
залу. Распределение их площади по этажам рекомендуется пропорционально
количеству зрителей, размещающихся в зале на данном этаже. Ширина кулуаров - не
менее 2,4 м, уклон пола или пандусов - не более 1:12. Целесообразно иметь одно
главное фойе (на уровне выхода из зала главной массы зрителей).
При использовании фойе для
размещения выставочных стендов его площадь рекомендуется увеличивать на 0,15
кв. м на 1 зрителя.
При многофункциональном
использовании фойе (балы, интермедии, елки) рекомендуется увеличивать его
площадь на 0,3 кв. м на 1 место в зрительном зале. При этом следует
предусмотреть кладовую из расчета 0,03 кв. м на 1 зрителя.
Допускается по заданию на
проектирование предусматривать зимний сад (или зеленый дворик) площадью 30 кв.
м и более, на рекреационной площади предусматривать уголки с зеленью и водой
(аквариум, фонтан и т.п.).
Рекомендуется предусматривать
в составе концертных залов музейно-выставочные помещения (по заданию на
проектирование) площадью из расчета 0,05 кв. м на 1 зрителя, но не менее 20 кв.
м. При них рекомендуется предусматривать подсобные помещения для хранения и
подготовки экспонатов площадью не менее 10 - 15 кв. м.
Курительные рекомендуется
проектировать в обособленных помещениях с дверями, обеспечивающими
дымоизоляцию. Оборудование помещения должно располагать к отдыху: естественное
освещение, диваны, зелень и т.п. Минимальная площадь курительной - 30 кв. м.
4.7.8. Помещения питания для зрителей следует проектировать по МГСН 4.14-98 из расчета одно посадочное место на 12 зрителей. Допускается установка
столов без посадочных мест. Основные помещения буфета рекомендуется располагать
на одном из уровней, на остальных - буфетные стойки. Загрузочная буфета должна
быть связана грузовым лифтом с подсобными помещениями.
Рекомендуется помещения
буфета для зрителей проектировать так, чтобы его хозяйственная зона обслуживала
и буфет для артистов.
В комплексе концертного зала
допускается размещение кафе или ресторана.
4.7.9. Санитарные узлы для зрителей рекомендуется проектировать исходя из
соотношения мужчин и женщин 1:2. Они должны быть удобно связаны с
рекреационными помещениями, с распределительным вестибюлем. Площади санузлов
принимаются в соответствии с табл. 4.7.1. Количество санитарных
приборов и кабин см. табл. 1 и 2 приложения 1.
При каждом санитарном узле
рекомендуется предусматривать кладовые для инвентаря площадью 1,5 - 2,0 кв. м.
Санитарные кабины для
инвалидов на креслах-колясках рекомендуется предусматривать в соответствии со СНиП
35-01-2001, но не менее 2-х специально оборудованных (для мужчин и для
женщин). Их размеры - не менее 1,65×1,80 м. Кроме того следует предусмотреть
место для размещения кресла-коляски рядом с унитазом - 0,9×1,5 м.
Открывание дверей - наружу.
Рекомендуемые состав и
расчетные показатели площади помещений обслуживания зрителей см. табл. 4.7.1.
Таблица
4.7.1.
|
Наименование
помещения
|
Площадь помещения на 1 место в зрительном зале, кв. м. при уровне
комфорта
|
|
1
|
2
|
3 (не менее)
|
|
Кассовый вестибюль
|
0,06
|
0,05
|
0,05
|
|
Входной вестибюль (аван вестибюль)
|
0,15
|
0,10
|
0,10
|
|
Распределительный вестибюль
|
0,35
|
0,30
|
0,25
|
|
Гардеробная
|
0,12
|
0,10
|
0,10
|
|
Камера хранения
|
0,06
|
0,05
|
-
|
|
Бюро обслуживания
|
0,30
|
0,20
|
-
|
|
Зрительный зал вместимостью до 300 мест
|
|
|
0,8
|
|
свыше 300 мест
|
|
|
0,6
|
|
Фойе, кулуары, гостиные
|
1,50
|
1,00
|
0,80
|
|
Курительные
|
0,10
|
0,08
|
0,06
|
|
Предприятие питания
|
0,50
|
0,40
|
0,30
|
|
Санитарные узлы
|
0,20
|
0,15
|
0,10
|
|
Примечание. Оптимальная высота помещений
вестибюля, кулуаров, предприятия питания, курительной и санитарных узлов -
3,3 м, фойе - 4,2 м.
|
4.8.
Помещения, обслуживающие игровую площадку
4.8.1. К помещениям, обслуживающим игровую площадку (сцену, эстраду, подиум,
и т.п.), относятся:
·
помещения
постановочного освещения;
·
помещения
механооборудования;
·
помещения
слаботочного оборудования (звукофикация, связь, телевизионный пункт).
4.8.2. Помещения постановочного освещения входят в электротехнический
комплекс концертных залов, обеспечивающий освещением не только игровую
площадку, но и пространство зала (а иногда и фойе). В филармонических залах
необходимо равномерное освещение демонстрационной площадки и зала. При этом прожектора
используются только как акцентирующее освещение. Во всех прочих концертных
залах рекомендуется применять весь комплекс постановочного освещения, в который
входят боковое, верхнее, фронтальное и выносное освещение, рампа, специальное
освещение (для спецэффектов). В концертно-театральных, эстрадных и других залах
вместо антрактного рекомендуется применять световой занавес, т.е. высвечивание
переднего плана сцены.
Следующие помещения и
устройства постановочного освещения рекомендуется размещать при сцене или
вблизи неё:
·
помещения
(устройства) бокового освещения сцены со следящими прожекторами (ложи или
открытые конструкции); их количество рекомендуется предусматривать не менее 2-х
с каждой стороны скрыто от глаз зрителей (ширина проема ложи - не менее 1,8 м);
·
устройства
выносного софита размещают под потолком зала либо открыто, либо в отдельном
несгораемом помещении высотой и шириной не менее 2 м. При большой глубине сцены
рекомендуется предусматривать 2 ряда выносных софитов;
·
рирпроекционную
(ориентировочно 25 - 30 кв. м) рекомендуется размещать за торцевой стеной
игровой площадки;
·
тиристорная
(ориентировочно 20 кв. м) размещается вблизи сцены. Боковое освещение и
выносные софиты предназначены для освещения
переднего плана
демонстрационной площадки. Если на сцене есть портал, то осветительную
аппаратуру располагают с внутренней стороны. При многочастном игровом
пространстве (боковые части авансцены, трехсторонняя сцена и др.) помещения
софитов рекомендуется ориентировать на кромки соответствующих площадок.
Ряд помещений постановочного
освещения рекомендуется размещать у задней стены зала (или за задней стеной
зала):
·
помещение
фронтального освещения сцены (ориентировочно 18 - 22 кв. м) рекомендуется
размещать по оси или в пределах ширины игрового портала, а уровень пола должен
находиться не ниже верха портала;
·
светопроекционную
(ориентировочно 18 - 27 кв. м) рекомендуется размещать в зависимости от углов
наклона оси проектора по отношению к строительному порталу в соответствии с МГСН 4.17-98;
помещение светопроекционной должно иметь отдельный вход; видеопроектор
рекомендуется размещать либо в помещении светопроекционной (добавив еще 8 - 10
кв. м), либо рядом в отдельном помещении;
·
светорегуляторную
(ориентировочно 15 - 20 кв. м) рекомендуется размещать в пределах проекции
строительного портала на плоскость задней стены зала.
Помещения щитовой
(ориентировочно 40 - 50 кв. м) и аккумуляторной или генераторной
(ориентировочно 25 кв. м) размещаются относительно свободно.
4.8.3. Для размещения механооборудования концертного зала предусматривается
машинный зал электроприводов (лебедок), необходимых для трансформации сцены и
зала, для регулирования положения подвижных акустических элементов (ориентировочно
50 - 150 кв. м). Машинный зал рекомендуется размещать ниже уровня сцены (в
трюме); он должен быть хорошо звукоизолирован и иметь выход (монтажный проём)
наружу для загрузки оборудования.
В концертно-театральных
залах, где предусмотрены сценическая коробка и занавес, требуются
дополнительные помещения лебедок для управления тросами подъемов, размещаемых
на галереях колосниковой сцены.
Электрощитовую сцены
рекомендуется объединять с электрощитовой зала.
4.8.4. Для размещения слаботочного оборудования концертного зала
предусматриваются следующие помещения, требующие прямой видимости сцены:
·
аппаратная
звукофикации и технологической связи (ориентировочно 10 кв. м), размещение ее
возможно и без прямой видимости, если последняя обеспечена из кабины звукооператора;
·
кабина
звукооператора (ориентировочно 6 кв. м) с пультом звукооператора в зале, у
задней его стенки, для непосредственности восприятия звука,
·
кабина
диктора (ориентировочно 5 - 8 кв. м);
·
кабина
переводчиков (из расчета 4 - 5 кв. м на 1 чел) предусматривается в тех
концертных залах, которые используются для проведения конгрессов, конференций и
т.п.;
Помещения, не требующие
прямой видимости сцены:
·
аппаратная
радиовещания (ориентировочно 10 - 15 кв. м);
·
телевизионный
пункт-полустационар (ориентировочно 12 кв. м) размещается не далее 250 м от
места съемки, на этаже в уровне земли с отдельным входом и проёмом для подачи
кабелей от передвижных телестанций, проектируется в соответствии с МГСН 4.17-98;
АТС и электрочасовая
(ориентировочно 12 кв. м) размещаются вблизи аккумуляторной.
При крупных концертных залах
рекомендуется предусматривать помещения для студии и аппаратной звукозаписи
(ориентировочно по 8 - 10 кв. м каждое) с технологическим окном между ними. Эти
помещения должны имен, повышенную звукоизоляцию от внешних шумов.
4.8.5. В концертных залах может предусматриваться установка органа Величина
органа характеризуется числом регистров (групп труб с одинаковым тембром),
число регистров зависит от кубатуры зала и числа зрительских мест. В малых,
средних и больших концертных залах рекомендуется на 1 регистр иметь,
соответственно, 50, 100, 150 и до 180 куб. м, а число регистров - 40, 50, 60 и
более.
Размещение органа наиболее
оптимально по центру зала, на торцевой стене игровой площадки. Этим достигается
равномерная и прямая направленность звука в зал. Есть примеры другого
расположения органа - на боковой стене (см. рис. 3 приложения 10
концертный зал в Осло).
Площадь помещения,
необходимая для размещения органа, складывается из площади для труб - на каждый
регистр около 0,75 кв. м и 3,5 - 5 куб. м объема помещения и площади пульта
органиста - 16×14 м. Высота помещения определяется по высоте длинных труб
органа.
Силовую и воздуходувную
установки рекомендуется размещать в отдельном помещении, удаленном от игровой
площадки.
4.9.
Помещения для артистов
4.9.1. К помещениям для артистов относятся:
·
помещения
для музыкантов;
·
артистические
уборные;
·
помещения,
обслуживающие музыкантов и артистов.
·
помещение
для оркестра (оркестровая яма) предусматривается в театрально-концертных залах,
где сцена должна быть свободна для выступлений артистов; в концертных залах,
предназначенных для чисто музыкальных концертов, оркестр размещается
непосредственно на игровой площадке (площадь в зависимости от уровня комфорта
из расчета от 1 до 1,5 кв. м на 1 музыканта); в оркестровой яме
предусматривается проход между барьером и оркестрантами шириной 1,5 - 2 м и два
эвакуационных выхода с обеих сторон);
·
комната
отдыха дирижера;
·
комната
отдыха музыкантов;
·
помещения
для индивидуальных занятий и настройки инструментов;
·
библиотека
нот площадью 20 - 30 кв. м;
·
помещение
для хранения инструментов;
·
курительные
для музыкантов;
·
два
санузла для музыкантов.
В комнатах для занятий и
отдыха рекомендуется естественное освещение. Рекомендуемые площади
помещений на 1 музыканта, в зависимости от уровня комфорта, см. табл. 4.9.1.
Таблица
4.9.1
|
Наименование
помещения
|
Площадь, кв. м на одного музыканта при уровне комфорта
|
Примечания
|
|
1
|
2
|
3
|
|
Комната дирижера
|
25
|
15
|
10
|
|
|
Комната отдыха музыкантов
|
1,5
|
1,2
|
1,0
|
Не
менее 15 кв. м
|
|
Помещение для занятий музыкантов
|
0,8
|
0,6
|
0,5
|
Не
менее 20 кв. м
|
|
Помещение для настройки инструментов
|
0,8
|
0,6
|
0,5
|
Не
менее 20 кв. м
|
|
Комната хранения музыкальных инструментов
|
0,1
|
0,1
|
0,1
|
Не
менее 10 кв. м
|
4.9.3. Площади артистических
уборных на одного артиста в зависимости от уровня комфорта рекомендуется
принимать по табл. 4.9.2.
Таблица
4.9.2.
|
Количество
артистов в помещении
|
Площадь, кв. м на 1 артиста при уровне комфорта1)
|
Примечания
|
|
1
|
2
|
3
|
|
1
|
15 - 25
|
12 - 15
|
9 - 11
|
На две артистические уборные 3-го уровня
комфорта предусматривается 1 санитарный узел (унитаз, умывальник, душ)2)
|
|
2
|
9
|
8
|
6 - 7,5
|
|
3
|
7
|
6
|
5 - 6
|
|
4
|
6
|
5
|
4 - 5
|
|
5
|
-
|
4
|
3 - 4
|
|
1) При
каждой артистической уборной 1 и 2 уровня комфорта (или на 2 комнаты) следует
предусматривать санитарный узел (унитаз, умывальник, душ) из расчета 1 прибор
на 4 чел.
2) При
проектировании санузла при каждой артистической уборной ее площадь следует
увеличивать на 10 %.
|
По заданию на проектирование могут предусматриваться крупные артуборные
для нескольких групп артистов, из которых состоят хоровые, балетные,
танцевальные, детские коллективы.
По заданию на проектирование
артистические уборные типа «люкс» могут проектироваться с дополнительными
помещениями, с расширенным санузлом, с возможностью установки рояля или
пианино.
Индивидуальные артистические
уборные и уборные типа «люкс» рекомендуется размещать на этаже сцены. Не
рекомендуется размещать уборные выше третьего и ниже первого этажа от уровня
сцены.
Ширина коридоров при
одностороннем расположении уборных рекомендуется не менее 2 м, при двустороннем
- не менее 3 м. Общая длина пути от наиболее удаленной уборной до сцены - не
более 60 м.
4.9.4. К помещениям, обслуживающим музыкантов и артистов, относятся:
·
артистическое
фойе с гардеробной;
·
помещения
ожидания выхода артистов на сцену;
·
репетиционные
залы;
·
комнаты
для индивидуальных занятий;
·
комнаты
отдыха и курительные;
·
дежурные
гримерно-парикмахерские и костюмерные;
·
помещение
для хранения музыкальных инструментов;
·
помещение
для хранения кофров - тары для перевозки инструментов и багажа артистов.
Площадь артистического фойе
рекомендуется рассчитывать на 60 % общего числа артистов.
Помещения ожидания выхода
артистов на сцену, как правило, располагаются смежно со сценой, с двух ее
сторон, а также, при необходимости, - по центру, площадью из расчета 1,7 - 1,9
кв. м на 1 артиста, но не менее 20 кв. м. Количество артистов, единовременно
находящихся в данном помещении, определяется в зависимости от вида концерта, в
соответствии с заданием на проектирование. Каждое помещение рекомендуется
разделять на мужскую и женскую части.
По возможности
предпочтительнее предусматривать за сценой единое пространство для ожидания
выхода на сцену, чтобы артисты могли быстро перемещаться с одной стороны сцены
на другую.
При помещениях ожидания
выхода следует предусматривать не менее двух санузлов.
Показатели площади зоны
накопления, в зависимости от числа находящихся в этой зоне артистов, см. табл. 4.3.4.
4.9.5. Для всех видов концертной деятельности достаточно иметь одни большой
(для репетиций балета) и один малый (для репетиций оркестра, хора)
репетиционные залы. Кроме того, целесообразно предусматривать универсальный
репетиционный зал (для репетиций небольших групп артистов разных жанров). В
залах для репетиций балета предусматривается балетный станок из расчета 2,15 п.
м на каждого занимающегося (возможно рассчитывать на половинный состав
участников труппы), а также зеркала.
В залах для репетиций
оркестра рекомендуется устройств одно-двухступенчатого подиума (при количестве
оркестрантов более 30 чел.). Зал требует пониженной звукоизоляции и устройства
амфитеатра для хористов.
При большом репетиционном
зале рекомендуется предусматривать не менее двух групповых артистических
уборных (мужскую и женскую) и двух выходом из зала, а также (по заданию на
проектирование) - склад мебели, реквизита, осветительной аппаратуры; при малом
репетиционном зале - помещение кладонии площадью 8 - 10 кв. м.
Репетиционные залы должны
быть удобно снизаны с артистическими уборными. Репетиционные залы рекомендуется
размещать около фойе с тем, чтобы их можно было бы использовать совместно
(экспериментальные концерты, праздники и т.п.).
Размеры репетиционных залов
приведены в табл. 4.9.3. Рекомендуемые расчетные показатели
площади и объема залов на 1 занимающегося в зависимости от уровня комфорта
приведены в табл. 4.9.4.
Таблица
4.9.3.
|
Наименование
помещений
|
Размеры репетиционных залов
|
|
Репетиционные залы:
|
|
|
-
большой
|
18×18×7,5
21×21×7,5
|
|
- малый
|
15×12×6
15×15×6
|
|
Универсальное
репетиционное помещение
|
6×6
|
|
Примечания:
1. Размеры залов - длина´ ширина ´ высота.
2. Размеры в плане указаны в осях строительных конструкций, высота -
от пола до низа выступающих конструкций
перекрытий.
|
Таблица
4.9.4.
|
Наименование
зала и показатели
|
Уровень комфорта
|
|
1
|
2
|
3
|
|
Зал для репетиций оркестра, на одного
участника: площадь, м2
|
3,0
|
2,5
|
2,0
|
|
объем, м3
|
18,0
|
14,0
|
11,0
|
|
Зал для репетиций хора, на одного участника:
площадь, м2
|
2,5
|
2,0
|
1,5
|
|
объем, м3
|
12,0
|
9,0
|
7,0
|
По заданию на проектирование для экспериментальных постановок
допускается увеличивать площадь репетиционного зала на 15 - 20 %.
Курительные рекомендуется
размещать в изолированных помещениях с плоти закрывающимися дверями, площадью
не менее 15 кв. м.
4.9.6. Дежурные гримерно-парикмахерские и костюмерные (мужские и женские)
должны иметь удобную связь между собой, с артистическими, помещением ожидания
выхода на сцену для обеспечения быстрой смены концертных номеров. Поэтому их
рекомендуется размещать возможно ближе к сцене и к артистическим уборным. Также
для них необходима удобная связь с дежурным складом. Для артистов балета и
танцевальных трупп рекомендуется предусматривать дежурную обувную для срочного
ремонта обуви.
Помещение для хранения
музыкальных инструментов и помещение для кофров рекомендуется размещать таким
образом, чтобы был обеспечен удобный выход наружу для связи с автотранспортом.
Помещение, где хранятся музыкальные инструменты, должно охраняться.
Рекомендуемые расчетные
показатели площадей помещений, обслуживающих артистов, приведены в табл. 4.9.5.
Рекомендуемые состав и площади помещений, обслуживающих артистов наиболее
распространенных концертных коллективов, приведены в табл. 4
приложения 1.
Таблица
4.9.5.
|
Наименование
помещения
|
Единица изм.
|
Площадь на единицу кв. м.
|
Примечания
|
|
Артистическое фойе с гардеробом
|
на 1
чел
|
0,3
|
|
|
Комнаты для индивидуальных занятий
|
на 1
чел
|
0,5 -
0,8
|
Не менее: для солистов балета 40 - 50 кв. м,
для солистов хора 20 кв. м
|
|
Помещение настройки инструментов
|
на 1
музыканта
|
0,5 - 0,8
|
Не менее 20 кв. м
|
|
Комната отдыха
|
на 1
чел
|
1,0 -
1,5
|
Не менее 15 кв. м
|
|
Костюмерные
|
на 1
костюм
|
0,2
|
Плюс площадь для глажения 2,5 кв. м
|
|
Комната хранения музыкальных инструментов
|
на 1
музыканта (или на 1 инструмент)
|
0,7
|
Не менее 20 кв. м
|
|
Помещение для хранения тары (кофров)
|
на 1
кофр
|
0,65
|
При хранении в 4 яруса
|
4.10.
Помещения художественного руководства, технического персонала и
административно-хозяйственные помещения
Число и площади помещений
определяются заданием на проектирование в соответствии со штатным расписанием,
с учетом специализации и вместимости зала.
4.10.1. Помещения художественного руководства включают кабинеты руководителей
артистических трупп; их рекомендуется размещать в едином блоке, удобно
связанным со сценой, с репетиционными залами. Наиболее полный состав этих
помещений соответствует концертному залу с колосниковой сценой - для театрально
- и эстрадно-концертных залов, универсальных залов.
Рекомендуемые состав и
средние площади помещений художественных руководителей концертных коллективов в
зависимости от уровня комфорта приведены в табл. 4.10.1.
Таблица
4.10.1
|
Название
помещения
|
Площадь помещения, м2 при уровне комфорта
|
|
1
|
2
|
3
|
|
Главного режиссера
|
30
|
25
|
20
|
|
Главного дирижера
|
30
|
20
|
15
|
|
Главного хормейстера
|
20
|
15
|
10
|
|
Главного балетмейстера
|
30
|
15
|
10
|
|
Главного художника
|
20
|
15
|
10
|
|
Пом. главного режиссера
|
15
|
10
|
8
|
|
Ассистентов режиссера, дирижера,
хормейстера, балетмейстера
|
15
|
12
|
-
|
|
Инспекторов сцены, хора, балета
|
15
|
12
|
10
|
|
Инспектора оркестра
|
15
|
10
|
8
|
|
Зав. труппой
|
15
|
12
|
12
|
|
Зав. репертуаром
|
15
|
12
|
12
|
|
Зав. музыкальной частью
|
15
|
12
|
12
|
|
Зав. литературной частью
|
20
|
15
|
12
|
|
Зав. постановочной частью
|
20
|
15
|
10
|
|
Помещение постановочной части
|
20
|
15
|
10
|
|
Концертмейстеров и репетиторов
|
25
|
20
|
15
|
|
Режиссерского управления
|
20
|
15
|
10
|
4.10.2. Помещения технического
персонала рекомендуется размещать так, чтобы достигалась удобная связь с
рабочими участками концертного зала.
Рекомендуемый состав и
средние площади помещений технического персонала концертного зала с
колосниковой сценой, в зависимости от уровня комфорта, приведены в табл. 4.10.2
Таблица
4.10.2.
|
Название
помещения
|
Площадь помещения, м2, при уровне комфорта
|
|
1
|
2
|
3
|
|
Машиниста сцены
|
8
|
6
|
6
|
|
Кладовая машиниста сцены
|
40
|
40
|
40
|
|
Зав. освещением сцены
|
8
|
6
|
6
|
|
Зав монтировочной частью
|
10
|
8
|
8
|
|
Отдыха рабочих сцены
|
50
|
30
|
20
|
|
Зав. слаботочным комплексом
|
8
|
6
|
6
|
|
Зав. TV комплексом
|
10
|
8
|
8
|
4.10.3. Количество и площади
административно-хозяйственных помещений определяются заданием на проектирование
в соответствии со штатным расписанием. Площадь каждого из них должна быть не
менее 10 кв. м.
Рекомендуемые состав и
примерные площади основных помещений административно-хозяйственного персонала,
в зависимости от уровня комфорта, приведены в табл. 4.10.3.
Таблица
4.10.3.
|
Название
помещения
|
Количество комнат
|
Площадь помещений, м2, при уровне комфорта
|
|
1
|
2
|
3
|
|
Дирекция (в т.ч. канцелярия и секретарь)
|
2 - 3
|
75 -
105
|
55 - 85
|
40 - 70
|
|
Бухгалтерия, технический и хозяйственный
отделы (в т.ч. кабинеты гл. инженера, коменданта)
|
4 - 5
|
100 -
120
|
70 -
100
|
50 - 75
|
В крупных концертных залах по заданию на
проектирование допускается предусматривать кабинет директора для приёмов (в дополнение к рабочему кабинету) площадью 15 - 25 кв. м, связанный с залом, с гостевой ложей на 8 - 10 чел.,
включающей фойе-гостиную площадью 20 кв. м, отдельный санузел и изолированный
вход с вестибюлем площадью 8 - 10 кв. м.
Рекомендуемые состав и ориентировочные
площади обслуживающих помещений, в зависимости от вида концерта, приведены в
табл. 4.10.4.
Таблица
4.10.4.
|
Вид
концерта
|
Площадь, кв. м
|
|
Вестибюль с гардеробом
|
Буфет
|
Подсобная при буфете
|
Санузлы
|
Душевые
|
|
Камерный
|
8
|
-
|
-
|
4 - 5
|
2
|
|
Большой
филармонический
|
30 - 45
|
18 - 25
|
6 - 8
|
20 - 30
|
2
|
|
Хореографический
|
25 - 35
|
15 - 20
|
6 - 8
|
14 - 20
|
14 - 20
|
|
Эстрадный
|
30 - 45
|
15 - 20
|
6 - 8
|
20 - 30
|
14 - 20
|
|
Литературный
|
10 - 20
|
-
|
-
|
3 - 4
|
|
|
Сборный
|
35 - 45
|
20 - 25
|
6 - 8
|
20 - 30
|
16 - 20
|
Состав и площади общих помещений для художественного, технического и административного
персонала определяются заданием на проектирование по расчету в соответствии со
штатным расписанием.
Рекомендуемые расчетные
показатели приведены в табл. 4.10.5.
Таблица
4.10.5.
|
Помещения
|
Ед. измерения
|
Площадь, кв. м
|
|
Рабочие комнаты технического персонала,
бухгалтерии, технического и хозяйственного отделов
|
м2/чел.
|
В комнате на несколько человек - 4, в
отдельном кабинете - 10
|
|
Комната отдыха
|
м2/чел.
находящегося в помещении
|
2
|
|
Буфет
|
м2
на каждые 100 чел персонала
|
2
|
|
Подсобная при буфете
|
м2
|
6-8
|
|
Вестибюль с гардеробом
|
м2/чел.
|
0,3
|
|
Кабинет врача
|
м2
|
15 - 20
|
|
Душевые
|
м2/чел.
|
0,3
|
|
Туалетные, уборные
|
м2/чел.
|
0,2
|
Кабинет врача (1 - 2 комнаты)
рекомендуется располагать на стыке артистического и зрительского комплексов
помещений, недалеко от выхода наружу (для выноса носилок), для обеспечения
возможности обслуживания не только артистов, но и зрителей.
Рекомендуемое количество
приборов в санузлах, рассчитываемое на обслуживающий персонал концертного зала,
приводится в табл. 4.10.6.
Таблица
4.10.6.
|
Прибор
|
Количество, шт.
|
|
унитаз
|
один на 15 женщин
|
|
писсуар и унитаз
|
по одному на 25 мужчин
|
|
умывальник
|
один на 30 чел.
|
|
душевая кабина
|
одна на 8 чел.
|
Ориентировочные состав площади помещений художественного руководства, технического
и административно-хозяйственного персонала концертных залов с колосниковой
сценой см. табл. 2, 3, 4 приложения 2.
Состав и площади
производственных и складских помещений концертных залов определяются заданием
на проектирование в соответствии с типом зала.
4.11.1. Состав мастерских и складов при симфонических концертных залах, как
правило, включает одну или две ремонтно-поделочных мастерских ремонта
музыкальных инструментов, реквизита общей площадью 20 - 50 кв. м, а также
помещения для хранения музыкальных инструментов и кладовые для кофров площадью
по 15 - 20 кв. м, склад электроаппаратуры площадью 20 кв. м и
материально-хозяйственную кладовую площадью 20 - 30 кв. м.
При прочих концертных залах
рекомендуется предусматривать более развитый состав мастерских разного профиля
по изготовлению декораций и бутафории, а также складов декораций.
4.11.2. Мастерские при концертно-театральных залах делятся на три группы:
·
объемных
декораций - столярная и слесарная мастерские, бутафорская (площадью до 200 кв.
м.);
·
мягких
декораций (площадью до 90 кв. м);
·
костюмов,
обуви, париков - пошивочная с примерочной и закройной, головных уборов,
обувная; при них - постирочная, сушильная, красильная и др. (общей площадью 100
- 190 кв. м).
Все мастерские должны быть
обеспечены хорошей звукоизоляцией от остальных помещений, особенно, от игровой
площадки. Их рекомендуется размещать недалеко от складов. При каждой мастерской
рекомендуется предусматривать кладовые площадью не менее 5 кв. м, а также общее
помещение персонала с санузлом.
4.11.3. Склады при концертно-театральных залах рекомендуется размещать в
непосредственной близости к сцене для удобства доставки реквизита.
Склады декораций
проектируются, как правило, из расчета хранения декораций для 2 - 3 спектаклей.
Декорации каждого спектакля занимают примерно до 10 % площади сцены. Площадь
склада определяется заданием на проектирование в соответствии с размером сцены,
репертуаром, особенностями постановки. Помещение склада рекомендуется
проектировать шириной 9 м (хранение декораций в 2 ряда, с центральным
проходом); высота помещения и проемов, соединяющего склад со сценой, зависят от
высоты строительного портала и наличия карманов. На небольших сценах
(7,5×12 до 12×21) высота склада равна высоте строительного портала,
а высота проема, через который подносятся декорации на сцену, на 0,5 м меньше
его высоты; для развитых сцен с карманами высота помещения склада и проема
равна высоте кармана.
Склады рекомендуется
проектировать так, чтобы была обеспечена непосредственная связь с зоной
загрузки-выгрузки декораций. Наружные проемы складов должны быть обеспечены
тамбурами или утепленными дверями с тепловой завесой.
Параметры помещений складов
скатанных декораций (сейф), сценической аппаратуры, бутафории, реквизита,
мебели определяются в соответствии с см. МГСН 4.17-98.
Рекомендуемый состав и
площади складов в зданиях концертно-театральных залов с колосниковой сценой
приведены в табл. 5 приложения 2.
5.
Рекомендуемые типы концертных залов для первоочередного строительства в г.
Москве.
5.1. Рекомендуемые типы концертных залов для первоочередного строительства в
г. Москве следует принимать в соответствии с табл. 5.1.
Таблица
5.1.
|
Тип
зала, вместимость, мест
|
Тип площадки, специфика
|
Виды программ
|
|
Основные
|
Дополнительные
|
|
1. Концертно-театральный, 2500
|
Сцена-эстрада, естественная акустика со
звукоусилением. Трансформируемые: акустические щиты; оркестровая яма; подиум
для показа мод; платформа для разворота радов зрительских кресел; планшет
сцены для оркестра; поворотный двухкольцевой круг
|
Все виды концертов, кроме камерных
филармонических и музыкально - литературных
|
Все виды концертов, театральные постановки
|
|
2. Концертно-театральный, 500
|
Сцена-эстрада, естественная акустика с
регулируемыми акустическими элементами
|
Маломасштабные постановочные эстрадные
программы детского репертуара, камерные филармонические и музыкально -
литературные программы
|
Детский театральный репертуар
Возможен видео и кинопоказ
|
|
3. Блок концертно -теаральных залов на одной
сценической коробке 2000 2500 мин 500
|
Аналогично типам 1 и 2
|
Аналогично типам 1 и 2
|
Наличие двух противопожарных акустических
занавесов для возможности попеременного использования сцены залами, а также трансформирование
просцениума в эстраду за счет уменьшения вместимости большого зала
|
|
4. Экспериментальный концертно-театральный
зал, до 700
|
По спецзаданию
|
Экспериментальные, программы авангардной
музыки, сборные концерты
|
Конкурсы
|
|
5. Трансформируемый театрально-концертный
зал переменной вместимости, 800 - 1400
|
Сцена, естественная акустика. Увеличение
вместимости зала за счет сценических карманов. Трансформация партера,
карманов и дополнительных зрительских мест
|
Фестивали профессионального творческого
искусства национально - народного жанра. Концертные народные хореографические
и вокально-инструментальные ансамбли и театральные жанры.
|
Конкурсы классических и эстрадных танцев.
Показ мод. Конкурсы красоты и т.п.
|
|
6. Концертный видео зал, 80 - 120
|
Эстрада, естественная акустика. Свободно
расставляемые или стационарные зрительские кресла
|
Музыкально - лекционные программы, вечера
поэзии
|
Видеофильмы, чествования, караоке.
|
|
7. Концертно-театрально - банкетно - выставочный
общественный зал 2500
|
Сцена-эстрада, естественная акустика со
звукоусилением и настройкой естественной акустики с помощью трансформируемых
акустических щитов. Трансформируемый пол партера зала.
|
Все виды концертов, кроме камерных,
театральные постановки патриотических направлений
|
Выставки, праздничные банкеты, торжественные
присяга и т.п. Кинопоказ
|
|
8. Зрелищно-досуговый, переменной
вместимости 150 - 250
|
Эстрада, естественная акустика. В зоне
горизонтального пола зала трансформируемые ряды кресел (≈100 кресел)
для танцев и размещения жюри
|
Музыкальные лектории, вечера поэзии,
маломасштабные вокально-инструментальные ансамбли
|
Видеопоказ, досуговые комплексные программы,
(концерты, танцы, вокально-танцевальные конкурсы)
|
|
9. Досуговый зал (банкетно - зрелищно -
танцевальный), в зрелищном режиме 1400 - 1600, в режиме кабаре 500 - 600.
|
Эстрада или сцена-эстрада, стационарная
эстрада, танцплощадка и зоны мест для столиков на ступенчатом полу на случай
концертного режима. Трансформируемые ряды кресел для зрителей.
|
Программы кабаре
|
Концерты эстрадного жанра
|
|
|
|
|
|
6.
Ссылки на нормативно-методическую литературу
6.1. Нормативные документы
6.1.1. СНиП 2.08.02-89* Общественные здания и
сооружения.
6.1.2. СНиП
2.04.01-85* Внутренний водопровод и канализация.
6.1.3. СНиП 41-01-2003 Отопление, вентиляция и
кондиционирование.
6.1.4. СНиП
21-01-97* Пожарная безопасность зданий и сооружений.
6.1.5. СНиП 35-01-2001 Доступность зданий для маломобильных групп населения.
6.1.6. МГСН 4.17-98 Культурно-зрелищные
учреждения.
6.1.7. МГСН 4.14-98 Предприятия общественного
питания.
6.1.8. МГСН 4.04-94 Многофункциональные здания и комплексы.
6.1.9. МГСН 2.04-97 Допустимые уровни шума, вибрации и требования к звукоизоляции в жилых и
общественных зданиях.
6.1.10. МГСН 2.06-97 Естественное и искусственное освещение.
6.1.11. НПБ 104-95 Проектирование систем оповещения людей о пожаре в зданиях и
сооружениях.
6.1.12. НПБ 110-96 Перечень зданий, сооружений, помещений и оборудования
подлежащих защите
автоматическими установками тушения и обнаружения пожара.
6.1.13. НПБ 88-2001 Установки пожаротушения и сигнализации
6.1.14. МРР-3.1.02-97. Сборник базовых удельных показателей по стоимости
строительства
6.2.
Справочные и рекомендательные материалы
6.2.1. Пособие к МГСН 2.04-97 Проектирование защиты от шума и вибрации инженерного оборудования в
жилых и общественных зданиях.
6.2.2.
Пособие к МГСН 2.04-97 Проектирование защиты от транспортного шума и вибрации зданий.
6.2.3. Пособие к МГСН 2.06-97 Расчет и проектирование искусственного освещения помещений общественных
зданий.
6.2.4. Рекомендации по проектированию окружающей среды, зданий и сооружений с
учетом потребностей инвалидов и маломобильных групп населения. Минстрой России,
Минсоцзащиты России, ЦНИИЭП им. Б.С. Мезенцева, 1995.
6.2.5. Научно-исследовательский отчет: Концертные залы. ЦНИИЭП им. Б.С.
Мезенцева, 1971, 255 с.
6.2.6. Научно-исследовательский отчет: Рекомендации по проектированию
филармоний и концертных залов различного назначения. ЦНИИЭП им. Б.С. Мезенцева,
1987, 263 с.
6.2.7. Руководство по акустическому проектированию залов многоцелевого
назначения средней вместимости. НИИСФ Госстроя СССР. 1981.
6.2.8. Пособие по проектированию видимости. ЦНИИЭП им. Б.С. Мезенцева, 1971.
6.3.
Техническая литература
6.3.1. Рябышева И.Д., Видгольц О.М., Гаклина В.Д., Савченко М.Р., Безухова
Л.Н. Концертные залы. Серия «Архитектору-проектировщику», М., Стройиздат, 1975,
152 с., илл.
6.3.2. Гнедовский Ю.П., Рябышева И.Д. Городские многоцелевые залы. Госгражданстрой,
1977.
6.3.3. Иордан В.Л., Акустическое проектирование концертных залов и театров.
Перев. с англ. С.А. Хомутова, под ред. Л.И. Макриненко. М., Стройиздат, 1986,
170 с., илл,
6.3.4. Урбах А.И. Новые тенденции в архитектуре культурных центров. ЦНТИ, серия
«Общественные здания», М., 1990, с. 60, илл.
6.3.5. Ексарева Н.М., Ексарев В.А. Приспособление исторических зданий под
культурно-зрелищные объекты. ЦНТИ, серия «Общественные здания», М., 1989, с. 74
илл.
6.3.6. Оскар Нимейер. Архитектура и общество, составление и вступительная
статья В.Л. Хаита. Издательство «Прогресс», М., 1975, 92 с., илл. (музыкальный
центр в Рио-де-Жанейро, с. 176 - 178).
6.3.7. Архитектура общественных зданий. Составители Н.Я. Матвеева, В.В.
Лазарев. М., Стройиздат, 1980 (глава «Концертные залы», с. 24 - 26).
6.3.8. Архитектурное проектирование общественных зданий и сооружений, М.,
Стройиздат, 1985 (Г.Я. Мовчан, В.Д. Красильников, глава 13.
Театрально-концертные здания и сооружения, с. 218 - 248).
6.3.9. Змеул С.Г., Маханько Б.А., Архитектурная типология зданий и
сооружений. М., Стройиздат, 2000 с. (Глава 13.2. Театры и концертные залы, с.
123 - 146).
6.3.10. Томас Ван ден Валентин. Бетховенский архив и зал для исполнения
камерной музыки, Бонн. «Домус» - журнал по архитектуре, интерьеру, дизайну и
искусству, декабрь 1989, с. 60 - 65.
6.3.11. Хуго Херинг в его времени. Строительство на современном этапе.
Материалы симпозиума и выставки, состоявшихся в мае 1982 г. в г. Биберах на р.
Рисе - ФРГ. Русское издание текста, ноябрь 1990, перев. Д.Г. Копелянского, с.
60 - 61. Иллюстрации из немецкого издания: Hugo Haring in Seiner zeit, symposion und austellung Biberach A. D.
Riss, mai, 1982, 113 - 116.
6.3.12. Духов Е. В. Концерт в истории западноевропейской культуры. М.,
Классика - XXI, 2003, 256 с., илл.
6.3.13. Писарская С. Где слушать музыку? «Архитектура СССР», 1989, № 6, с.88 -
93.
6.3.14. Булгаков А.С. Театр и театральная общественность Лондона эпохи
расцвета торгового капитализма. Л., Академия, 1929, с. 265.
6.3.15. Базанов В.В. Сцена XX века. Л., Искусство, 1990,
с. 240, илл.
6.3.16. Московский международный дом музыки. Иллюстрированный буклет, 2002 -
2003.
6.3.17. Учреждения культуры в центрах планировочных зон Москвы. МНИИП объектов
культуры, отдыха, спорта и здравоохранения, М., 1981, с. 96.
Таблица
1
Расчетное количество человек, приходящихся на 1 прибор, в зависимости от
уровня комфорта1)
|
Наименование
приборов
|
На количество человек:
|
|
Для зрителей при уровне комфорта:
|
Для персонала
|
|
1
|
2
|
3
|
|
|
1 умывальник на:
|
40
|
50
|
60
|
30
|
|
1 душевая сетка на:
|
-
|
-
|
-
|
8
|
|
Для мужчин:
- 1 унитаз на:
- 1 писсуар на:
|
60
60
|
70
70
|
80
80
|
25
25
|
|
Для женщин:
- 1 унитаз на:
- 1 гигиенический душ 2) на:
|
25
-
|
30
-
|
35
-
|
15
25
|
|
1)
Таблицы составлены на основании МГСН 4.17-98 и СНиП 2.08.02-89*.
2)
Размещается в комнате личной гигиены женщин, рядом с женской уборной со
входом из умывальной; размер кабины гигиенического душа - 2,4×1,2 м.
|
Таблица 2
Размеры санитарных кабин в зависимости от уровня комфорта
|
Кабины
|
Размеры в плане, м, при уровне комфортности:
|
|
1 - 2
|
2 - 3
|
|
Уборные 1)
|
1,0×1,5
(1,8)
|
0,9×1,2
(1,5)
|
|
Душевые 2)
|
1,0×2,0
|
0,85×1,8
|
|
1) В
скобках - размер кабин с дверями, открывающимися внутрь.
2) В т.ч.
место для переодевания.
|
Таблица 3
Параметры санитарных узлов
|
Показатель
|
Уборные
|
Умывальные
|
Душевые
|
|
Размеры кабин в плане, м, при дверях,
открывающихся:
наружу
|
0,9´1,2
|
-
|
0,9´1,81)
|
|
внутрь
|
0,9´1,5
|
-
|
-
|
|
открытых
|
-
|
-
|
0,9´1
|
|
Высота разделительных экранов (от пола), м
|
1,8
|
-
|
1,8
|
|
Расстояние от пола до экрана, м
|
0,2
|
-
|
0,2
|
|
Расстояние между приборами (в осях), м:
умывальниками
|
-
|
0,65
|
-
|
|
писсуарами
|
0,7
|
-
|
-
|
|
Ширина проходов, м, между рядами кабин:
|
|
|
|
|
до 6 в
ряду
|
1,5
|
-
|
1,5
|
|
свыше 6
в ряду
|
2
|
-
|
1,5
|
|
между
рядами умывальников
|
-
|
1,6
|
-
|
|
между
рядами писсуаров:
|
|
|
|
|
до 6 в
ряду
|
1,5
|
-
|
-
|
|
свыше 6
в ряду
|
2
|
-
|
-
|
|
между
стеной (перегородкой) и рядом кабин
|
1,3
|
1,1
|
1 - при числе в ряду до 6, 1,5 - при 7
приборах и более
|
|
между кабинами и рядом писсуаров
|
2
|
-
|
-
|
|
1) В том
числе место (шлюз) для переодевания.
Примечание. Ширину проходов в уборных между
рядами кабин, между рядами умывальников и писсуаров, а также между рядами
душевых кабин, приведенную в таблице, допускается увеличивать в зависимости
от архитектурно-планировочных решений.
|
Таблица
1
РЕКОМЕНДУЕМЫЕ СОСТАВ И ПЛОЩАДИ (кв. м) ПОМЕЩЕНИЙ, ОБСЛУЖИВАЮЩИХ АРТИСТОВ
|
Вид
концерта
|
Оптимальное размещение среднего количества исполнителей*)
|
Артистическое фойе с гардеробом
|
Помещения ожидания выхода артистов на сцену
|
Репетиционные залы**)
|
Комнаты отдыха артистов
|
Курительные
|
Гримерно-парикмахерские
|
Костюмерные
|
Обувная
|
Помещение для реквизита
|
Кладовая хранения тары (кофров)
|
|
Большой симфонический
|
Хор с
оркестром (140 чел.)
|
40 - 60
|
40
|
|
100 -
140
|
15
|
|
30 - 40
|
|
|
40
|
|
Камерный симфонический
|
Камерный
оркестр (20 чел.)
|
15
|
|
|
15
|
10
|
|
10
|
|
|
20
|
|
Хореографический
|
Ансамбль танца
(48 чел.)
|
15 - 20
|
70
|
108 -
180
|
45 - 50
|
15
|
8 - 10
|
15
|
10 - 12
|
6
|
35
|
|
Эстрадные постановочные
непостановочные
|
32 чел.
40 - 70 чел.
|
15
15 - 20
-
|
70
70
(на 32
чел.)
|
81 -
108
|
35 - 40
40 - 70
|
15
15
|
8 - 10
|
15
|
10 - 12
|
6
6
|
25
25 - 50
|
|
Литературный
|
1 чтец
+ 1 муз
|
-
|
-
|
-
|
15
|
10
|
-
|
-
|
-
|
-
|
-
|
|
Сборный
|
130 -
200 чел.
|
40 - 60
|
70
|
81 -
108
|
60 -
100
|
15
|
8 - 10
|
30 - 40
|
10 - 12
|
6
|
40
|
|
*)
Количество исполнителей - ориентировочно
**) Размеры
репетиционных залов (кв. м): 81 (9×9), 108 (9×12), 180
(12×15)
|
Таблица 2
РЕКОМЕНДУЕМЫЕ СОСТАВ И ПЛОЩАДИ (кв. м) ПОМЕЩЕНИЙ ХУДОЖЕСТВЕННОГО
РУКОВОДСТВА
|
Вид
концерта
|
Главного режиссера
|
Главного дирижера
|
Главного хормейстера, художника
|
Главного балетмейстера
|
Помощников главных
|
Инспектора сцены, оркестра, хора, балета
|
Заведующих репертуаром, труппой, муз. частью
|
Зав. литературной частью
|
Помещение постанов. части, кабинет зав. постанов, частью
|
Концертмейстеров и репетиторов
|
|
Большой симфонический
|
20
|
20 - 30
|
10 - 20
|
-
|
по 8 -
15
(2 - 3)
|
10 - 15
|
По 12 -
15 (2)
|
-
|
-
|
по 15 -
25
(2)
|
|
Камерный симфонический
|
15
|
15
|
-
|
-
|
-
|
-
|
12 - 15
|
-
|
-
|
15 - 25
|
|
Хореографический
|
10
|
15 - 30
|
10 - 20
|
10 - 30
|
по 8 -
15
(4)
|
по 10 -
15
(2)
|
по 12 -
15
(3)
|
-
|
по 10 -
20
(2)
|
15 - 25
|
|
Эстрадный
|
10
|
15 - 30
|
по 10 -
20
(2)
|
10 - 30
|
по 8 -
15
(5)
|
по 10 -
15
(3)
|
по 12 -
15
(3)
|
12 - 20
|
по 10 -
20
|
по 15 -
25
(2)
|
|
Литературный
|
15
|
-
|
-
|
-
|
8 - 15
|
-
|
по 12 -
15
(2)
|
12 - 20
|
10 - 20
|
-
|
|
Сборный
|
20 - 30
|
15 - 30
|
по 10 -
20
(2)
|
10 - 30
|
по 8 -
15
(5)
|
по 10 -
15
(3)
|
по 12 -
15
(3)
|
12 - 20
|
по 10 -
20
(2)
|
по 15 -
25
(2)
|
|
Примечание
1. Цифры в скобках - рекомендуемое число комнат
2.
Диапазон цифр учитывает разницу в уровнях комфорта.
|
Таблица
3
РЕКОМЕНДУЕМЫЕ СОСТАВ И ПЛОЩАДИ (кв. м) ПОМЕЩЕНИЙ ТЕХНИЧЕСКОГО ПЕРСОНАЛА
|
Вид
концерта
|
Машиниста сцены, зав. освещ. сцены, зав. слаботочным комплексом
|
Зав. TV
пунктом
|
Помещение отдыха рабочих сцены
|
Кладовая машиниста сцены
|
|
Большой симфонический
|
по 6 -
8
(2 - 3)
|
8 - 10
|
20 - 40
|
-
|
|
Камерный симфонический
|
по 6 -
8
(1 - 2)
|
8 - 10
|
20
|
-
|
|
Хореографический
|
по 6 -
8
(3)
|
8 - 10
|
40 - 50
|
40
|
|
Эстрадный
|
по 6 -
8
(3)
|
8 - 10
|
40 - 50
|
40
|
|
Литературный
|
по 6 -
8
(1 - 2)
|
8 - 10
|
20
|
-
|
|
Сборный
|
по 6 -
8
(3)
|
8 - 10
|
40 - 50
|
40
|
|
Примечание. Цифры в скобках - количество
помещений
|
Таблица
4
РЕКОМЕНДУЕМЫЕ СОСТАВ И ПЛОЩАДИ (кв. м) АДМИНИСТРАТИВНО-ХОЗЯЙСТВЕННЫХ
ПОМЕЩЕНИЙ
|
Вид
концерта
|
Административные помещения
|
Общие и хозяйственные помещения
|
|
Кабинет директора
|
Кабинет зам. директора
|
Помещение секретаря и канцелярии
|
Помещение бухгалтерии
|
Кабинет зав. хоз. частью, коменданта, технич. отдел
|
Кабинет врача
|
Помещение отдыха персонала
|
Буфет с подсобным помещением
|
Санузлы
|
Вестибюль с гардеробом
|
|
Большой симфонический
|
20
|
10 - 15
|
20
|
25
(1 - 2)
|
25 - 30
(2 - 3)
|
15
|
25 - 30
(1 - 2)
|
25 -
35
|
20 -
30
|
30 -
45
|
|
Камерный симфонический
|
15
|
10
|
15
|
20
|
25
(2)
|
10
|
25
|
-
|
4 - 5
|
8
|
|
Хореографический
|
20
|
10 - 15
|
20
|
25
(1 - 2)
|
25 - 30
(2 - 3)
|
15
|
25 - 30
(1 - 2)
|
30
|
20 - 30
|
25-35
|
|
Эстрадный
|
20
|
10 - 15
|
20
|
25
(1 - 2)
|
25 - 30
(2 - 3)
|
15
|
25 - 30
(1 - 2)
|
30
|
20 - 30
|
-
|
|
Литературный
|
15
|
10
|
15
|
20
|
25
(2)
|
10
|
25
|
-
|
3 - 4
|
-
|
|
Сборный
|
20
|
10 - 15
|
20
|
25
(1 - 2)
|
25 - 30
(2 - 3)
|
15
|
25 - 35
(1 - 2)
|
25 -
35
|
20 -
30
|
35 -
45
|
|
Примечание. Цифры в скобках - рекомендуемое
число комнат.
|
Таблица 5
Рекомендуемые
состав и площади (кв. м) дежурных складов и кладовых
|
Вид
концерта
|
Объемных декораций
|
Скатанных декораций
|
Музыкальных инструментов
|
Кофров
|
Бутафории мебели, реквизита
|
Электроаппаратуры
|
Материально-хозяйственная кладовая
|
|
Большой
симфонический
|
-
|
-
|
20
|
20
|
15
|
20
|
20 -
30
|
|
Камерный
симфонический
|
-
|
-
|
15
|
15
|
10
|
20
|
20
|
|
Хореографический
|
150
|
40 -
60
|
15
|
15
|
30 -
40
|
25
|
20 -
30
|
|
Эстрадный
|
150
|
40 -
60
|
15
|
15
|
40 -
50
|
25
|
20 -
30
|
|
Литературный
|
-
|
-
|
-
|
-
|
20
|
15
|
10 -
20
|
|
Сборный
|
150
|
40 -
60
|
15
|
15
|
50
|
25
|
20 -
30
|
Приложение
3
В репертуаре концертных залов
преобладают эстрадные программы, составляя до 3/4 от
общего числа концертов в год. Второе место принадлежит камерным концертам.
Внутри каждого вида концерта присутствуют программы разной степени
популярности. Концертных программ с высокой степенью популярности всегда во
много раз меньше, чем низкой.
Концертная деятельность
складывается из административно - организационной и творческо-исполнительской.
Организацией концертов в основном занимаются республиканские, областные и
городские филармонии (Московская государственная академическая филармония,
Москонцерт и др.) Появились частные организации, например, эстрадно-зрелищная
компания «Российские гастроли». Структура филармоний весьма разнообразна: одни
объединяют большое число художественных коллективов, другие их вообще не имеют
и занимаются лишь организацией концертов гастрольных коллективов.
В функции филармонии входит
организация концертов местных и гастрольных художественных коллективов на
собственных, арендованных, а также ведомственных и прочих площадях (в клубах,
театрах, концертных залах, учебных заведениях и т.д.), заключение контрактов,
финансовые расчеты с художественными коллективами, распространение билетов,
абонементов, а также создание афиш, утверждение программ и организация
временных бригад.
Основные исполнители
концертных программ делятся на постоянные художественные коллективы и временные
бригады. Состав временных бригад и их численность нестабильна. Бригады
смешанного вида объединяют артистов разных жанров, в основном, эстрадного.
Концертные коллективы подготавливают одну - две программы в год и с ними
выступают на различных концертных площадках. Концертные коллективы находятся на
гастролях до 8 месяцев в году. Продолжительность гастролей в одном городе 1 - 5
дней (исключение составляют мюзик-холлы - они гастролируют в одном месте не
менее месяца).
Площадки для гастролей
выбираются в соответствии с масштабностью программы (ожидаемого сбора
посетителей на одну демонстрацию программы). Подготовка и разучивание
концертных программ проводится в стационарах, где концертные коллективы
репетируют ежедневно. На гастролях репетиции, в основном, проводятся на
демонстрационных площадках залов.
Приложение
4
Современная ситуация
характеризуется экспертами как снижение спроса на концертные зрелища более чем
в два раза из-за отсутствия временных, финансовых ресурсов или того и другого у
населения.
При разработке новых типов
концертных залов для Москвы ставилась задача повышения социально-культурного и
экономического эффекта от их использования. Социальный эффект, заключается в
внедрении более широкой палитры зрительных залов. Разнообразие зрительных залов
будет способствовать притоку новых концертных программ, развитию музыкального
творчества, удовлетворит дифференцированные интересы различных социальных групп
и повысит уровень их культуры.
Социальные группы с дефицитом
временного ресурса посещают концерты при условии: престижности, отличных
условий для восприятия, комплексные программы типа кабаре (зрелище с застольем,
танцами или разыгрыванием лотерей);
Социальные группы с дефицитом
финансов посещают интересующие программы при снижении стоимости билетов, мирясь
с элементами дискомфорта (галерка или присоединенные к залу свободные
пространства без кресел). Второй вариант - небольшой зал-кабаре, но без
застолья (одни зрители сидят, другие стоят и могут танцевать). Здесь также
проводятся вокальные и танцевальные конкурсы. Третье решение - крупный
многоцелевой зал (концертный + видео, репетиционный или выставочный зал, кафе)
с возможностью трансляции концерта на видео экраны в перечисленных
сопутствующих помещениях.
Для социальных групп с
отсутствием финансовых и временных ресурсов возможны лишь периодические
благотворительные программы.
В настоящее время в Москве
отдается предпочтение развлекательным программам с постановочным оформлением
сцены-эстрады, на которых можно прокатывать и театральные программы эстрадного
жанра (театр эстрады).
Приложение
5
Пределы размеров площадок для
филармонических концертов и программ народных ансамблей вряд ли будут
существенно меняться в силу акустических ограничений и установившихся традиций,
а процентное соотношение между коллективами разной категории может колебаться в
определенных пределах.
С хореографическими
программами дело обстоит несколько иначе. Пока пластическое исполнение идет в
сопровождении «живой» музыки (оркестра) увеличение зоны действия танцев
существенно измениться не может, т.к. здесь важен физический фактор - слишком
большое удаление танцоров от источника звука нарушает синхронность действия. А
использование звукозаписи в качестве аккомпанемента целесообразно лишь при
выступлениях в крупнейших спортивно-концертных залах. Долевое соотношение
программ тоже вряд ли существенно изменится. Могут измениться лишь пропорции
зоны действия, если программы будут ориентироваться на площадки типа цирковой
арены.
Рекомендации, приведенные в
книге «Концертные залы» [3.1] по определению размеров игровых площадок для
филармонических, хореографических концертов, выступлений народных ансамблей,
можно оставить без изменений. В эстрадных постановочных концертных программах
уже произошли существенные изменения. Появление крупных зрелищных залов,
насыщенных современной звукоусилительной и постановочно-осветительной
аппаратурой вызвало к жизни новую форму эстрадного жанра - шоу-представления, в
котором задействовано большое число исполнителей инструментальной и
пластической природы при ограниченном или единичном числе вокалистов. Быстрый
рост эстрадных коллективов, создающих и реализующих шоу-программы,
свидетельствует о том, что формируется, возможно, самостоятельный вид концерта.
Это направление в эстраде будет развиваться и расширяться, а, следовательно,
требовать широкую сеть концертных залов для реализации своих программ,
специфику, которой еще предо тат изучить.
Стремление театральных
постановщиков к совершенству исполнения привело к разделению исполнителей и
зрителей (оркестровой ямой, порталом с антрактным занавесом). Действие приняло
одностороннюю направленность, а зрительская зона - однофронтальное положение.
Такое положение закреплялось проведением концертов в театральных и клубных
залах со сценическими коробками.
С появлением универсального
концертного зала им. Чайковского, решенного единым пространством с открытой
эстрадой и устройством дополнительной площадки для оркестра в виде боковой
галереи (а не оркестровой ямы) зрители почувствовали себя участниками действия.
В театрах начали искать новые сценографические формы и освобождаться от
громоздких декораций, а в концертной среде до сих пор сохраняется инерция
использования декоративных задников, а порой, и бутафорской атрибутики.
Послевоенный бум
строительства концертных залов за рубежом ознаменовался поиском новых
направлений в концертной деятельности. Все крупные концертные залы решены
единым пространством с эстрадой, максимально охваченной зрительской зоной
(концертные залы Берлинской филармонии и Бетховенский в Бонне). По той же схеме
стали сооружаться и отечественные объекты (Большой зал московского
Международного Дома Музыки, летний концертный зал в Сочи).
Усилившаяся конкуренция за
зрителя (особенно с телевидением) определяет необходимость использования двух
серьезных преимуществ концертных залов: предоставление условий для общения
зрителей с «живыми» звуками, артистами, а также возможность для публичного
выражения эмоций. За рубежом, где конкуренция острее, акустика залов
настраивается на каждую программу, залы не превышают вместимость в 3000 мест
(предел для залов с естественной акустикой).
Приложение
7
7.1. Общие положения.
Концертные программы равных
жанров, также как и театральные представления, парады или спортивные
состязания, относятся к зрелищам. Наблюдатели относится к зрелищу иначе, нежели
к обыденным предметам и сценам. Эго отношение принципиального неучастия.
Зритель не помышляет присоединиться к танцевальной группе на эстраде или
вмешаться в театральный диалог. Зрелище существует в ином пространстве времени,
нежели его наблюдатель. В таблице 7.1.
показано, чем отличается зрелище от незрелища. Для зрелища человек по-новому
настраивает своё восприятие. О своем пространстве (зале) он судит объективно, а
зрелище он воспринимает как среду, которой он должен сопереживать, и её
иллюзиям - подчиняться.
Таблица
1.1.
|
№
|
Зрительное восприятие
|
|
в обыденных ситуациях
|
в ситуации зрелища
|
|
1
|
Объективное, адекватное, точное восприятие
окружения
|
Субъективное подчинение изобразительности
зрелища (пространственное восприятие плоского экрана, перспективы задника и
т.п.)
|
|
2
|
Ясное и отчетливое различение предметов
|
Несущественность ряда параметров (размера и
материала кукол), игнорирование «служебных предметов и лиц».
|
|
3
|
Правильное, абсолютное отражение величин и
дистанций
|
Погружение в сценическое действие,
преобладание относительных величин
|
|
4
|
Избегание иллюзий
|
Принятие условностей, погружение в иллюзии
|
Вопрос о качестве видимости в концертном зале нельзя решить анализом
физиологических пороговых возможностей глаза - остроты зрения, поля зрения,
восприятия цвета и т.п. Эти показатели адресуются объективным характеристикам,
адекватному восприятию мира, но ситуация со зрелищем иная. Когда выступление на
эстраде проходит при минимальной (согласно режиссуре) освещенности, резко
повышающей порог зрения, это отнюдь не создает «плохую видимость». Наоборот,
эффект сопереживания даже усиливается.
Условия видимости зрелища
отражаются специальным показателем - комфортностью восприятия (видимости) с
данного зрительского места. Субъективное чувство комфортности, удобства
восприятия данного зрелища с данной позиции - это устойчивый показатель,
который практически не зависит от пристрастий зрителя и от реальных колебаний
формы данного зрелища (смены мизансцен, конкретных номеров,
изменения освещенности и т.д.). Каждому виду зрелища (концертному,
театральному, спортивному и т.д.) отвечают зоны разной комфортности восприятия
(видимости) - от «очень удобно», до - «очень неудобно». Реальные параметры
зала, пересекая эти зоны, определяют в плане и разрезе группы мест разного
качества видимости. Настоящие рекомендации основаны на исследовании условий
видимости в залах разного назначения (1980 - 1990-х г.г.), проведенных Е.
Гаклиной, В. Ивановым и М.Р. Савченко (руководитель темы), и основываются на
критериях комфортной видимости.
7.2.
Специфика видимости в концертных залах.
Концертные программы более
разнообразны, чем театральные, спортивные и иные зрелища. В их состав могут
входить фрагменты театральных мизансцен, балета, цирка, спортивных выступлений,
выступления народных коллективов (танцы, хоры). И специфически концертные
номера - филармонические концерты, конферанс, фокусы и т.д. и т.п.
Практика и история
проектирования концертных залов демонстрирует исключительное разнообразие их
структуры - от традиционного театрального планшета с партером и до открытой
эстрады, окруженной амфитеатром. Вместимости концертных залов колеблются от
сотен до нескольких тысяч зрителей. Обследования концертных залов в натуре
показали, что качество мест (величины зон разной комфортности) зависят от
заданной вместимости зала. Чем больше вместимость зала, тем относительно дальше
можно сидеть, соблюдая вполне комфортное качество видимости.
Выявлено, что если зрители
расположены в относительно плоском партере, то места по оси зала не являются
самыми лучшими. Зрители предпочитают смотреть на эстраду несколько сбоку, что,
по-видимому, усиливает перспективу. Зрители сохраняют комфортное восприятие в
пределах входящего в портал угла гораздо большего, чем 30º, традиционного
для нормирования театра. Зоны разного качества входят друг в друга, образуя
форму бабочки (рис. 4.6.1.). Экспериментально зафиксировано, что
допустимый объем загораживания зрелища передними головами в концертном зале
может быть больше, чем в театре.
Самым сложным жанром
концертного зрелища, является «смешанный концерт», в котором представлены
выступления разного характера: от художественного чтения и игры
филармонического оркестра до театральных мизансцен и спортивного показа. Данные
рекомендации предназначены именно для этого, ведущего типа концерта. Поэтому
основным типом концертной площадки принята открытая эстрада, выходящая в зал.
Вместимость зала принята от 100 до 3000 человек. Эти допущения покрывают более
70 % всех возможных вариантов использования зала. При проектировании уникальных
по вместимости и специализированных концертных залов необходимо обратиться к
консультациям специалистов.

Рис. 7.1 Зоны комфортности для
смешанных концертов («Зеленый театр», Сокольники).
I - высоко комфортная видимость («5»), II - комфортная видимость («4»), III - допустимо комфортная видимость («3»).
7.3.
Требования к размещению зрителей.
Первое требование состоит в
создании комфортных условий расположения зрителей перед концертным зрелищем.
Разные группы мест в зависимости от своего положения перед эстрадой имеют
разное качество.
Второе требование состоит в
создании комфортных условий при загораживании зрелища передними головами и
конструкциями зала. В зависимости от взаимного расположения мест они
обеспечивают разную меру комфортного восприятия.
Требования к «качеству
расположения» и к «качеству загораживания» отображаются построением
соответствующих зон в пространстве перед эстрадой. Эти объемные зоны
демонстрируют «функциональную форму» зала, где архитектор должен спроектировать
реальную форму (в планах и разрезах), которая несет на себе границы зон
качества.
Если «условия расположения» и
«условия загораживания» получают разные оценки комфортности, то данное место
имеет наименьшую из двух оценку.
Иные требования к залу, в том
числе акустические, не могут отменить требований комфортной видимости.
Видимость определяется исключительно взаиморасположением эстрады и зрительских
мест, но не формой ограждений зала, столь важной для акустики. В общем случае
проектировщик должен стремиться к оптимальному компромиссу.
Приложение 8.

1 - большой и малый концертные залы, 2 -
театрально-концертный зал и летний театр, 3 - площадь Искусств, 4 -
кассовый павильон, 5 - парадная эспланада.
ММДМ расположен на южной оконечности острова
между Москвой-рекой и Водоотводным каналом. С северо-запада участок примыкает
к Садовому кольцу, от которого парадная эспланада ведет к главному входу в
Большой концертный зал. Под круглой площадью Искусств - подъезд к комплексу
концертных залов на автомашинах. Со стороны Садового кольца на нижнюю площадь
ведет пассаж с магазинами.
Общая вместимость комплекса концертных и
театрально-концертного залов 2800 - 3050 зрителей, летнего театра - 700 - 800
зрителей. Кроме того, в комплексе включена студия звукозаписи, выставочный зал,
музыкальный магазин, ресторан на 100 посад. мест.
Рис. 1. Комплекс Московского
Международного Дома Музыки на Красных Холмах (ММДМ), Москва, 2003 г.
Генеральный план.
Арх. Ю. Гнедовский, В.
Красильников, Д. Солопов, М. Гаврилова, С. Гнедовский, инж. С. Белов, И.
Кузнецова.

Разрез по сцене и амфитеатру
большого и театрально-концертного залов и поперечный разрез зала камерной
музыки:
1 - большой зал, 2 - зал
камерной музыки, 3 - театрально-концертный зал, 4 - летний театр
Над сценой - отражающий звук козырек. При
концертах органной музыки пространство за козырьком при помощи
подъемно-опускных щитов включается в объем зала, увеличивая объем на 1 зрителя
с 10 до 11 куб. м. Поверхность купола расчленена горизонтальными плоскостями со
звуковыми рассекателями. Амфитеатр способствует отражению звука в партер.
Барьеры балконов выпуклой формы рассеивают звук. Облицовка стен и козырька из
массива сибирской лиственницы толщиной 2,5 см способствует хорошей акустике
Рис. 2. Комплекс ММДМ. Разрез А - А.

1 - аванвестибюль, 2 - эскалатор, 3 - подъезд автомашин
Разрез по главным входам в Большой зал и зал
камерной музыки, поперечный разрез Большого зала. Аванвестибюль связан со всеми
тремя залами. Эскалатор ведет из вестибюля зала камерной музыки в вестибюль
Большого зала.
Основной несущий каркас (колонны, стены,
перекрытия) - монолитный железобетон; при больших пролетах в перекрытиях
применены стальные балки. Фундамент - сплошная железобетонная плита. Балконы
Большого зала - на железобетонных консольных балках вылетом до 7 м, заделанных
в колонны каркаса. Купольное покрытие Большого зала - диаметр 50 м - из
стальных криволинейных ферм, опирающихся по контуру на железобетонное кольцо
шириной 3 м; в центре купола фермы объединены стальным кольцом. Для устранения
возможных вибраций от движения транспорта концертные и репетиционные залы
отделены от подземной части специальными резино-металлическими
виброизоляторами.
Рис. 3. Комплекс ММДМ. Разрез Б - Б.

А. Первый этаж (отм. 0,000), 1 - зал камерной
музыки, 2 - театрально - концертный зал, 3 - студия звукозаписи, 4 -
служебный вход
Б. Второй этаж (отм. 3,900), 5 - кассовый
вестибюль
В. Третий этаж (отм. 7,800), 6 - администрация
Рис. 4. Комплекс ММДМ. План цокольных этажей

А. - План на уровне эстрады, партера и
амфитеатра, 1 - места для хора, 2 - орган
Б. - План на уровне бельэтажа и балконов,
3 - артистические уборные
Вместимость Большого зала 1800 мест, объем
зала - 10 куб. м на одного зрителя. Глубина зала около 30 м, перепад
первых и последних рядов амфитеатра около 10 м.
Рис 5. Комплекс ММДМ. Большой зал. Планы.

А - Продольный разрез I-I
Б - План на уровне эстрады и вестибюля, 1 -
эстрада с органом на задней окне,
2 - входной вестибюль
В - План на уровне балкона и фойе, 3 - ложи
балкона, 4 фойе-кулуар, 5 - игровой свет
вестибюля
Зал камерной музыки расположен в цокольном
этаже под Большим залом. Вместимость зала 600 мест, высота около 11 м. Перепад
первого и последнего ряда амфитеатра 3,6 м. Потолок - сочетание деревянного
акустического подвесного потолка над эстрадой и плоского потолка над зрительным
залом с овальным кессоном и люстрой в центре
Рис. 6. Комплекс ММДМ. Зал камерной музыки.

1 - места хранения передвижных площадок.
Вместимость
театрально-концертного зала при основном варианте 678 мест (средняя - 500 - 550
мест). Зал расположен в отдельном блоке с самостоятельным входом и помещениями,
обслуживающими сцену. На его плоской кровле расположен летний театр, вмещающий
до 700 - 800 зрителей. Предусмотрена система трансформации партера и сцены; в
зависимости от вида действия вместимость колеблется, в среднем, от 400 до 650
мест. Потолок - решетчатый, что позволяет подвешивать декорации в любом месте
зала и сцены.
Рис. 7. Комплекс ММДМ. Театрально-концертный зал. Основной
вариант.

А - Вариант 2 - вместимость 566 мест. Партер
отделен от сцены занавесом; четко выделена авансцена. 1 - места хранения
передвижных площадок, 2 - занавес
Б - Вариант 3 - вместимость 421 место. 3 -
боковая сцена выдвинута в партер; действие может разворачиваться и на боковых
сценах.
В - Вариант 4 - вместимость 566 мест. 4 -
подиум для показа мод; подиум может быть включен в сценическое действо.
Г - Вариант 5 - вместимость 421 место.
Возможно использование зала для общественных мероприятий, эстрадных концертов
со столиками в зале и обслуживанием из ресторана, расположенного рядом; в ложах
могут устанавливаться столики со стульями.
Рис. 8. Комплекс ММДМ.
Театрально-концертный зал. Варианты трансформации партера и сцены.
Приложение 9

А - Поперечный разрез (по залу) 1 - 1; Б -
Продольный разрез 2 - 2.
Рис. 1. Многофункциональный
театрально-концертный комплекс в г. Ханты-Мансийске. Разрезы.
Авторский коллектив: Главный
архитектор Пейда С.В., Главный конструктор Семенов М.Л., Главный архитектор
проекта Мамлеев О.Р. Архитекторы Басария З.Т., Каннунников М.Н., Медведев В.Н.,
Мединский О.В., Гл. консультант Великанов А.А.

А - План первого этажа; Б - План второго
этажа.
Здание включает: театрально-концертный
комплекс с большим залом на 1000 мест, малым залом на 300 мест с комплексом
обслуживающих помещений, офисы, репетиционные помещения камерного и
симфонического оркестра, клуб-ресторан и подземную стоянку на 140 машиномест.
Комплекс включает гостиницу для размещения гастрольных коллективов и проведения
учебных мероприятий и мастер - классов. Сцена (18×24×21) позволяет
проводить гастроли практически любого театра. Верхняя механизация: штанкетные и
индивидуальные подъемы, горизонты, софиты. Нижняя механизация:
подъемно-опускной оркестр, поворотный круг диаметром 11,5 метра. Предусмотрена
возможность трансформации зрительного зала с помощь подъемных перегородок. Для
проведения балов запроектировано выравнивание уровня пола партерной зоны с
демонтажем или трансформацией зрительских мест.
Рис 2. Многофункциональный театрально-концертный комплекс
в г. Ханты-Мансийске. Планы этажей.

А - Разрез 1 - 1
Б - План.
Общая вместимость 700 мест.
Филармония расположена в формирующемся центре
города, у городского парка, на берегу Виры, на городской площади, террасами
поднимающейся к главному входу. Зрительская, артистическая и технологическая
группы помещений объединены в асимметричную объемно-пространственную
композицию. Молодежное кафе на 200 мест имеет эстраду и танцевальную площадку.
Кафе и концертный зал могут использоваться вместе для заседаний и празднеств. В
здании размещается музей Строительный объем 3917,8 м
Рис. 3. Филармония с концертным залом
на 500 мест в г. Биробиджане, 1984 г.
Гипротеатр. Авторы: Л.
Агафонов, В. Веселов, Г. Солопов, при участии А. Фроловой; инж. Ю. Гуров, И.
Герасимов, А. Корпим, П. Муравьева.

А. Разрез 1 - 1.
Б. План на уровне партера, 1 - зрительный зал,
2 - фойе, 3 - буфет, 4 - карман, 5 - президиум, 6 - артистические, 7 -
помещения перед выходом на сцену.
Общая вместимость 1200 мест, из них на балконе
- 240.
Концертный зал размещен на высоком берегу
Тобола в составе парка. Схема здания традиционно зрелищная - осевая. Зал
предназначен для всех видов концертов, собраний и гастролей театров.
Рис. 4. Концертный зал в г. Кургане. Разрез 1-1, план
этажа.
ЦНИИЭП комплексов и зданий культуры, спорта и управления им. Б.С.
Мезенцева, авторы: архитектор А. Горшков; инженеры М. Зимелихина, Д. Волов.

В. План на уровне входа, 1 - вестибюль, 2 -
гардероб, 3 - санузел, 4 - оркестровая яма, 5 - склады и костюмерные, 6 -
буфет, 7 - администрация, 8 - помещения оркестра.
Г. План на уровне балкона, 1 - зрительный зал,
2 - фойе балкона, 3 - буфет, 4 - репетиционные залы, 5 - музыкальные классы
филармонии.
Оркестровая яма закрывается щитами. Рабочая
площадь - 5200 м2, строительный объем 50210 м3
Рис. 5. Концертный зал в г. Кургане. Планы

А. План на уровне нижнего балкона, 1 -
концертный зал, 2 - места для хора, 3 - театральный зал.
4 - сценическая коробка театра.
Б. Продольный разрез концертного зала, 5 -
трансформируемый акустический потолок над оркестром.
Вместимость 2500 мест.
Потолок - ступенчатые отражающие звук
плоскости.
Рис. 1. Королевский концертный зал
в Ноттингеме, Великобритания, 1982
г. Арх. Ректон, Ховард, Вуд, Левин.

А. План на уровне партера, 1 - большой зал, 2
- места для хора, 3 - артистические уборные, 4 - малый зал, 5 - фойе, 6 - буфет
Б. План на уровне балкона, 7 - орган
В. Продольный разрез
Вместимость большого зала 950 мест, малого 220
мест. Потолок - мягко выгнутые поперечные плоскости, рассеивающие звук.
Рис 2. Концертный зал филармонии в
Остраве, Чехия. 1980-е годы. Архитектор И. Климеч.

А. План. 1 - орган. 2 - разделяющий занавес
Б. Продольный разрез. 3 - трансформируемый
подиум.
Вместимость
зала 1700 мест.
Форма зала продиктована формой участка.
Расходящиеся от подиума стены ослабляют эффект боковых отражений. На стенах
вертикальные офанерованные панели со щелями, их поверхности параллельны
продольной оси зала; на задней стене - треугольные панели, рассеивающие звук.
Потолок - поперечные балки, рассеивающие звук. Оркестровый подиум можно
трансформировать, меняя ориентацию оркестра на ту или другую сторону.
Треугольную часть зала можно отделить занавесом.
Рис. 3. Концертный зал в Осло. Норвегия. 1977 г.

А - Разрез 1-1, Б - план второго этажа.
Главной зрительской зоной является большой зал-амфитеатр
на 1700 мест с центрально расположенной сиеной, благодаря чему обеспечивается
великолепная видимость, что не менее важно, чем высокие требования к акустике;
в большой зрительный зал можно войти через 25 входов. По периметру зала
устроено 8 лестничных клеток. Планировка амфитеатра (более характерная для
театра, нежели для концертного зала) позволяет исполнять различные виды
музыкальных произведений. Существует возможность опускания планшета сцены до
уровня пола, что позволяет проводить цирковые представления. В зале
предусмотрено полноценное театральное освещение на основе светильников,
подвешенных к колосникам. Обширный купол верхнего света позволяет проводить
репетиции и дневные концерты при естественном освещении.
Рис. 4. Музыкальный центр «Вреденбург»
в г. Утрехте (Нидерланды), 1979 г.
Архитектор: Херман
Хертсбергер (Hermann Hertzberger) г. Амстердам.

Это принципиально не
завершенное сооружение. Музыкальный центр рассматривается как переход от
старого городского ядра к новому торговому центру. Сам музыкальный центр дополнен учреждениями: магазинами, информационным центром, конторами,
двумя ресторанами Образ сооружения не столько «храм музыки», сколько
«музыкальный магазин». Имеется, кроме того, малый зал на 300 мест
Зона фойе представляет собой конгломерат небольших помещений разных по отделке
и выполнению. В здании 10 буфетов, что поможет равномерно обслуживать зрителей.
Принципиально предусмотрено большое число малых зон и помещений вместо
крупногабаритных площадей.
Рис. 5. Музыкальный центр
«Вреденбург» в г. Утрехте План первого этажа.

А - план первого этажа, Б - разрез по большому
залу.
Вместимость центра - 1590 мест.
Большой зал - на 650 - 950 мест.
Культурный центр - многофункциональное
зрелищно-общественное сооружение, расположенное в центре города с 80 тыс.
жителей.
Вокруг театрального ядра с трансформируемой
для торжеств центральной сценой группируются помещения разнообразного
назначения (частично стационарные), также трансформируемые с применением
передвижных перегородок. Одни зоны приближены к ресторану с блоком кухни и
хозяйственным входом; другие ориентированы также на самостоятельные входы и
внутренние коммуникации.
Таким образом, были организованы помещения на
10, 30, 50, 100, 200, 250, 650-950 посетителей и обслуживающего персонала
Рис. 6. Дом Культуры в г. Люденшейд (Германия), 1978 -
1981.
Проектная группа Гутброт -
Биллинг - Хеннинг - Питерс - Руфф, г. Штутгарт

Схемы трансформации пространства при различных
режимах:
1. театральном,
2. концертном,
3. студийном,
4. конгресса,
5. фестивальном,
6. праздничном.
Для спектакля используется сцена, для концерта
- эстрада, приближенная к зрителям. Студийные занятия происходят на сценической
площадке.
Рис. 7. Дом Культуры в г. Люденшейд. Схема трансформации.

А - план;
Б - разрез.
Хорошая слышимость достигается объемно -
планировочными средствами: размещением большого числа зрителей на балконах,
увеличением доли прямого звука и первых звуковых отражений пластикой ограждения
балкона. Потолки выполнены из деревянных ячеистых панелей. Стены зала
облицованы деревянными панелями.
Рис. 8. Универсальный концертный
зал в г. Кардифф. Великобритания, 1982 г.
Архитектурное бюро Сеймон
Харрис и партнеры. Руководитель проекта - Вертон Грофтс. Консультации по
акустике - Санди Браун Ассошиейтс.

А - план на уровне сцены; Б - план на уровне
амфитеатра; В - план на уровне балконов.
Рис. 9. Универсальный концертный
зал в г. Кардифф. Планы.

А - План полуподвального этажа, Б - План
подземного этажа, Г - Поперечный разрез (по залу).
Вместимость: 199 мест.
Зал камерной музыки расположен на углубленном
участке, раньше служившим Двором, рядом со сквериком, принадлежавшем лому
Бетховена, имея форму компактного амфитеатра, наподобие театра Олимпико
Палладио. Акустика зала рассчитана специально для камерных концертов. Стены
концертного зала покрыты древесиной швейцарской Туши, ниша эстрады отделана
плитами из итальянского мрамора, а потолок выкрашен в Цвет синего ночного неба.
Рис. 10. Бетховенский архив и зал
для исполнения камерной музыки в Бонне, 1988 г.
Авторы проекта: Томас ван ден
Валентин, Клаус Мюллер. Освещение: Х.Т. фон Малотки; Акустика: инж. Гранер, Г.
Трюмпер.

А - План первого этажа,
Б - План подземного этажа.
Общая вместимость более 8000 мест
Помимо концертного зала на 2200 мест комплекс
включает универсальный выставочный зал с возможностью размещения 3000 зрителей,
камерный зал на 750 мест, конгресс холл на 1500 мест, малый зал на 300 мест и др.
Всего комплекс включает 11 залов.
Рис. 11. Концертные залы в составе
общественного центра. Великобритания. Бирмингем.
Проект архитектурной акустики
выполнен фирмой «Артек», инженер Рассел Джонсон.

В концертном зале выполнена система
акустической настройки, аналогичная примененной в Люцерне, т.е. выполнены
камеры реверберации объемом до 30 % от общего зала. Для изменения акустической
характеристики зала, помимо указанных камер, в зале устроены раздвижные системы
- ширмы со звукопоглощающими панелями; звукоотражающий потолочный экран,
опускающийся до высоты 10 м, при максимальной высоте зала 22 м. За верхними
ярусами расположены подъемно-опускающиеся стены, за которыми находятся камеры
реверберации. Вес каждой стены 7000 кг.
Орган имеет 81 регистр. На сцене применена
система откатывающихся станков - трибун для размещения на них оркестра и хора.
Для хранения станков предусмотрено специальное помещение за сценой,
используемое одновременно в качестве накопителя для музыкантов. По наблюдениям,
принятая система приводит к значительному увеличению площадей.
В зале выполнена система кондиционирования.
Подача подогретого и увлажненного воздуха производится сверху вниз из отверстий
в ограждении балконов. Камеры кондиционирования и холодильные установки
вынесены за пределы строительного объема зала.
Рис. 12. Симфонический концертный зал в составе
общественного центра. Великобритания. Бирмингем.

А - План конференц-зала (концертного) № 4 (на
300 мест);
Б - План концертного (конференц) зала.
Рис. 13. Концертный и коцференц -
залы в составе общественного центра. Великобритания. Бирмингем.

А - План концертного зала на уровне партера
Б - План концертного зала на уровне ярусов
В - Продольный разрез.
Вместимость 2812 мест, максимальное удаление
от красной линии сцены - 107 футов. Стены - бетон, конструкция перекрытия -
типа «велосипедное колесо». В центре зала волоконно-оптическая люстра,
выполненная художником Мари Руссо-Верме.
Рис. 14. Концертный зал в г. Торонто, Канада. Арх. А.
Эриксон. 1982 г.