iso
Карта сайта Распечатать

Кран козловой

Кран мостовой

Кран консольный

Кран-балка подвесная

Кран-балка опорная

Кран-балка ручная

Доставка

Монтаж

Экспертиза

 
 
ОАО Набережночелнинский крановый завод
RU EN
НЧКЗ - производство мостовых опорных кран-балок, козловых кранов опорных кранов мостовых подвесных и консольных кранов крупногабаритные грузоперевозки по России и СНГ, перевозка негабаритных грузов в любую точку страны монтаж грузоподъемного оборудования, реконструкция и модернизация грузоподъемных механизмов, капитально-восстановительный, текущий ремонт грузоподъемных механизмов и крановых путей,Монтаж  и пуско-наладка грузоподъемных механизмов Экспертиза промышленной безопасности, в том числе отработавших нормативный срок службы, грузоподъемных машин (экспертное обследование и техническое диагностирование) проводится с выездом экспертной группы в организацию (предприятие) владельца крана
ar
ar1
ar2
ar3
ar4
ar5
ar5
ar6
Библиотека
Наши партнеры



Календарь
ОТДЕЛ ПРОДАЖ
Отправить запрос:

e-mail: zapros@nchkz.ru

тел: 8-800-200-74-69

тел: (8552)74-69-00


Случайное фото

Схема проезда

Схема проезда НЧКЗ - нажмите для увеличения!

Бесплатная библиотека нормативной документации

В данном разделе размещена информация справочного характера, предоставленная открытыми источниками.
Компания не занимается реализацией и сопровождением товаров и услуг не связанных с производством и обслуживанием грузоподъёмных механизмов.
РД 03112194-1094-03 «Руководство по организации эксплуатации газобаллонных автомобилей, работающих на сжиженном нефтяном газе»

Министерство транспорта Российской Федерации
Департамент автомобильного транспорта

ФГУП НИИАТ

Руководство по организации эксплуатации
газобаллонных автомобилей, работающих на
сжиженном нефтяном газе

Руководящий документ

РД 03112194-1094-03

Взамен Р 3112199-0305-89 и

Срок действия с 01.01.03

Р 3112199-0306-89

до 01.01.08

Москва 2003 г.

Министерство транспорта Российской Федерации
Департамент автомобильного транспорта
ФГУП НИИАТ

 

УТВЕРЖДАЮ
Руководитель Департамента
автомобильного транспорта
Минтранса России
_______________А.Б. Пинсон

«___»_________________2002 г.

 

Руководство
по организации эксплуатации газобаллонных автомобилей,
работающих на сжиженном нефтяном газе

Руководящий документ
РД 03112194-1094-03

Взамен Р 3112199-0305-89 и

Срок действия с 01.01.03

Р 3112199-0306-89

до 01.01.08

 

 

Начальник отдела
сертификации
и ПТП Департамента
автомобильного транспорта
____________А.И. Кузнецов
«____»_______________2002

 

Первый заместитель
Генерального
директора НИИАТ
_____________Л.Я. Рошаль
«____»_____________2002 г.

Москва 2002 г.

Разработан: Федеральным государственным унитарным предприятием «Государственный научно-исследовательский институт автомобильного транспорта» (НИИАТ), Департаментом автомобильного транспорта Министерства транспорта Российской Федерации.

Настоящий руководящий документ разработан взамен Р 3112199-0305-89, Р 3112199-0306-89 и касается организации работ по техническому обслуживанию и эксплуатации газобаллонных автомобилей и автобусов, в конструкции которых используется новое поколение газовой аппаратуры, предназначенной для использования в качестве моторного топлива - сжиженного нефтяного газа (ГСН).

В работе были использованы материалы любезно предоставленные МАДИ (ГТУ), ЗАО «Автосистема», ННПФ «Мобильгаз», НПФ «САГА» и другими организациями, а также опыт эксплуатации газобаллонных автомобилей на ГСН в системе общественного и индивидуального транспорта.

Руководство предназначено для руководящих, инженерно-технических работников, обслуживающего и водительского персонала, связанных с техническим обслуживанием и эксплуатацией автомобилей на ГСН; освидетельствованием автомобильных газовых баллонов для сжиженного нефтяного газа; с необходимой реконструкцией технической базы или мест хранения газобаллонных автомобилей на ГСН, обеспечивающих безопасные условия для обслуживающего персонала и oxpaнy окружающей среды.

СОДЕРЖАНИЕ

ВВЕДЕНИЕ

1. КОНСТРУКТИВНЫЕ СХЕМЫ И ТЕХНИКО-ЭКСПЛУАТАЦИОННЫЕ ПОКАЗАТЕЛИ АВТОМОБИЛЕЙ, РАБОТАЮЩИХ НА СЖИЖЕННОМ НЕФТЯНОМ ГАЗЕ, ВЫПУСКАВШИХСЯ АВТОМОБИЛЬНОЙ ПРОМЫШЛЕННОСТЬЮ В 1975 - 1992 г.г.

1.1.Малотоннажные грузовые автомобили

1.2. ГРУЗОВЫЕ БОРТОВЫЕ АВТОМОБИЛИ

1.3. СЕДЕЛЬНЫЕ ТЯГАЧИ

1.4. АВТОМОБИЛИ – САМОСВАЛЫ

1.5. АВТОБУСЫ

1.6 ЛЕГКОВЫЕ АВТОМОБИЛИ

2. СЖИЖЕННЫЙ НЕФТЯНОЙ ГАЗ КАК МОТОРНОЕ ТОПЛИВО ДЛЯ АВТОТРАНСПОРТНЫХ СРЕДСТВ

2.1. ГОСТы на сжиженные нефтяные газы

2.2. Нормы расхода сжиженного нефтяного газа для автотранспортных средств

3. КОНСТРУКТИВНЫЕ ОСОБЕННОСТИ ГАЗОБАЛЛОННОГО ОБОРУДОВАНИЯ ГБА, РАБОТАЮЩИХ НА ГСН.

3.1. Комплектность газобаллонного оборудования для ГСН и эксплуатационные требования к нему.

3.2. Принципиальные схемы газобаллонных установок.

3.3. Баллоны автомобильные для ГСН

3.4. Инжекторные системы подачи газового топлива.

4. ОСОБЕННОСТИ ЭКСПЛУАТАЦИИ ГБА, РАБОТАЮЩИХ НА ГАЗЕ СЖИЖЕННОМ НЕФТЯНОМ

4.1. Регулировка холостого хода.

4.2. Регулировка экономайзера.

4.3. Регулировка дозатора газа.

4.4. Пуск двигателя на газовом топливе.

4.5. Остановка двигателя.

4.6. Перевод двигателя с одного вида топлива па другой.

5. ОРГАНИЗАЦИЯ ТЕХНИЧЕСКОГО ОБСЛУЖИВАНИЯ И ТЕКУЩЕГО РЕМОНТА ГАЗОБАЛЛОННЫХ АВТОМОБИЛЕЙ, РАБОТАЮЩИХ НА ГСН

5.1. Режимы технического обслуживания и текущего ремонта газовой аппаратуры

5.1.1. Виды, периодичность и нормы затрат на техническое обслуживание и ремонт газовой аппаратуры

5.1.2. Слив сжиженного нефтяного газа из газового баллона

5.2. Нормативные требования к организациям технологических процессов хранения, обслуживания и эксплуатации газобаллонных автомобилей на ГСН

5.2.1. Пост проверки герметичности газобаллонного оборудования

5.2.2. Пост слива газа

5.2.3. Пост дегазации баллонов

5.2.4. Участок (помещение) для хранения дегазированных порожних баллонов ГСН

5.2.5 Открытая площадка для хранения ГБА

5.2.6. Требования к площадке для размещения передвижных газозаправшиков ГСН

5.2.7. Определение «свободного» и «расчетного» объемов помещений для ТО, ТР и хранения ГБА на ГСН. Общие положения.

5.2.8. Посты ТО-1, ТО-2, ТР, диагностики (Д) для ГБА на ГСН

5.2.9. Системы автоматического контроля газовой среды помещений

5.2.10. Участок для проведения ТО и ремонта ГБА на ГСН

5.2.11. Помещения для хранения ГБА на ГСН

5.2.12. Помещения для мойки ГБА

6. ТЕХНОЛОГИЧЕСКОЕ ОБОРУДОВАНИЕ ДЛЯ ПРОВЕДЕНИЯ ДИАГНОСТИРОВАНИЯ, ТО И ТР ГАЗОВОЙ АППАРАТУРЫ

6.1. Установка передвижная для проверки газовой аппаратуры ГБА, мод. К-277.

6.2. Стенд для проверки газовой аппаратуры газобаллонных автомобилей, мод. К-278

6.3. Пост для текущего ремонта газовой аппаратуры, мод. Р-991.

6.4. Стенд для проверки и регулировки газовых редукторов низкого давления «Автоэко»

6.5. Универсальный стенд для проверки и регулировки газовой аппаратуры, мод. ИС-001

6.6. Переносной стенд для проверки газовой аппаратуры НПФ «САГА»

6.7. Течеискатель горючих газов ТИГ-2

6.8. Комплект инструмента для ТО и ТР газовой аппаратуры, мод. И-139

7. СРЕДСТВА И ПОРЯДОК ЗАПРАВКИ БАЛЛОНОВ АВТОМОБИЛЕЙ СЖИЖЕННЫМ НЕФТЯНЫМ ГАЗОМ

7.1. Автомобильная газозаправочная станция.

7.2. Блочно - комплектные станции для ГСН.

7.3. Передвижные газозаправщики.

7.4. Основные операции при заправке сжиженным нефтяным газом.

8. КОНТРОЛЬ (ИСПЫТАНИЯ) ГАЗОТОПЛИВНОЙ СИСТЕМЫ ПИТАНИЯ НА ГЕРМЕТИЧНОСТЬ

8.1. Подготовка ГБТС к испытанию газотопливной системы питания.

8.2. Проверка газовой системы питания на герметичность.

9. ОСВИДЕТЕЛЬСТВАВАНИЕ АВТОМОБИЛЬНЫХ ГАЗОВЫХ БАЛЛОНОВ ДЛЯ ГСН.

9.1. Общие положения.

9.2. Технические требовании к баллонам при их освидетельствовании и правила приемки и выдачи баллонов.

9.2.1. Технические требования к баллонам, при их приемке на освидетельствование.

9.2.2. Правила приемки баллонов па освидетельствование.

9.2.3. Технические требования к баллонам, выпускаемым после освидетельствования.

9.2.4. Правила выдачи баллонов заказчику.

9.3. Функциональная схема и последовательность операций при освидетельствовании баллонов.

9.4. Производственная структура и оборудование пункта.

10. ТРЕБОВАНИЯ ТЕХНИКИ БЕЗОПАСНОСТИ ПРИ ЭКСПЛУАТАЦИИ ГАЗОБАЛЛОННЫХ АВТОМОБИЛЕЙ, РАБОТАЮЩИХ НА ГСН

10.1. Общие требования.

10.2. Требования техники безопасности для водителей газобаллонных автомобилей.

10.3. Требования безопасности для технического персонала при обслуживании и ремонте газовой аппаратуры.

10.4. Правила безопасности при заправке автомобилей сжиженным нефтяным газом.

Приложение 1. Предприятия и организации, выпускающие автомобильный подвижной состав, работающий на газовом топливе

Приложение 2. Технологическое оборудование для технического освидетельствования автомобильных газовых баллонов для ГСН.

ОБОЗНАЧЕНИЯ
принятых в тексте сокращений и их расшифровка

1. АГЗС - автомобильная газозаправочная станция.

2. АТС - автотранспортное средство.

3. АТП - автотранспортное предприятие.

4. АГТС - автомобильная газовая топливная система.

5. ГА - газовая аппаратура.

6. ГБА - газобаллонный автомобиль.

7. ГБТС - газобаллонное транспортное средство

8. ГБО - газобаллонное оборудование.

9. ГСН - газ сжиженный нефтяной

10. КПГ - компримированный (сжатый) природный газ.

11. КПП - контрольно-пропускной пункт.

12. НИИАТ - Государственный научно-исследовательский институт автомобильного транспорта.

13. ОГ - отработавшие газы

14. ПАГЗ - передвижной автогазозаправщик.

15. РВД - редуктор высокого давления.

16. РНД - редуктор низкого давления.

17. СО - оксид углерода.

18. СН - углеводороды.

19. ТО - техническое обслуживание.

20. ТР - текущий ремонт.

21. НКПВ - нижний концентрационный предел воспламенения.

22. ДВК - датчик довзрывных концентраций газовоздушных смесей.

ВВЕДЕНИЕ

Сжиженный нефтяной газ (ГСН) в настоящее время широко используется как моторное топливо для различных типов и групп автотранспортных средств как у нас в стране, так и за рубежом.

В настоящее время в западноевропейских странах эксплуатируется более 2-х млн. ед. ГБА на ГСН, в том числе в Италии - около 310 тыс., в Нидерландах - около 380 тыс., в Германии - более 75 тыс. В настоящее время в Германии, действует 650 станций по заправке ГСН. В 2003 году их количество должно превысить 1 тыс. единиц.

Потребление ГСН как топливо на автомобильном транспорте в 2000 году в Европе составило более 4,5 млн. т.

Широкое применение как автомобильное топливо ГСН нашел в настоящее время также в США, Канаде, Японии, Южной Корее.

В США в настоящее время эксплуатируется более 500 тыс. грузовых автомобилей на ГСН и имеется более 10 тыс. газозаправочных станций (общее количество АЗС - 160 тыс.).

В Японии в настоящее время эксплуатируется 700 тыс. ГБА на ГСН - в основном автомобили - такси и небольшие фургоны. Только в г. Токио на ГСН эксплуатируется 200 тыс. таксомоторов.

В Южной Корее сейчас эксплуатируется более 80 тыс. ГБА на ГСН, что обусловлено политикой правительства, стремящегося использовать ГСН как стандартное топливо для всех пассажирских транспортных средств.

Расширяется использование ГСН на автомобильном транспорте в Китайской народной республике.

Использование ГСН для многих стран решает как ресурсную задачу по надежному обеспечению автомобильного транспорта топливом, так и экономическую проблему, связанную с уменьшением вредного воздействия автотранспортных средств на окружающую среду.

Следует отметить, что правительства многих стран стимулируют внедрение ГБА. потребляющих ГСН. Так правительство Канады приняло программу содействия переводу автомобильного транспорта на ГСН, согласно которой предусматривалась отмена дорожного налога на ГСН (21 цент на 1 галлон топлива), а также 7%-го продажного налога на любые автомобили, работающие на ГСН. Программа предусматривает также субсидию в 400 долл. за каждый автомобиль, переведенный на ГСН.

Принята Правительственная программа по содействию развития сети газозаправочных станций ГСН, согласно которой выделено 680 тыс. канадских долл. В Канадских провинциях Онтарио, Британская Колумбия и Альберта действует система строгого лицензирования эксплуатации ГБА на ГСН. Водителям этих автомобилей запрещается заправлять и эксплуатировать ГБА без наклейки на ветровом стекле, показывающей, что его топливная система была проверена и соответствует государственным стандартам.

Компания Ford Motor первой в США начала серийно выпускать легковые автомобили Ford Granada, работающие на ГСН. В двигателях этих автомобилей степень сжатия была увеличена с 9 до 10.

В Западной Европе на ГСН широко эксплуатируются такие автомобили, как Fiat 131 Super 2000, Mercedes 200, Renault 8TL Variable, Volvo 224GL, двигатели которых имеют, соответственно: объем 1995, 1997, 1647 и 2316 куб. см.; мощность 83 кВт при 5600 об/мин, 80 кВт при 5200 об/мин, 54 кВт при 5000 об/мин,82 кВт при 5000 об/мин; степень сжатия 9.0, 9.0, 9.3, 10.3.

Многие зарубежные автомобилестроительные компании выпускают автомобили, оборудованные системами бензинового впрыска. Перевод этих автомобилей на ГСН также возможен. Так, компания Motogas (Великобритания) предложила устройство для перевода на ГСН автомобилей, оборудованных системой бензинового впрыска фирмы Bosh.

Аналогичные работы проводятся в Италии (фирмы Fiat, Tartarini), Германии (ф. Mercedes) и у нас в стране (АО «ГРИКО») и др. Эти системы в настоящее время с точки зрения улучшения экологических и топливно-экономических свойств ГБА являются наиболее прогрессивными.

За последние годы (1990 - 2001 гг.) в России были разработаны многие модели газобаллонного оборудования для ГСН для автотранспортных средств, по своим техническим и эксплуатационным показателям, в том числе экологическим, не уступающим лучшим зарубежным образцам. Большую роль в решении этой задачи внесли ряд предприятий ВПК.

Отмеченное выше обусловлено необходимостью разработки нового руководящего документа по организации эксплуатации и техническому обслуживанию ГБА, работающих на ГСН.

1. КОНСТРУКТИВНЫЕ СХЕМЫ И ТЕХНИКО-ЭКСПЛУАТАЦИОННЫЕ ПОКАЗАТЕЛИ АВТОМОБИЛЕЙ, РАБОТАЮЩИХ НА СЖИЖЕННОМ НЕФТЯНОМ ГАЗЕ, ВЫПУСКАВШИХСЯ АВТОМОБИЛЬНОЙ ПРОМЫШЛЕННОСТЬЮ В 1975 - 1992 г.г.

1.1.Малотоннажные грузовые автомобили

АВТОМОБИЛЬ ИЖ - 2715.07

Выпускался Ижевским машиностроительным заводом с 1988 г. на базе ИЖ - 2715 - 01.

Грузоподъемность, кг

450

Снаряженная масса, кг

1015

Полная масса, кг

1615

Максимальный скорость, км/ч

115

Контрольный расход газа (при работе на ГСН) при 60 км/ч, л/100 км

9.2

Объем газового баллона, полный, л

65.9

Объем заправляемого газа, л

59.0

Пробег автомобиля на одной заправке газом (по контрольному расходу), км

610

Двигатель -

базовый, мод. 4123

Степень сжатия

8.5

Система питания -

двухтопливная: ГСН и бензин АИ - 93

При работе двигателя на ГСН:

 

Мощность двигателя при n = 5800 об/мин, кВт (л.с.)

47.5 (64.7)

Крутящий момент при n =3200 об/мин, Нм

97

Остальные технические данные соответствуют показателям базового автомобиля - ИЖ -2715-01.

АВТОМОБИЛЬ УАЗ - 33032.01

Выпускался Ульяновским автозаводом с 1988 г. на базе УАЗ - 3303.

Грузоподъемность, кг

800

Снаряженная масса, кг

1760

Полная масса, кг

2710

Максимальная скорость, км/ч

100

Контрольный расход газа (при работе на ГСН) при 60 км/ч, л/100 км

15.7

Объем газового баллона, полный, л

93.2

Объем заправляемого газа, л

83.9

Пробег автомобиля на одной заправке газом (по контрольному расходу), км

505

Двигатель - УМЗ -4149.10, конвертируемый на базе дв. УМЗ - 4147 с повышенной степенью сжатия для работы на ГСН

 

степень сжатия -

8.5

Система питания - двухтопливная - основное топливо - ГСН,

 

резервное - бензин АИ - 93

 

Емкость бензобака (резервная система), л

56

При работе двигателя па ГСН:

 

мощность двигателя при n = 4000 об/мин,

 

кВт (л. с.)

61.8 (84)

крутящий момент при n = 2500 об/мин, Нм

170

Остальные технические данные соответствуют показателям базового автомобиля - УАЗ - 3303

1.2. ГРУЗОВЫЕ БОРТОВЫЕ АВТОМОБИЛИ

Автомобили ГАЗ-5207, ГАЗ-5208 и ГАЗ-5209

Выпускались Горьковским автозаводом с 1976 - 77 г.г.: бортовые автомобили ГАЗ-5207 на базе ГАЗ-5204; грузопассажирское такси ГАЗ-5209 на базе ГАЗ-5205; шасси для установки фургонов ГАЗ-5208 на базе ГАЗ-5201.

 

ГАЗ - 5207

ГАЗ - 5208

ГАЗ - 5209

Грузоподъемность, кг

2500

3000

2500

Снаряженная масса, кг

2685

2532

2875

Полная масса, кг

5335

5685

5525

Максимальная скорость при работе на ГСН, км/ч

70

65

70

Контрольный расход газа (при работе на ГСН) при 40 км/ч, л/100 км

27

28

27.5

Объем газового баллона, полный, л

151.2

190.4

151.2

Объем заправляемого газа, л

136

170

136

Пробег автомобиля на одной заправке газом (по контрольному расходу), км

480

575

470

Двигатель - ГАЗ - 5207, конвертируемый на базе двигателя ГАЗ - 5204 для работы на ГСН

степень сжатия -

7.0

7.0

7.0

Система питания - двухтопливная: ГСН и бензин А - 76

При работе двигателя на ГСН:

 

 

 

мощность двигателя при n = 2800 об/мин, кВт (л. с.)

 

54(73)

54(73)

54 (73)

крутящий момент при n = 1600 -1800 об/мин, Нм

 

196

196

196

Остальные технические данные соответствуют показателя базовых автомобилей соответственно: ГАЗ - 5204, ГАЗ - 5201 и ГАЗ - 5205.

АВТОМОБИЛИ ГАЗ - 5307

Выпускался Горьковским автомобильным заводом на базе ГАЗ - 53А в 1974 - 1984 г.г.

Грузоподъемность, кг

4000

Снаряженная масса, кг

3250

Полная масса, кг

7400

Максимальная скорость, км/ч

80

Контрольный расход газа (при работе на ГСН) при 60 км/ч, л/100 км

28

Объем газового баллона, полный, л

190.4

Объем заправляемого газа, л

170

Пробег автомобиля на одной заправке газом (по контрольному расходу), км

580

Двигатель - ЗМЗ - 5318, конвертируемый на базе дв. ЗМЗ – 5311 с повышенной степенью сжатия для работы на ГСН

 

степень сжатия -

8.5

Система питания - однотопливная - для работы на ГСН;

 

резервная - бензин А - 76

 

Объем бензобака резервная система, л

60

При работе двигателя на ГСН:

 

мощность двигателя при n = 3200 об/мин,

 

кВт (л. с.)

88.3 (120)

крутящий момент при n = 2300 об/мин, Нм

284

Остальные технические данные соответствуют показателям базового автомобиля - ГАЗ -53А

АВТОМОБИЛИ ГАЗ-5319 и ГАЗ-33075

Выпускался Горьковским автомобильным заводом на базе соответственно ГАЗ- 5312 с 1984 г. и ГАЗ-3307 с 1990 г.

 

ГАЗ - 33075

ГАЗ-5319

Грузоподъемность, кг

4500

4500

Снаряженная масса, кг

3385

3435

Полная масса, кг

8035

8085

Максимальная скорость при работе на ГСН, км/ч

80

80

Контрольный расход газа (при работе на ГСН) при 40 км/ч, л/100 км

29.5

29.5

Объем газового баллона, полный, л

190.4

190.4

Объем заправляемого газа, л

170

170

Пробег автомобиля на одной заправке газом (по контрольному расходу), км

550

550

Двигатель - ЗМЗ - 5327, соответствующий базовому дв. ЗМЗ – 5311 с газовой системой питания

степень сжатия -

 

7.6

Система питания - двухтопливная: ГСН и бензин А - 76

При работе двигателя на ГСН:

 

 

мощность двигателя при n= 3200 об/мин.

 

 

кВт (л. с.)

 

77.2 (105)

крутящий момент при n = 2100 об/мин, Нм

 

255

Остальные технические данные соответствуют показателям базовых автомобилей - ГАЗ-3307 и ГАЗ-5312.

АВТОМОБИЛЬ ЗИЛ - 431810

Выпускался Московским автозаводом имени Лихачева с 1986 г. на базе ЗИЛ-431410. С 1973 по 1986 г.г. этот автомобиль выпускался как модель ЗИЛ - 138.

Грузоподъемность, кг

6000

Снаряженная масса, кг

4495

Полная масса, кг

10720

Максимальная скорость, км/ч

90

Контрольный расход газа (при работе на ГСН) при 60 км/ч, л/100 км

35

Объем газового баллона, полный, л

250

Объем заправляемого газа, л

225

Пробег автомобиля на одной заправке газом (по контрольному расходу), км

610

Двигатель - ЗИЛ - 5085.10. конвертируемый на базе дв. ЗИЛ - 508

 

с повышенной степенью сжатия для работы на ГСН

 

степень сжатия -

8.0

Система питания - однотопливная - для работы на ГСН;

 

резервная - бензин А - 76

 

Объем бензобака резервной системы, л

10

При работе двигателя на ГСН:

 

мощность двигателя при n = 3200 об/мин,

 

кВт (л. с.)

110 (150)

крутящий момент при n = 1800 - 2000 об/мин, Нм

387

Остальные технические данные соответствуют показателям базового автомобиля - ЗИЛ-431410.

1.3. СЕДЕЛЬНЫЕ ТЯГАЧИ

АВТОМОБИЛЬ ЗИЛ-441610

Выпускался Московским автозаводом имени Лихачева на базе ЗИЛ-441510. С 1975 по 1986 г.г. выпускался сед. Тягач ЗИЛ - 138В1.

Масса груза на седельное устройство, кг

6400

Снаряженная масса, кг

4015

Полная масса, кг

18640

Максимальная скорость, км/ч

90

Контрольный расход газа (при работе на ГСН) при 60 км/ч, л/100 км

44.5

Объем газового баллона, полный, л

261

Объем заправляемого газа, л

235

Пробег автомобиля на одной заправке газом (по контрольному расходу), км

500

Двигатель - ЗИЛ - 5085.10, аналогичный двигателю автомобиля ЗИЛ-431810

степень сжатия -

8.0

Система питания - однотопливная - для работы на ГСН;

 

резервная система питания аналогична

 

системе питания авт. ЗИЛ - 431810

 

При работе двигателя на ГСН:

 

мощность двигателя при n = 3200 об/мин,

 

кВт (л. с.)

110 (150)

крутящий момент при n = 1800 - 2000 об/мин, Нм

387

Остальные технические данные соответствуют показателям базового автомобиля - ЗИЛ - 441510.

1.4. АВТОМОБИЛИ - САМОСВАЛЫ

Автомобили ЗИЛ - ММЗ - 45023 и ЗИЛ - ММЗ - 45053

Автомобиль-самосвал ЗИЛ-ММЗ-45023 выпускался Мытищинским машиностроительным заводом с 1976 г. на базе ЗИЛ - ММЗ - 4502, а ЗИЛ - ММЗ - 45053 с 1991 г. на базе ЗИЛ - ММЗ - 4505.

 

ЗИЛ-ММЗ-45023

ЗИЛ-ММЗ-45053

Грузоподъемность, кг

5700

6000

Снаряженная масса, кг

4800

4900

Полная масса, кг

10775

10900

Максимальная скорость, км/ч

90

85

Контрольный расход газа (при работе на ГСН) при 60 км/ч, л/100 км

38

38.5

Объем газового баллона, полный (2 бал. По 130 л.), л

260

260

Объем заправляемого газа, л

234

234

Пробег автомобиля на одной заправке газом (по контрольному расходу), км

585

575

Двигатель - ЗИЛ - 5085.10. аналогичный двигателю автомобиля ЗИЛ - 431810

степень сжатия -

8.0

8.0

Система питания - однотопливная, аналогичная системе питания авт. ЗИЛ - 431810

При работе двигателя на ГСН:

 

 

мощность двигателя при n = 3200 об/мин,

 

кВт (л. с.)

 

110 (150)

крутящий момент при n = 1800 - 2000 об/мин, Нм

387

Остальные технические данные соответствуют показателям базовых автомобилей соответственно - ЗИЛ - ММЗ - 4502 и ЗИЛ - ММЗ - 4505.

1.5. АВТОБУСЫ

АВТОБУС РАФ - 2203.02

Автобус особо малого класса, выпускался заводом микроавтобусов РАФ (г. Елгава, Латвия) с 1988 г. на базе РАФ - 2203.01

Число мест для сидения (пассажиров), ед

11

Снаряженная масса, кг

1815

Полная масса, кг

2710

Максимальная скорость, км/ч

105

Контрольный расход газа (при работе на ГСН) при 60 км/ч, л/100 км

16

Объем газового баллона, полный, л

93.2

Объем заправляемого газа, л

83.9

Пробег автомобиля на одной заправке газом (по контрольному расходу), км

500

Двигатель - мод. 4027.10 (см. автомобиль ГАЗ - 2417)

 

степень сжатия -

8.2

Система питания - двухтопливная: ГСН и бензин АИ - 93

 

При работе двигателя на ГСН:

 

мощность двигателя при n = 4500 об/мин,

 

кВт (л.с.)

62.5 (85)

крутящий момент при n = 2500 об/мин, Нм

167

Остальные технические данные соответствуют показателям базового автобуса - РАФ-2203.10.

АВТОБУС КАвЗ-32703

Выпускался Курганским автобусным заводом с 1988 г. на базе КАвЗ - 3207.

Число мест для сидения (пассажиров), ед

20

Пассажировместимость (нормативная), чел

27

Снаряженная масса, кг

4265

Полная масса, кг

6445

Максимальная скорость, км/ч

80

Контрольный расход газа (при работе на ГСН) при 60 км/ч, л/100 км

24.5

Объем газового баллона, полный, л

190.4

Объем заправляемого газа, л

180

Пробег автомобиля на одной заправке газом (по контрольному расходу), км

660

Двигатель - ЗМЗ - 5327, соответствует базовому дв. ЗМЗ - 5311 с газовой системой питания

(см. авт. ГАЗ-5319).

степень сжатия -

7.6

Система питания -двухтопливная: ГСН и бензин А-76

При работе двигателя на ГСН:

 

мощность двигателя при n = 3000 об/мин.

 

кВт (л. с.)

77.2 (105)

крутящий момент при n = 2100 об/мин, Нм

255

Остальные технические данные соответствуют показателям базового автобуса КАвЗ - 3207.

АВТОБУС КАвЗ-39761

Выпускался Курганским автобусным заводом с 1989 г. на базе автобуса КАвЗ - 3976.

Число мест для сидения (пассажиров), ед

20

Пассажировместимость (нормативная), чел

27

Снаряженная масса, кг

4285

Полная масса, кг

6474

Максимальная скорость, км/ч

80

Контрольный расход газа (при работе на ГСН) при 60 км/ч, л/100 км

24.5

Объем газового баллона, полный, л

190.4

Объем заправляемого газа, л

170

Пробег автомобиля на одной заправке газом (по контрольному расходу), км

660

Двигатель - ЗМЗ - 5327, соответствует базовому дв. автобуса КАвЗ - 32703

степень сжатия -

7.6

Система питания - двухтопливная: ГСН и бензин А - 76

 

При работе двигателя на ГСН:

 

мощность двигателя при n = 3200 об/мин,

 

кВт (л. с.)

77.2 (105)

крутящий момент при n = 2100 об/мин, Нм

255

Остальные технические данные соответствуют показателям базового автобуса КАвЗ - 3976

АВТОБУС ПАЗ-3205.10

Выпускался Павловским автобусным заводом с 1988 г. на базе ПАЗ - 3205.

Число мест для сидения (пассажиров), ед

28

Пассажировместимость (нормативная), чел

36

Снаряженная масса, кг

4970

Полная масса, кг

7800

Максимальная скорость, км/ч

80

Контрольный расход газа (при работе на ГСН) при 60 км/ч, л/100 км

31

Объем газового баллона, полный, л

130.5

Объем заправляемого газа, л

117.4

Пробег автомобиля на одной заправке газом (по контрольному расходу), км

360

Двигатель - ЗМЗ - 5327, соответствует двигателю автомобиля ГАЗ-53075 (5319)

степень сжатия -

7.6

Система питания -двухтопливная: ГСН и бензин А - 76

 

При работе двигателя на ГСН:

 

мощность двигателя при n = 3200 об/мин,

 

кВт (л. с.)

77.2 (105)

крутящий момент при n = 2100 об/мин, Нм

255

Остальные технические данные соответствуют показателям базового автобуса ПАЗ - 3205.

АВТОБУС ЛиАЗ-677Г

Выпускался Ликинским автобусным заводом с 1985 г. на базе ЛиАЗ - 677М.

Число мест для сидения, ед

25

Пассажировместимость (нормативная), чел

ПО

Снаряженная масса, кг

9065

Полная масса, кг

16580

Максимальная скорость, км/ч

70

Контрольный расход газа (при работе на ГСН) при 40 км/ч, л/100 км

47.3

Объем газового баллона, полный (2 бал. по 220 л.), л

440

Объем заправляемого газа, л

396

Пробег автомобиля на одной заправке газом (по контрольному расходу), км

795

Двигатель - ЗИЛ - 5095.10, конвертируемый на базе двигателя ЗИЛ - 509.10 с повышенной степенью сжатия для работы на ГСН

степень сжатия -

7.4

Система питания - однотопливная: ГСН; резервная система питания - бензин А - 93

Объем бензобака резервной системы питания, л

20

При работе двигателя на ГСН:

 

мощность двигателя при n = 3200 об/мин,

 

кВт (л. с.)

118 (160)

крутящий момент при n = 2100 об/мин, Нм

441

Остальные технические данные соответствуют показателям базового автобуса ЛиАЗ - 677М.

АВТОБУС ЛАЗ-695П

Выпускался Львовским автобусным заводом с 1974 г. на базе ЛАЗ - 695Н.

Число мест для сидения (пассажиров), ед

34

Пассажировместимость (нормативная), чел

67

Снаряженная масса, кг

6910

Полная масса, кг

11670

Максимальная скорость, км/ч

80

Контрольный расход газа (при работе на ГСН) при 60 км/ч, л/100 км

45.7

Объем газового баллона, полный (2 бал. по 163.5 л), л

327

Объем заправляемого газа, л

294

Пробег автомобиля на одной заправке газом (по контрольному расходу), км

612

Двигатель - ЗИЛ - 5085.10, соответствует двигателю авт. ЗИЛ - 431810

степень сжатия -

8.0

Система питания - однотопливная: ГСН, резервная система питания - бензин А - 76

Объем бензобака резервной системы, л

10

При работе двигателя на ГСН:

 

мощность двигателя при n = 3200 об/мин,

 

кВт (л. с.)

110 (150)

крутящий момент при n = 1800 об/мин, Нм

387

Остальные технические данные соответствуют показателям базового автобуса ЛАЗ - 695Н.

1.6 ЛЕГКОВЫЕ АВТОМОБИЛИ

Легковые автомобили, выпускаемые Волжским автомобильным заводом, мод. ВАЗ-2105, ВАЗ-2106, и ВАЗ-2107 могут быть переоборудованы для работы на газовом топливе.

 

ВАЗ-21057

ВАЗ-21067

ВАЗ-21077

Снаряженная масса, кг

1019

1059

1054

Полная масса, кг

1419

1459

1454

Максимальная скорость, км/ч

138

142

142

Время разгона до 100 км/ч, с

18.5

16.5

17.5

Контрольный расход газа, л/100

 

 

 

км

 

 

 

при 90 км/ч

9.2

9.6

9.6

при 120 км/ч

13.1

13.1

13.1

при городском цикле

13.3

13.4

12.9

Объем газового баллона, полный, л

50

50

50

Объем заправляемого газа, л

42

42

42

Пробег автомобиля на одной заправке газом (по контрольному расходу для городского цикла), км

315

310

325

Двигатель - базовый с системой

 

 

 

питания для ГСН

ВАЗ-2105

ВАЗ-2106

ВАЗ-2107

степень сжатия -

8.5

8.5

8.5

Система питания - двухтопливная: ГСН и бензин АИ - 93

При работе двигателя на ГСН:

 

 

 

мощность двигателя при n = 5600 об/мин

 

 

 

кВт (л. с.)

42.3

50.0

48.0

 

(57.1)

(68.0)

(65.3)

крутящий момент при n = 3000 - 3400

 

 

 

об/мин, Им

84.6

107.0

95.7

Остальные технические данные соответствуют показателям базовых автомобилей ВАЗ-2105, 2106 и 2107.

АВТОМОБИЛИ МОСКВИЧ-412.07 и АЗЛК-21417

Выпускавшиеся производственным объединением ИЖМАШ, мод. Москвич-412ИЗ и АЗЛК -2141.01

 

Москвич - 412.07

АЗЛК-21417

Снаряженная масса, кг

1033

1074

Полная масса, кг

1433

1474

Максимальная скорость, км/ч

135

135

Время разгона до 100 км/ч, с

19.5

19.5

Контрольный расход газа, л/100 км:

 

 

при 90 км/ч

9.6

10.1

при 120 км/ч

13.3

13.8

при городском цикле

13.4

13.6

Объем газового баллона, полный, л

78.4

78.4

Объем заправляемого газа, л

70.6

70.6

Пробег автомобиля на одной заправке газом (по контрольному расходу для городского цикла), км

520

510

Двигатель - базовый, с системой

 

 

питания для ГСН

412Э

ВАЗ-2106

степень сжатия -

8.5

8.5

Система питания - двухтопливная: ГСН и бензин АИ - 93

При работе двигателя на ГСН:

 

 

мощность двигателя при n = 5600 об/мин,

 

 

кВт (л. с.)

48.6 (66.1)

50 (68)

крутящий момент при n = 3200 об/мин, Нм

100.5

107

Остальные технические данные соответствуют показателям базовых автомобилей Москвич-412ИЗ и АЗЛК-2141.01.

АВТОМОБИЛЬ ГАЗ - 2417

Легковой автомобиль - такси, выпускался Горьковским автомобильным заводом с 1986 г. на базе автомобиля - такси ГАЗ - 2411.

Снаряженная масса, кг

1520

Полная масса, кг

1910

Максимальный скорость, км/ч

137

Время разгона до 100 км/ч, с

23

Контрольный расход газа, л/100 км

 

при 90 км/ч

12.1

при 120 км/ч

16.8

при городском цикле

19.5

Объем газового баллона, полный, л

85

Объем заправляемого газа, л

70

Пробег автомобиля на одной заправке газом (по контрольному расходу для городского цикла), км

345

Двигатель - ЗМЗ - 4027.10 конвертируемый дв. ЗМЗ - 402.10 для работы на ГСН

Степень сжатия

8.2

Система питания - двухтопливная: ГСН и бензин АИ-93

При работе двигателя на ГСН:

 

Мощность двигателя при n =4500 об/мин,

 

кВт (л.с.)

66.1 (90)

Крутящий момент при n= 2400 - 2600 об/мин, Нм

173.3

Остальные технические данные соответствуют показателям базового автомобиля - ГАЗ - 2411.

2. СЖИЖЕННЫЙ НЕФТЯНОЙ ГАЗ КАК МОТОРНОЕ ТОПЛИВО ДЛЯ АВТОТРАНСПОРТНЫХ СРЕДСТВ

В качестве одного из газомоторных топлив (ГМТ) на транспорте в Российской Федерации находят применение - газы сжиженные нефтяные (сокращенно - ГСН).

ГСН представляют собой смесь пропан - бутановых фракций (С3Н8 – С4Н10) и поставляются как топливо для транспортных средств в соответствии с ГОСТом.

2.1. ГОСТы на сжиженные нефтяные газы

2.1.1 ГОСТ 27578-87 предусматривает три марки ГСН:

- летнюю марку - ПБА (пропан - бутан автомобильный), содержащую 50 ± 10 % пропана (С3Н8), остальное бутан и другие более тяжелые углеводороды; применяются в диапазоне температур окружающей среды от +45 °С до -20 °С;

- зимнюю марку - ПА (пропан автомобильный), содержащую 90 ± 10 % пропана и применяемую в диапазоне температуру окружающей среды от - 20 °С до - 35 °С;

В ряде регионов РФ в качестве топлива для газобаллонных автомобилей применяют ГСН, поставляемый для коммунально - бытовых целей в соответствии с ГОСТ 20448-90.

2.1.2. ГОСТ 20448-90 также предусматривает две марки ГСН:

- летнюю (ПБТ - смесь пропан - бутана, техническая, летняя), содержащую не более 60 % бутана (C4H10), остальное - пропан и другие углеводороды;

- зимнюю (ПТ - смесь пропан - бутана, техническая, зимняя), содержащую не менее 75% пропана (С3Н8), остальное - бутан и другие углеводороды.

Применение коммунально - бытовых фракций ГСН для автотранспортных средств требует определенной регулировки газовой аппаратуры и в целом снижает надежность работы систем питания автомобилей и ухудшает их экологические свойства по сравнению с использованием ГСН автомобильных марок (ГОСТ 27578-87).

Физико-химические и эксплуатационные характеристики ГСН представлены в таблице 2.1.

Таблица 2.1.

ФИЗИКО-ХИМИЧЕСКИЕ И ЭКСПЛУАТАЦИОННЫЕ ХАРАКТЕРИСТИКИ
СЖИЖЕННЫЙ НЕФТЯНЫХ ГАЗОВ

Показатели

Ед. изм.

Величина

Плотность (средняя), при нормальных условиях,

Кг/л

0.54

Температура кипения,

-42

Температура застывания,

-187

Температура горения стехиометрической смеси (а = 1 О),

2150

Стехиометрический коэффициент,

Кг/кг

15.2

Энергоемкость,

МДЖ/кг

46.0

Энергоплотность,

МДЖ/л

24.8

Средняя теплота сгорания стехиометрической смеси (a = 1.0),

МДЖ/кг

МДЖ/м. Куб.

2.84

3.58

Границы устойчивости работы двигателя по:

 

 

a min (богатые смеси)

 

0.7

a max (бедные смеси)

 

1.2

Октановое число:

 

 

Моторный метод

 

89-94

Исследовательский метод

 

93-112

Цетановое число

 

18-22

Бензиновый эквивалент,

л. газа/ л. бензина

1.32

Предельно - допустимые концентрации паров в рабочей зоне - ПДКрз,

Мг/м. Куб.

1800

Условия хранения не автомобиле (давление в баллонах при температуре + 45 °С), не более

МПа

16

Сжиженные нефтяные газы обладают большим коэффициентом объемного расширения. В случае полного заполнения баллона, т.е. без наличия паров подушки, даже незначительное повышение температуры газа приведет к резкому увеличению давления в баллоне (примерно 0.7 МПа на каждый градус повышения температуры сжиженного газа).

Для предохранения стенок баллона от резкого повышения давления при температурном расширении газа, отечественные автомобильные баллоны для ГСН имеют паровую подушку, объем которой составляет не менее 10 % от полной емкости. Контроль заполнения баллона обеспечивается специальным устройством (мультиклапаном) или контрольным вентилем.

Для обнаружения содержания газа в воздухе при его утечке из газовой системы автомобиля в газ вводятся одоранты (напр. этилмеркапран), в концентрациях не вредных для человека.

Плотность жидкой фазы ГСН составляет 520 - 560 кг/м. куб. при нуле °С и нормальном атмосферном давлении. Плотность паровой фазы углеводородных газов при тех же условиях колеблется от 2.0 - 2.6 кг/м. куб.

Относительный вес углеводородных газов по воздуху составляет для пропана -1.5; для Н - октана 2.0, что указывает на свойство этих газов скапливаться внизу, на поверхности земли и в различных углублениях (приямках, канавках), образуя взрывоопасную смесь с воздухом (в количестве 1.8 - 9.5 % по объему).

2.2. Нормы расхода сжиженного нефтяного газа для автотранспортных средств

При нормировании расхода топлива используются базовые нормы и надбавки к ним, периодически пересматриваемые и утверждаемые в установленном порядке.

В настоящее время базовые нормы расхода топлива и надбавки к ним регламентируются нормативным документом Р 3112194-0366-03 «Нормы расхода топлив и смазочных материалов на автомобильном транспорте».

Для автомобилей и автобусов, выполняющих транспортную работу, учитываемую в тонно-километрах, норма расхода сжиженного газа (ГСН) увеличивается, по сравнению с базовыми нормами, на каждые 100 тонно-километров на 2.5 л.

Для автомобилей, использование которых допускается с почасовой оплатой, норма расхода ГСН увеличивается на 10% по отношению к базовой норме.

Для автомобилей - самосвалов дополнительно устанавливается расход ГСН на каждую ездку с грузом - 0.3 л.

Базовые нормы расхода ГСН на 100 км. пробега увеличивается (уменьшается) на 2.5 л. соответственно на:

- каждую тонну собственной массы прицепов (для бортовых автомобилей и седельных тягачей);

- каждую тонну увеличения или сжижения массы специализированного автомобиля против базового (при установке специализированных кузовов на бортовые автомобили);

Изменения норм расхода ГСН для ГБА в зависимости от времени года, климатических, дорожных и скоростных условий, а также самосвалов, автомобилей, работающих с частыми остановками, с пониженными скоростями, после капитального ремонта и новых автомобилей на протяжении 1000 км пробега осуществляется как для базовых автомобилей, работающих на нефтяном топливе (бензине).

При утилизации газа, вызванного проведением сварочных, малярных работ, ремонтом арматуры баллонов и др. - газовое топливо списывается по акту за подписью главного инженера автотранспортного предприятия или другого ответственного лица.

Применение бензина вместо ГСН для ГБА рекомендуется только в следующих случаях:

- при расходовании газового топлива для следования автомобиля до заправки;

- при выходе из строя или нарушении герметичности газовой системы питания;

- при невозможности заправки автомобиля газовым топливом;

- при запуске двигателя при температурах окружающей среды ниже 5 °С и отсутствии в АТП средств тепловой подготовки двигателей к запуску;

- в случаях, предусмотренных технологическими процессами технического обслуживания и ремонта ГБА.

Нормы расхода бензина на выполнение технических воздействий приведены в таблице 2.2

Таблица 2.2.

Марка газобаллонного автомобиля (базовая модель)

Вид газового топлива

Нормы расхода бензина, л.

 

ТО-1

ТО-2

Ремонт с заменой агрегатов

Ремонт без замены агрегатов

ГАЗ - 5207, 08, 09

ГСН

0.5

1.1

1.4

1.2

ГАЗ-33075

ГСН

1.5

3.2

3.0

3.0

ЗИЛ-431810

ГСН

1.6

3.2

3.0

3.0

Для запуска холодного двигателя установлена норма 0.4 л. на один запуск или 10 л. в месяц на один автомобиль, работающий на ГСН. Бензин выдается с введением зимних норм расхода топлива. После запуска и начала устойчивой работы дальнейший прогрев двигателя производится на газе.

3. КОНСТРУКТИВНЫЕ ОСОБЕННОСТИ ГАЗОБАЛЛОННОГО
ОБОРУДОВАНИЯ ГБА, РАБОТАЮЩИХ НА ГСН.

3.1. Комплектность газобаллонного оборудования для ГСН и эксплуатационные требования к нему.

Комплекты газобаллонного оборудования (ГБО) для ГСН должны обязательно включать в себя следующие агрегаты и элементы:

1) газовый баллон (баллоны);

2) вспомогательное оборудование баллона, в состав которого должны входить следующие устройства:

- заправочный блок с вентильными устройствами (наполнительный и расходный);

- указатель уровня газа в баллоне;

- автоматическое устройство, ограничивающее наполнение баллона до 80% его емкости;

- предохранительный (пожарный) клапан;

- обратный клапан;

- скоростной клапан;

- система вентиляции (газонепроницаемый кожух или отсек)

3) заправочное устройство со встроенным обратным клапаном;

4) газоредуцирующую аппаратуру;

5) магистральный запорный клапан;

6) газопроводы и шланги;

7) газосмесительное устройство;

8) электронный блок управления;

9) кронштейны и элементы крепежа.

Кроме того, ГБО может включать в себя и другие элементы;

- газовые фильтры;

- газодозирующие устройства;

- обратные и предохранительные клапаны;

- систему измерения и индикаци, расположенной в кабине водителя, количества газа в баллоне;

ГБО для АТС, использующих в качестве моторного топлива как газ, так и нефтяное топливо, должно включать в себя переключатель вида топлива, обеспечивающий невозможность одновременной подачи в двигатель более, чем одного вида топлива.

Переключатель должен располагаться на рабочем месте водителя.

Конструкция ГБО должна обеспечивать возможность подсоединения к отдельным устройствам контрольно - диагностического оборудования для их технического обслуживания, диагностики и регулировки.

В конструкции ГБО должны быть предусмотрены устройства для отключения газовых баллонов при проведении технического обслуживания или регулировочных работ, а также возможность подсоединения к агрегатам и узлам ГБО постороннего источника газа или воздуха (без заполнения последним газовых баллонов на ГБТС).

Комплект ГБО должен обеспечивать герметичность агрегатов и узлов во всем диапазоне рабочих режимов и возможность контроля герметичности всех узлов и соединений, в том числе с помощью переносных приборов (течеискателей), без снятия и разборки каких-либо агрегатов АТС.

3.2. Принципиальные схемы газобаллонных установок.

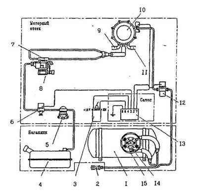
Принципиальная схема основных элементов газобаллонного оборудования ГБА, работающих на ГСН приведена на рис. 3.1.

Сжиженный нефтяной газ храниться в баллоне 20 и поступает в него при заправке на АГЗС через наполнительный вентиль 14. При наполнении газом 80 - 85% объема баллона, автоматически прекращается его заправка за счет всплытия поплавка 18, который с помощью рычага перекрывает отсечной клапан 17.

Далее газ из баллона через открытый расходный вентиль 19 по трубопроводу высокого давления подается к магистральному электромагнитному клапану - фильтру 12, где происходит очистка от механических примесей.

Через открытый электромагнитный клапан 12 газ по трубопроводу попадает в газовый редуктор, где в полостях первой 23 и второй 8 ступеней происходит снижение его давления до величины близкой к атмосферному.

Автоматическое регулирование давления газа в редукторе осуществляется изменением положения клапанов первой 23 и второй 8 ступеней, которые при помощи рычагов 9 и 7 соединены с мембраной 21 и 5.

Испарение жидкой фазы, поступающего в РНД, происходи за счет подогрева корпуса редуктора жидкостью, поступающей из системы охлаждения двигателя по каналам 22.

Далее газ из РНД по соответствующим трубопроводам (шлангам) поступает в дозатор газа 4 и в соответствующей порции в смеситель газа 2, где смешивается с воздухом. Газовоздушная смесь, регулируемая дроссельной заслонкой 1, поступает в цилиндры двигателя внутреннего сгорания автомобиля.

Принципиальные схемы газобаллонного оборудования некоторых отечественных производителей приведены на рис 3.2. - 3.6.

Рис. 3.1. Принципиальная схема основных элементов ГБО для ГСН:

1 - дроссельная заслонка; 2 - смеситель; 3 - воздушная заслонка;

4 - дозатор газа; 5 - мембрана 2-й ступени; 6 - клапан 2-й ступени; 7 - рычаг клапана 2-й ступени; 8 - полость 2-й ступени; 9 - рычаг мембраны 1-й ступени; 10 - регулировочный винт рычага 1-й ступени; 11 - входной электромагнитный клапан; 12 - магистральный электромагнитный клапан - фильтр; 13 - заправочное устройство; 14 - наполнительный вентиль; 15 - предохранительный клапан; 16 - клапан обратный; 17 - отсечной клапан; 18 - поплавок; 19 - расходный вентиль; 20 - баллон; 21 - мембрана с клапаном 1-й ступени; 22 - каналы для охлаждающей жидкости; 23 - полость 1-й ступени; 24 - винт регулировочный холостого хода; 25 - пружина; 26 - регулировочный винт клапана 2-й ступени.

Рис 3.2. Схема принципиальная газобаллонной установки АО «ЭКОРТ» для легковых автомобилей

1 - баллон автомобильный газовый; 2 - устройство заправочное выносное; 3 - катушка зажигания; 4 - бензобак; 5 - бензонасос; 6 - клапан электромагнитный бензиновый; 7 - смеситель; 8 - карбюратор; 9 - рукав водяной отводящий; 10 - редуктор - испаритель; 11 - рукав водяной подводящий; 12 - клапан электромагнитный газовый; 13 - блок электронный; 14 - блок арматуры; 15 - система вентиляции блока арматуры.

Рис. 3.3. Схема принципиальная газобаллонной установки АО «ЭКОРТ» для грузовых автомобилей

1 - баллон автомобильный газовый; 2 - блок арматуры; 3 - клапан электромагнитный газовый; 4 - редуктор - испаритель; 5 - экономайзер; 6 - карбюратор; 7 - смеситель; 8 - клапан электромагнитный бензиновый; 9 - бензонасос; 10 - распределитель; 11 - предохранитель; 12 - бензобак; 13 - электронный блок БЕГ-3; 14 - рукав водяной подводящий; 15 - рукав водяной отводящий; 16 - коллектор впускной

Рис. 3.4. Схема принципиальная газобаллонной установки ПО «УралВЗ» для легковых автомобилей

1 - баллон автомобильный газовый; 2 - устройство заправочное выносное; 3 - бензонасос; 4 - бензобак; 5 - клапан электромагнитный бензиновый; 6 - карбюратор; 7 - смеситель; 8 - редуктор - испаритель; 9 - предохранитель; 10 - переключатель вида топлива; 11 - рукав водяной подводящий; 12 - рукав водяной отводящий; 13 - экономайзер; 14 - клапан электромагнитный газовый; 15 - блок электронный; 16 - блок арматуры

Рис. 3.5. Схема газобаллонной аппаратуры Новогрудского завода

1 - аккумулятор; 2 - катушка зажигания; 3 - бензонасос; 4 - электрическая цепь; 5 - радиатор-отопитель; 6 - шланг подачи жидкости; 7 - ленточный хомут; 8 - тройник; 9 - предохранитель; 10 - переключатель вида топлива; 11 - замок зажигания; 12 - редуктор-испаритель низкого давления; 13 - шланг низкого давления; 14 - электромагнитный газовый клапан с фильтром; 15 - тройник-дозатор; 16 - кран перекрытия отопительной системы; 17 - шланг подачи бензина; 18 - вакуумный шланг; 19 - электромагнитный бензиновый клапан с рукояткой; 20 - патрубки, впаянные в переходную коробку воздушного фильтра; 21 - соединитель с накидной гайкой; 22 - коллектор двигателя; 23 - карбюратор; 24 - воздушный фильтр; 25 - газопровод высокого давления; 26 - баллон для сжиженного газа; 27 - блок запорно-предохранительной арматуры (мультиклапан); 28 - рукав вентиляционный

Рис. 3.6. Схема принципиальная газобаллонной установки «САГА-6» для легковых автомобилей

1 - клапан электромагнитный бензиновый; 2 - смеситель; 3 - карбюратор; 4 - редуктор-испаритель; 5 - патрубок системы охлаждения; 6 - указатель уровня топлива; 7 - переключатель вида топлива; 8 - клапан электромагнитный газовый; 9 - кожух предохранительный; 10 - блок арматуры; 11 - баллон автомобильный газовый; 12 - газопровод; 13 - устройство заправочное выносное; 14 - бензобак; 15 - бензонасос

3.3. Баллоны автомобильные для ГСН

Газовые баллоны предназначены для хранения запаса сжиженного нефтяного газа на автомобиле при рабочем давлении 1.6 МПа и устанавливаются, как правило, в багажном отделении легкового автомобиля и на раме грузовых автомобилей и автобусов. По своей конструкции и форме автомобильные газовые баллоны нового поколения независимо от заводов - изготовителей существенного отличия не имеют и выбор их зависит от необходимой величины объема газа на борту автомобиля и габаритных размеров мест установки. Типоразмерный ряд и основные данные автомобильных баллонов для ГСН приведены в таблице 3.1.

Общий вид баллонов старого (с выносной арматурой) и нового поколения приведена па рис. 3.7.

Все баллоны нового поколения независимо от модели автомобиля, на которую они должны устанавливаться, имеют одну и ту же конструкцию: стальной сварной цилиндрический корпус с горловиной для установки блока контрольно-предохранительной и расходно-наполнительной арматуры, к которому приварены полусферические днища.

К баллонам нового поколения относятся баллоны для легковых автомобилей изготовленные в виде торроидальной формы. Эти баллоны удобны тем, что могут устанавливаться в нише для запасного колеса. Торроидальный баллон представлен на рис. 3.8.

Автомобильные баллоны для ГСН должны подвергаться периодически техническому освидетельствованию в соответствии с требованиями нормативного документа Госгортехнадзора РФ ПБ 10-115-96 «Правила устройства и безопасной эксплуатации сосудов, работающих под давлением» в сроки один раз в 2-ва года или в сроки, устанавливаемые разработчиком конструкции или заводом - изготовителем баллонов.

Таблица 3.1.

ОСНОВНЫЕ ДАННЫЕ АВТОМОБИЛЬНЫХ СТАЛЬНЫХ БАЛЛОНОВ ДЛЯ ГСН

Номинальные параметры (без учета допуска)

Диаметр, мм

Длина, мм

Толщина стенки, мм

Объем, л

Масса, кг

Без арм.

С арм.

полн.

заполн. ГСН

230*

1200

-

2.0

45.0

40.5

23.4

300*

650

-

3.0

36.5

32.8

18.9

300*

760

-

3.0

44.5

40.0

22.5

300*

790

-

3.0

50.0

42.0

23.1

300*

830

-

3.0

52.5

44.0

22.0

300*

1060

-

3.0

67.0

53.6

26.0

320

1060

-

3.5

76.0

60.8

33.0

360

730

-

3.5

67.5

54.0

28.2

360*

850

-

3.5

78.5

70.6

32.8

360

1010

-

3.5

92.5

83.0

39.0

360

-

1010

3.5

94.5

85.0

42.0

360*

1120

-

3.5

103.5

93.0

43.2

440*

800

-

4.0

105.0

94.5

42.5

440

1250

-

4.0

164.0

147.5

67.0

490

808

915

4.5

130.0

117.0

58.5

490

900

1097

4.5

150.0

135.0

60.6

490*

920

-

4.5

152.0

121.6

66.5

490

1150

1257

4.5

190.0

171.0

75.5

490*

1240

-

4.5

210.0

168.0

81.0

490*

1312

-

4.5

217.0

195.0

96.5

575

1120

1200

5.0

258.0

232.0

96.0

575

1215

-

5.0

280.0

224.0

101.0

*) - перспективные, подлежащие серийному выпуску.

а) без арматуры

б) с арматурой

Рис. 3.7. Баллоны автомобильные газовые

Рис. 3.8. Баллон для ГСН торроидальной формы.

Блок запорно-предохранительной арматуры (мультиклапан), устанавливаемый на баллоны нового поколения (см. рис. 3.9.), служит для автомат1иеского контроля уровня газа в баллоне и прекращения заправки при заполнении 80 - 85% объема баллона.

Кроме того, мультиклапан обеспечивает:

- герметичность газового баллона при возникших неисправностях наполнительного вентиля (при помощи обратного клапана);

- герметичность газового баллона в случае обрыва расходного газового трубопровода (при помощи скоростного клапана);

- снижение давления в баллоне при возникновении пожара или в следствии его естественного нагрева (при помощи предохранительного клапана).

Корпус мультиклапана крепится при помощи винтов к корпусу баллона, а герметичность соединения обеспечивается прокладкой.

Для обеспечения безопасности при установке баллона в багажном отделении или салоне АТС мультиклапан помещают в газонепронициаемый кожух, который обеспечивает отвод газа (в случае нарушения герметичности) за пределы багажного отделения или салона АТС.

На рис. 3.9. представлен мультиклапан Новогрудского завода газовой аппаратуры, а на рис. 3.10 конструкция блока арматуры фирмы «САГА».

Рис. 3.9. Мультиклапан Новогрудского завода газовой аппаратуры.

1 - предохранительный клапан; 2 - шарик обратного клапана; 3 - штуцер входной; 4 - гайка; 5 - переходник; 6 - скоростной клапан; 7 - корпус; 8 - прокладка; 9 - прозрачный корпус; 10 - магнитная стрелка; 11 - шкала; 12 - ось стрелки; 13 - автоматический клапан; 14 - штуцер; 15 - трубка забора газа; 16 - регулировочный винт; 17 - опора клапана; 18 - поплавок; 19 - пружина; 20, 22, 24 и 28 - прокладки; 21 - седло клапана; 23 - заправочный вентиль; 25 - сетка фильтра; 26 - стопорное кольцо; 27 - расходный вентиль; 28 - прокладка; 29 - вставка клапана; 30 - пружина; 31 - пломба

Рис. 3.10. Блок арматуры «САГА - 6»

1 - поплавок; 2 - кулачок; 3 - труба; 4 - клапан предохранительный; 5 - штуцер дренажный; 6 - вентиль дренажный; 7 - шток с магнитом; 8 - датчик уровня газа; 9 - вентиль расходую - заправочный; 10 - блок арматуры; 11 - штуцер заправочный; 12 - штуцер выходной; 13 - фланец газового баллона; 14 - шток рабочего клапана; 15 - трубопровод; 16 - корпус рабочего и ограничительного клапанов; 17 - шарик клапана.

3.4. Инжекторные системы подачи газового топлива.

В настоящее время получили распространение газовые системы питания нового поколения - инжектроные системы подачи газа.

В отличии от энжекторных систем, (см. разд. 3.2.) когда газ подается в газовый смеситель, расположенный в полости карбюратора над дроссельной заслонкой, под давлением близким к атмосферному, инжекторные системы подают газ во впускной коллектор под давлением 0.1 -0.2МПа.

Дозирование газа осуществляется за счет изменения времени возвратного-поступательного движения электромагнитного клапана специального устройства - инжектора.

По принципу управления подачей газа инжекторыне системы подачи газа аналогичны системам впрыска бензина. Инжекторные системы могут устанавливаться как на карбюраторные, так и на инжектроные бензиновые автомобили.

Рассмотрим инжекторную систему подачи газа на примере газового инжектора Громыко (ГИГ-3), рассчитанную для работы на ГСН. Схема этой системы представлена на рис. 3.11.

Газовым инжектором 12 управляет сигнал, поступающий от электроннго блока 4. В свою очередь электронный блок получает информацию о работе двигателя (о частоте вращения двигателя - от катушки зажигания 1, о составе смеси - от λ-зонда 11).

Помимо этого информация о нагрузке на двигатель поступает на дифференциальный редуктор 14 в виде разрежения во впускном коллекторе. Разрежение также косвенно дает информацию о расходе воздуха, поступающего в двигатель. Таким образом, дифференциальный редуктор совместно с инжектором 12 также участвует в управлении подачей газа в двигатель.

Газ из баллона поступает сначала в испаритель 2 и затем в дифференциальный редуктор 14.

Рис. 3.11. Схема инжекторной системы дозирования газового топлива:

1 - катушка зажигания; 2 - испаритель; 3 - ЭМК газа; 4 - электронный блок управления; 5 - пульт управления; 6 - ЭМК бензина; 7 - карбюратор; 8 - впускной коллектор; 9 - двигатель; 10 - датчик температуры; 11 - λ-зонд; 12 - газовый инжектор; 13 - патрубок для отвода разрежения; 14 - дифференциальный редуктор.

Рис. 3.12. Редуктор дифференциальный:

1 - заглушка; 2 - крышка; 3 - пружина; 4 - кронштейн; 5 - полость для создания разрежения; 6 и 17 - мембраны; 7, 9, 19 и 21 - диски; 8 - кольцо; 10 - полость низкого давления; 11 - корпус; 12 - клапан; 13и 15 - штуцеры; 14 - втулка; 16 - отверстие для выхода газа; 18 - обечайка; 20 - штуцер для отвода разрежения; 22 - колпачок.

Мембрана 17 дифференциального редуктора (рис. 3.12) выполнена из резинометаллического материала. Работой редуктора управляет разрежение из впускного коллектора двигателя, поступающее в штуцер 20. Изменения разрежения во впускном коллекторе автоматически отслеживается дифференциальным редуктором, который, в свою очередь, корректирует подачу топлива.

Газ поступает в редуктор через штуцер 13. Давление газа регулируется за счет перемещения клапана 12 на втулке 14.

Втулка 14 находится под воздействием разрежения, передаваемого на мембрану 6, усилия пружины 3 и, с другой стороны -давление газа, которое оказывает усилие на мембрану 17.

Давление газа понижается до заданного уровня (0.1 ... 0.2 МПа) в полости 10, после чего газ поступает к инжектору через штуцер 15.

Регулировка давления выполняется вращением заглушки 1, с которой предварительно снимают колпачок 22.

Рис. 3.13. Инжектор газовый:

1 и 8 - шайбы; 2 - кольцо уплотнительное; 3 - якорь; 4 - опора; 5 - кольцо регулировочное; 6 - корпус: 7 - обмотка катушки; 9 - крышка; 10 и 11 - шайбы электроизоляционные; 12 - сердечник со втулкой; 13 - гайка; 14 - штуцер.

Газовый инжектор (рис. 3.13) -это быстродействующий электромагнитный клапан, который по сигналу от электронного блока открывается, и через него проходит доза топлива (газа). Открытие и закрытие клапана происходит синхронно с вращением коленчатого вала за счет воздействия магнитных сил сердечника 12 на якорь 3. Электромагнитный инжектор обеспечивает открытие отверстия для прохода топлива за 0.6 мс и закрытие за 0.2 мс и позволяет работать с частотой до 250 Гц. Подача газа из инжектора производится непосредственно во впускной коллектор, что препятствует загрязнению карбюратора, улучшает наполнение цилиндров, снижает риск «обратного хлопка» в инжекторных автомобилях.

Электронный блок управляет системой таким образом, что при остановке двигателя немедленно прекращается подача газа. При включении зажигания газовый клапан кратковременно открывается, выдавая необходимую для запуска порцию газового топлива. При неработающем двигателе и включенном зажигании газовый клапан закрыт.

Электронный блок управления 4 (см. рис. 3.11) предназначен для обработки сигналов, поступающих с датчиков оборотов (катушки 1), температуры 10 и λ-зонда 11, и управления работой газового клапана и газового инжектора. В электронном блоке размещены электронные схемы управления инжектором, газовым 3 и бензиновым 6 клапанами.

При настройке электронного блока управления на автомобиле используется специальный тестер. Электронный блок управления на автомобиле устанавливается в салоне автомобиля.

Пульт управления 5 предназначен для переключения режимов «Бензин» - «Газ» и регулировки длительности открытия форсунки. На переднюю панель блока выведены ручка потенциометра «тонкой» подстройки, переключатель «Бензин» - «Газ» и обеспечен доступ к разъему тестера и потенциометрам установки времени открытия инжектора.

Испаритель 2 предназначен для подогрева газа с помощью охлаждающей жидкости двигателя и испарения жидкой фазы пропан - бутановой смеси. Его подсоединение аналогично подсоединению редуктора низкого давления.

Преимуществом газовых инжекторных систем являются их значительно меньшие габаритные размеры, хорошие топливная экономичность, динамика и экологические показатели. За этими системами - будущее.

В настоящее время отечественная промышленность (ОАО «Газомотор», «Авангард» и др.) готовит серийное производство инжекторных газовых систем, отличающихся от рассмотренной системы методами управления.

4. ОСОБЕННОСТИ ЭКСПЛУАТАЦИИ ГБА, РАБОТАЮЩИХ НА ГАЗЕ СЖИЖЕННОМ НЕФТЯНОМ

В процессе эксплуатации ГБА на ГСН, периодически возникает необходимость проведения различных регулировочных работ на элементах газовой системы питания и операции по пуску холостого двигателя, переводу двигателя с одного вида топлива на другое.

Регулировочные работы газовой аппаратуры ГБА, работающих на ГСН, по своей технологической последовательности и элементам их выполнения, разнообразны, в зависимости от конструкции газовой аппаратуры. Поэтому в инструкции по эксплуатации газовой аппаратуры конкретной модели ГБО должны быть приведены описания выполнения следующих регулировочных работ:

- регулировка холостого хода;

- регулировка экономайзерных устройств и газовых редукторов в целом;

- регулировка дозаторов и смесителей газа.

В настоящем документе приведены некоторые приемы проведения регулировочных работ, операций пуска холостого двигателя и перевода двигателя ГБА с бензина на газовое топливо и наоборот.

4.1. Регулировка холостого хода.

Проверить, при необходимости отрегулировать двигатель на холостом ходу на бензине. Проверить правильность установки угла опережения зажигания. Прогреть двигатель на бензине.

Плавно открыть расходный вентиль блока арматуры. Вывернуть регулировочный винт на дозаторе (см. рис. 4.2.) на 2.5 оборота от полностью закрытого положения. Завернуть винт холостого хода на редукторе - испарителе до упора и затем вывернуть его на ½ оборота. Завернуть винт регулировки давления второй ступени редуктора до упора и вывернуть его на 4 оборота.

Установить повышенную частоту вращения коленвала двигателя - 3000 - 3500 об/мин (допускается использование рукоятку управления воздушной заслонкой).

Перевести переключатель вида топлива в нейтральное положение, а затем в положение «ГАЗ».

После того, как двигатель заработал на газе, начать плавное уменьшение частоты вращения коленвала двигателя. При первых признаках перебоев в работе двигателя, не давая ему заглохнуть, добиться максимально возможной частоты вращения поварачиванием вита холостого хода редуктора в ту или другую сторону (сохраняя то положение рукояти привода воздушной заслонки, при котором начались перебои).

Продолжить плавное уменьшение частоты вращения перемещая рукоятку привода воздушной заслонки в сторону увеличения ее открытия. При неустойчивой работе двигателя повторить вышеописанную операцию. Полностью установить рукоятку привода воздушной заслонки в исходное положение, винтом холостого хода редуктора добиться минимально

устойчивой частоты вращения коленвала двигателя. Затем, выворачивая винт регулировки давления второй ступени редуктора, увеличить частоту вращения на 30 - 50 об/мин.

Частота вращения на холостом ходу на газе должна быть в пределах 750 - 900 об/мин при содержании оксида углерода (СО) в отработавших газах двигателя в пределах 0.3 - 0.8 %

4.2. Регулировка экономайзера.

Установить автомобиль на стенд с беговыми барабанами. Загрузить стенд нагрузкой, соответствующей движению автомобиля на горизонтальном участке дороги с твердым покрытием со скоростью 50 км/час.

Перед регулировкой завернуть винт упора мембранного механизма на крышке экономайзера 5 (рис. 4.1.) (винт экономичной регулировки) завернуть до упора и затем вывернуть на 2 - 3 оборота. Винт, ограничивающий угол поворота шиберной заслонки 4 (винт мощностной регулировки) завернуть до упора и вывернуть на 8 - 10 оборотов.

При имитации движения автомобиля на 3-ей передачи со скоростью 50 км/час отрегулировать таким образом, чтобы содержание окиси углерода в отработавших газах находилось в пределах 0.25 - 0.4%.

Положение винта мощностной регулировки подбирают при полной нагрузке на двигатель при движении автомобиля со скоростью 80 - 90 км/час таким образом, чтобы содержание окиси углерода в отработавших газах составляло 2.5 - 4%.

При отсутствии стенда с беговыми барабанами положение винта экономичной регулировки подбирают в дорожных условиях. Выворачивая указанный винт на ¼ оборота проверять каждый раз плавность хода трогаясь с места и плавность движения на 2 - ой и 3 -ей передачах со скоростью 20 - 30 км/час. При первых признаках ухудшения ездовых качеств завернуть винт на ¼ оборота обратно. После подбора регулировок винта на дозаторе проверить и при необходимости откорректировать регулировку холостого хода на газе.

Положение винта мощностной регулировки, определяющего максимальный угол открытия дроссельной (шиберной) заслонки 4, подбирают из условия достижения наилучшей динамики разгона на мерном горизонтальном участке ровного шоссе с твердым покрытием.

Рис. 4.1. Экономайзер:

1 - полость; 2 - мембранный механизм с ограничителем подачи газа; 3 - корпус; 4 - заслонка

шиберная; 5 - винт регулировочный; 6 - пружина; 7 - крышка

Рис. 4.2. Дозатор газа:

1 - шток с мембраной; 2 - винт экономической регулировки; 3 - крышка; 4 - прокладка; 5 - кольцо уплотнительное; 6, 7 - пружина; 8 - корпус; 9 - винт мощностной регулировки; 10 - плунжер; 11 - стакан

4.3. Регулировка дозатора газа.

Настройка дозатора газа (рис. 4.2) для регулировки качества газо - воздушной смеси проводится в следующей последовательности:

- вывернуть регулировочный винт 2 дозатора по стрелке «-» до крайнего положения;

- вывернуть плунжер 10 дозатора по стрелке «-» до тех пор, пока не начнутся перебои двигателя на холостом ходу;

- вворачивать, не давая заглохнуть двигателю, регулировочный винт 2 по стрелке «+» до тех пор, пока обороты двигателя не станут устойчивыми;

- зафиксировать ганкой положение плунжера 10 и одеть стакан 11;

- повернуть регулировочный винт 2 по стрелке «+» на 1 - 1.5 оборота при плохой динамике разгона или провалах в работе, добиваясь плавного движения автомобиля на 1, 2, 3 и 4 передачах.

4.4. Пуск двигателя на газовом топливе.

Перед пуском необходимо:

- осмотреть газовую аппаратуру и убедиться в ее исправности и герметичности;

- проверить по указателю газа наличие топлива в баллоне;

- плавно открыть расходный вентиль на блоке арматуры баллона (или убедиться в том, что он открыт);

- включить газовый электромагнитный клапан установкой переключателя вида топлива в положение «ГАЗ»;

- выдвинуть привод управления воздушной заслонкой карбюратора на ½ - ¾ хода (только при запуске холостого двигателя);

- включить зажигание;

- нажать на кнопку управления пусковым клапаном на переключателе вида топлива и удерживать ее в течении 3-5 секунд*);

- включить стартер и держать его включенным не более 10 секунд;

- если двигатель не пустился с первой попытки, повторить включение стартера, при этом пусковой клапан включать не рекомендуется.

_________

*) - При наличии электронных блоков (БЕГ - 3, УКГ и т.п.) эта операция выполняется автоматически

При пуске холодного двигателя при температурах окружающей среды ниже - 10 °С необходимо:

- обеспечить подачу в систему питания двигателя паровой фазы газообразного топлива (если на блоке арматуры есть элементы ее подачи), для чего, в зависимости от типа блока арматуры баллона, либо открыть вентиль паровой фазы, либо подать напряжение на электромагнитный клапан блока арматуры баллона нажатием на кнопку «ПФ» электронного блока;

- запустить двигатель на паровой фазе и прогреть его до температуры +20 - +40 °С; закрыть вентиль паровой фазы либо выключить питание на электромагнитный клапан блока арматуры.

Если блок арматуры баллона не снабжен элементами подачи паровой фазы в систему питания, то запуск двигателя на газе при температуре ниже -10 °С желательно производить на бензине. После прогрева двигателя до +30 - +40 °С перевести работу двигателя на газ (порядок перехода с одного вида топлива на другое см. п. 4.6.).

Пуск холодного двигателя при температурах окружающей среды ниже -15°С рекомендуется производить на бензине с последующим переходом на газ.

4.5. Остановка двигателя.

Останавливать двигатель следует выключением зажигания. Перед длительной остановкой (более 6 часов) газовый клапан необходимо отключить установкой переключателя в нейтральное положение и выработать газ из системы до остановки двигателя, затем выключить зажигание. Перед длительной стоянкой (более суток) следует при работающем двигателе закрыть расходный вентиль на блоке арматуры газового баллона и выработать газ из системы до остановки двигателя, затем поставить переключатель в нейтральное положение и выключить зажигание.

4.6. Перевод двигателя с одного вида топлива па другой.

Для перевода двигателя с бензина на газ необходимо:

- открыть расходный вентиль на блоке арматуры;

- пустить двигатель на бензине;

- установить переключатель вида топлива из положения «БЕНЗИН» в нейтральное положение, при наличии электронного блока отжать кнопку «БЕНЗИН» - перекрыть подачу бензина;

- выработать бензин из поплавковой камеры карбюратора;

- при первых признаках остановки двигателя перевести переключатель в положение

«ГАЗ».

Для перевода работающего двигателя с газа на бензин необходимо поставить переключатель вида топлива в промежуточное положение газ - бензин, а затем через 3-5 секунд поставить в положение «БЕНЗИН» или отпустить кнопку «ГАЗ» - обесточить электрические и электронные элементы систем питания двигателя газом.

5. ОРГАНИЗАЦИЯ ТЕХНИЧЕСКОГО ОБСЛУЖИВАНИЯ И ТЕКУЩЕГО РЕМОНТА ГАЗОБАЛЛОННЫХ АВТОМОБИЛЕЙ, РАБОТАЮЩИХ НА ГСН

На рис. 5.1. представлена схема организации технологического процесса технического обслуживания и текущего ремонта газобаллонных автомобилей при условии выполнения полного объема работ, связанных с обслуживанием газобаллонного оборудования.

Эта схема может функционировать при различных вариантах технического состояния ГБА и его газовой системы питания.

При всех видах ТО и ремонта ГБА проходит КПП и поступает на пост проверки герметичности газотопливной системы питания и при положительном результате, на мойку и затем на стоянку.

В зависимости от технического состояния ГБА проходит через различные технологические подразделения.

При проведении планового ТО-1 или ТО-2, а также работ по ТР, (кроме смазочных, малярных работ и работ по регулировке газовой аппаратуры на работающем двигателе), ГБА направляется в зоны ТО-1, ТО-2 или зону ТР, где выполняются указанные виды обслуживания.

Регулировочные работы по газовой аппаратуре на работающем двигателе проводятся на участке диагностики.

Текущий ремонт газового оборудования и его ТО производится на специализированном участке по ТО и ТР газового оборудования и в цехе по ремонту газовой аппаратуры.

Для проведения ремонтных работ по агрегатам газовой аппаратуры, находящейся под высоким давлением 0.4-1.6 МПа (баллоны, их арматура (моноблок)), необходимо произвести слив газа из баллонов и их дегазацию, после этого ГБА поступает в зону ТР.

При обнаружении других неисправностей, не связанных с герметичностью газовых баллонов и их арматуры, ГБА после проверки герметичности на КПП поступает на участок ТО и ТР газового оборудования.

Снятая на участке ТО и ТР газового оборудования неисправная газовая аппаратура поступает в цех ТР газовой аппаратуры и после ремонта устанавливается обратно на ГБА на участки ТО и ТР.

Текущий ремонт газовой аппаратуры, не требующей ее снятия с автомобиля, проводится при закрытых расходных вентилях (жидкой и паровой фазы) в зоне ТР базовых моделей или на участке ТО и ТР газового оборудования.

При выполнении сварочных и малярных работ на ГБА, он независимо от состояния газового оборудования и наличия газа в баллонах, направляется на пост слива газа и дегазации баллонов и затем на сварной и малярный участки.

После выполнения всех видов работ ТО и ТР исправные ГБА направляются на стоянку.

И - движение исправного автомобиля;

ПЛ - движение автомобиля при плановом ТО;

НГ - движение автомобиля при неисправной газовой аппаратуре (остальное исправно);

НА - движение неисправного автомобиля при исправной газовой аппаратуре;

Н - движение автомобиля с неисправностями газового и другого оборудования.

Рис. 5.1. Типовая технологическая схема проведения ТО и ТР газобаллонных автомобилей в условиях АТП

5.1. Режимы технического обслуживания и текущего ремонта газовой аппаратуры

5.1.1. Виды, периодичность и нормы затрат на техническое обслуживание и ремонт газовой аппаратуры

При техническом обслуживании газобаллонных автомобилей, помимо плановых воздействий, характерных для базовых моделей, возникает ряд работ, связанных с наличием и спецификой газобаллонного оборудования.

Для газобаллонных автомобилей включая и автомобили индивидуального легкового автотранспорта установлены следующие виды технического обслуживания:

- ежедневное техническое обслуживание (ЕО);

- первое техническое обслуживание (ТО-1);

- второе техническое обслуживание (ТО-2);

- сезонное обслуживание (СО);

- техническое освидетельствование газовых баллонов.

Работы по ТО-1 и ТО-2 газовой системы питания для ГБА общего пользования выполняются с периодичностью технического обслуживания базовых автомобилей (табл. 5.1.). Сезонное обслуживание газовой аппаратуры совмещается с очередным ТО-2 и выполняется 1 раз в год.

Таблица 5.1.

ПЕРИОДИЧНОСТЬ ТЕХНИЧЕСКОГО ОБСЛУЖИВАНИЯ ГБА

тыс. км.

Категория условий эксплуатации

Коэфф. корректировки ТО

Легковые автомобили

Автобусы

Грузовые автомобили

 

 

ТО-1

ТО-2

ТО-1

ТО-2

ТО-1

ТО-2

1

1.0

4000

16000

3500

14000

3000

12000

2

0.9

3600

14400

3150

12600

2700

10800

3

0.8

3200

12800

2800

11200

2400

9600

4

0.7

2800

11200

2450

9800

2100

8400

5

0.6

2400

9600

2100

8400

1800

7200

Трудоемкость работ по отдельным ТО газобаллонного оборудования и квалификации рабочих приведена в таблице 5.2.

Таблица 5.2.

ТРУДОЕМКОСТЬ РАБОТ ПО ТЕХНИЧЕСКОМУ ОБСЛУЖИВАНИЮ ГАЗОВОЙ АППАРАТУРЫ И РАЗРЯДЫ ПРОИЗВОДСТВЕННЫХ РАБОЧИХ

Наименование работ

Разряд работы

Трудоемкость, чел. мин.

1. Приемка автомобиля, подготовка к обслуживанию, оформление документации и выдача заказчику

4

12.0

2. Проверка состояния и крепления газовых баллонов

3

5.0

3. Проверка герметичности и крепления вентильных устройств со смазкой резьбы штоков

3

7.0

4. Проверка состояния и крепления газопроводов

3

4.0

5. Проверка состояния и крепления испарителя и подводящих газопроводов и трубопроводов систем охлаждения двигателя

3

3.0

6. Обслуживание фильтрующего элемента магистрального фильтра

3

4.0

7. Проверка состояния и регулировка газового редуктора

4

12.0

8. Слив отстоя из редуктора

3

2.0

9. Проверка состояния и работоспособности дозирующих устройств, их регулировка

4

8.0

10. Проверка герметичности и работоспособности электромагнитных клапанов

4

5.0

11. Проверка состояния и работоспособности систем электрооборудования, систем зажигания

4

9.0

12. Проверка герметичности газовой системы в целом

3

6.0

13. Пуск и регулировка двигателя на холостом ходу на газе и нефтяном топливе

4

7.0

14. Проверка и регулировка (при необходимости) содержание СО и СН в отработавших газах согласно ГОСТ Р 17.2.02.06-99 и ГОСТ 17.2.2.03.

4

12.0

ИТОГО:

-

96.0

Перечень обязательных работ, выполняемых при различных видах ТО, приведены ниже.

ДЛЯ АВТОТРАНСПОРТА ОБЩЕГО ПОЛЬЗОВАНИЯ

Ежедневное техническое обслуживание (ЕО)

ЕО выполняется перед выездом автомобиля на линию и после возвращения на предприятие.

Перед выездом проверить легкость пуска и работу двигателя на газовом топливе на холостом ходу и при различных вращениях коленчатого вала.

При возвращении автомобиля на предприятие необходимо:

- проверить состояние газовой аппаратуры и герметичность соединения газовой системы питания;

- очистить (при необходимости) арматуру газовых баллонов от пыли и грязи (для грузовых автомобилей и автобусов);

- слить отстой из газового редуктора;

- закрыть расходный вентиль и выработать газ из системы питания;

- проверить отсутствие подтеканий бензина в соединениях топливопроводов, электромагистрального клапана.

Первое техническое обслуживание (ТО-1)

- проверить состояние и крепление газового баллона и кронштейнов;

- проверить работоспособность и крепления наполнительного и расходных вентилей;

- проверить крепление газовой аппаратуры (редуктора, карбюратора-смесителя, электромагнитного клапана-фильтра и др.);

- слить отстой из газового редуктора;

- проверить герметичность газовой системы питания;

-проверить и при необходимости отрегулировать содержание токсичных компонентов в отработавших газах в соответствии с ГОСТ 17.2.2.03-87 и ГОСТ Р 17.2.02.06-99.

Второе техническое обслуживание (ТО-2)

Выполняются все работы ТО-1, плюс дополнительно:

- снять, очистить и установить на место керамический фильтр расходного вентиля, проверить состояние уплотнительной прокладки;

- снять сердечник электромагнитного клапана-фильтра, промыть, продуть, установить на место (выполняется только для автомобилей ГАЗ);

- разобрать смеситель, вынуть обратный клапан, удалить отложения с клапана, очистить внутреннюю поверхность втулки штока, поставить клапан на место

(выполняется только для автомобилей ЗИЛ);

- проверить ход штока и герметичность клапана 2-ой ступени газового редуктора, при необходимости отрегулировать и заменить уплотнитель клапана;

- проверить давление газа во 2-о ступени газового редуктора на минимальной частоте вращения холостого хода; при необходимости отрегулировать;

- проверить действие приводов карбюратора-смесителя на полноту открытия дроссельных заслонок;

- отрегулировать минимальную частоту вращения холостого хода и переходные режимы.

Сезонное обслуживание (СО)

- снять газовый редуктор с автомобиля:

- заменить диафрагму 1-й ступени и уплотнители клапанов 1-й и 2-й ступеней;

отрегулировать рабочее давление 1-й ступени, ход клапана 1-й ступени, ход штока диафрагмы 2-й ступени и герметичности клапана 2-й ступени;

- проверить герметичность разгрузочного устройства;

- проверить дозирующе-экономайзерное устройство на момент открытия клапана экономайзера, при необходимости заменить;

- установить газовый редуктор на автомобиль;

- смазать резьбы штоков наполнительного и расходного вентилей;

- снять, очистить и установить на место фильтр электромагнитных клапанов газа и бензина;

- разобрать смеситель, вынуть обратный клапан, удалить отложения с клапана, очистить внутреннюю поверхность направляющей втулки, собрать смеситель (выполняется только для автомобилей ЗИЛ);

- снять сердечник электромагнитного клапана, промыть, продуть, установить на место (выполняется только для автомобилей ГАЗ);

- подтянуть крепление газовых баллонов к кронштейнам (момент затяжки 15 - 20 Нм);

- подтянуть крепление кронштейнов к платформе (момент затяжки 100 Нм);

- проверить герметичность газовой системы питания;

- отрегулировать давление газа во 2-й ступени редуктора при работе двигателя на минимальной частоте холостого хода;

- отрегулировать минимальную частоту холостого хода, переходные режимы, токсичность по ГОСТ 17.2.2.03-87 и ГОСТ Р 17.2.02.06-99 в отработавших газах на бензине и ГСН;

- проверить работу уровнемера ГСН в баллоне, опломбировать и поставить клеймо со сроком следующей проверки.

Текущий ремонт газобаллонного оборудования

Ремонт узлов и деталей газовой аппаратуры рекомендуется выполнять путем их замены на оборотные. Оборотный фонд агрегатов газовой системы питания должен составлять 5-7% от списочного состава газобаллонных автомобилей в предприятии или закрепленных за станцией технического обслуживания ГБА.

Приведенная трудоемкость работ по ТР газовой аппаратуры ГБА дана в таблице 5.3.

Таблица 5.3.

ПРИВЕДЕННАЯ ТРУДОЕМКОСТЬ РАБОТ ПО КОМПЛЕКТАЦИИ, ПРОВЕРКИ И ТЕКУЩЕМУ РЕМОНТУ ГАЗОВОЙ АППАРАТУРЫ

Наименование работы

Разряд работы

Трудоемкость, чел. час

1. Снятие газового редуктора, разборка, очистка, замена или ремонт деталей, сборка, контроль и регулировка и установка на автомобиль

3

1.2

2. Снятие смесительных устройств, разборка, очистка, замена или ремонт деталей, сборка, контроль и регулировка и установка на автомобиль

3

0.5

3. Снятие электромагнитных клапанов с фильтром, разборка, очистка, замена или ремонт деталей, сборка, контроль и регулировка и установка на автомобиль

4

0.3

4. Снятие баллона ГСН для дегазации (при необходимости)

3

0.3

5. Изготовление и ремонт газопроводов и трубопроводов

3

0.8

6. Комплектация агрегатов и узлов газовой аппаратуры по поз. 1-4

4

1.0

ИТОГО:

-

4.1

Нормы простоя автомобилей в ТО и ТР на 1000 км пробега принимаются такими же, как для базовых моделей. Общая продолжительность не должна превышать 0.4 - 0.5 дня на 1000 км пробега при условии соблюдения трудоемкости и перечня операции ЕО, ТО-1, ТО-2, СО и периодичности их выполнения.

Перечень операций по ТО и ТР газовой аппаратуры конкретной модели ГБА (ГБО) должны быть приведены в инструкции по эксплуатации, выдаваемой заводом - изготовителем.

ДЛЯ ЛЕГКОВОГО ИНДИВИДУАЛЬНОГО АВТОТРАНСПОРТА

А) Ежедневное обслуживание

Перед выездом проверить состояние, крепления и герметичность агрегатов газовой аппаратуры, соединений трубопроводов и баллона (визуально, на слух, с помощью мыльного раствора или течеискателя).

Проверить легкость пуска и работу двигателя на газе на минимальных оборотах холостого хода и при повышенной частоте вращения коленчатого вала двигателя.

Проверить герметичность соединения бензиновой системы питания и отсутствие подтекания масла из двигателя и коробки передач.

После возвращения закрыть расходный вентиль на баллоне, выработать газ из системы и убедиться в отсутствии запаха газа в салоне и багажном отсеке.

Б) Обслуживание через 1.5 - 2.0 тыс км пробега

Выполняются все операции, предусмотренные ежедневным обслуживанием и дополнительно: слить конденсат из редуктора-испарителя, вывернуть пробку и заверить ее вновь после слива.

В) Обслуживание через 6.0 - 6.5 тыс. км пробега

Выполняются все операции, предусмотренные в п.п. А) и Б) и дополнительно:

- проверить состояние и крепление агрегатов газовой аппаратуры (редуктораиспарителя), электромагнитных клапанов, переключателя вида топлива и подводящих трубопроводов;

- проверить состояние и крепление агрегатов бензиновой системы питания, включая и газовый смеситель;

- проверить, и при необходимости отрегулировать содержание СО в отработавших газах двигателя при работе на газе а, при наличии двухтопливной системы, и на бензине (данную операцию рекомендуется проводить на станциях технического обслуживания при проведении ТО-1, ТО-2 или СО).

Г) Обслуживание через 12.0 - 12.5 тыс. км пробега

Выполняются все операции, предусмотренные в пп. А), Б), В) и дополнительно: снять фильтрующий элемент с электромагнитного клапана-фильтра, очистить его, продуть сжатым воздухом и установить на место.

Д) Обслуживание через 24.0-25.0 тыс. км пробега

Рекомендуется выполнять на станции технического обслуживания.

Выполняются все операции, предусмотренные в пп. А), Б), В) и Г) и дополнительно:

- проверить состояние и действие приводов воздушной и дроссельных заслонок смесительной камеры карбюратора;

- проверить крепление смесителя и карбюратора к выпускному трубопроводу;

- проверить герметичность и регулировочные параметры всей газовой системы и отдельно ее агрегатов (исключая газовый баллон) с помощью контрольно-регулировочного стенда, в т.ч.:

- герметичность клапанов и величину давления в 1 и 2 ступенях редуктора;

- герметичность разгрузочного устройства;

- герметичность и работоспособность электромагнитных клапанов (газового, бензинового, пускового);

- заменить фильтрующий элемент электромагнитного газового клапана или клапана в сборе;

- промыть, продуть и проверить на герметичность водяную полость подогревателя.

Е) Обслуживание по мере необходимости

Проверить и отрегулировать величину разряжения во 2 ступени редуктора низкого давления.

Отрегулировать количество подачи газа в смеситель на тройнике или дозаторе газа с помощью регулировочных винтов.

Провести регулировку частоты вращения коленчатого вала двигателя на режимах холостого хода.

Примечание: при освидетельствовании газового баллона в соответствии с установленными сроками производится контроль, регулировка, а при необходимости и ремонт блока арматуры.

5.1.2. Слив сжиженного нефтяного газа из газового баллона

Слив сжиженного нефтяного газа из автомобильных баллонов осуществляется на специализированных постах (станциях) и в следующих случаях:

- при нарушении герметичности запорно-предохранительной арматуры, резьбовых соединений на баллоне и в местах присоединения газопроводов;

- при проведении текущего ремонта, связанного с заменой баллонов, соединительных газопроводов, сварочных и окрасочных работ;

- при испытании газовой системы питания на герметичность сжатым воздухом или негорючим газом (N2, CO2) под давлением 1.6 МПа (опрессовка);

- при снятии баллонов ГСН для проведения иx освидетельствования или замены.

Порядок удаления газа из баллона:

- завести двигатель на газовом топливе;

- закрыть расходный вентиль на баллоне;

- выработать газ из магистрали до полной остановки двигателя;

- выключить зажигание;

- подсоединить к вентилю поровой фазы шланг с рабочим телом (инертным газом, азотом) для подачи в газовый баллон давления, превышающего на 1.5 - 2.0 атм. давление паровой фазы в резервуаре слива;

- подсоединить шланг от резервуара к наполнительному вентилю;

- открыть краны на присоединительных шлангах от резервуара и вытеснительной системы;

- открыть наполнительный вентиль и вентиль паровой фазы и удалить сжиженный газ из баллона в резервуар;

- закрыть наполнительный и вентиль паровой фазы;

- закрыть краны на шлангах от резервуара и вытеснительной системы;

- открыть вентиль паровой фазы и кран выпускной трубы и удалить остатки паров ГСН до давления в баллоне, не превышающего 0.1 МПа;

- закрыть вентиль паровой фазы и кран выпускной трубы и отсоединить шланг от вентиля;

- демонтировать газовый баллон с автомобиля (при необходимости).

5.2. Нормативные требования к организациям технологических процессов хранения, обслуживания и эксплуатации газобаллонных автомобилей на ГСН

При реконструкции АТП для эксплуатации ГБА на ГСН следует исходить из основного требования строительных норм для предприятий по обслуживанию автомобилей (ВСН 01-89).

На территории АТП должны быть предусмотрены две функциональные зоны - эксплуатационная и производственная.

Эксплуатационная зона предназначена для организации приема, выпуска и межсменного храпения подвижного состава (ГБА), производства работ ежедневного обслуживания (ЕО) и других сопутствующих работ, включая обязательную проверку герметичности газовых систем питания при выпуске ГБА на линию и при его возвращении в АТП.

Автомобили с герметичной газовой аппаратурой, работая на газе, могут направляться на мойку, открытую стоянку. При этом при постановке ГБА на хранение (стоянку) необходимо закрыть расходные вентили и выработать газ до момента самоостановки двигателя.

При постановке автомобиля на стоянку (хранение) в закрытое помещение даже при наличии герметичности газобаллонного оборудования и аппаратуры необходимо предварительно перед въездом в помещение закрыть расходные вентили, выработать газ из систем питания (до остановки двигателя), перевести питание двигателя на нефтяное топливо и заехать в помещение.

Перемещение автомобиля в пределах здания (помещения) должно производиться только на нефтяном топливе или с помощью вспомогательных средств.

При хранении ГБА, эксплуатирующих на ГСН, в закрытых помещениях могут размещаться в одноэтажных зданиях I - IV степени огнестойкости или на первом этаже в многоэтажных зданиях I - II степени огнестойкости. Эти здания не должны иметь подвальных помещений.

Площадки открытого хранения газобаллонных автомобилей могут быть оборудованы системой обогрева, конструкция которой должна исключать нагрев газового баллона.

В эксплуатационной зоне АТП должен быть предусмотрен пост для слива газа и дегазации баллонов автомобиля негорючим (инертным) газом (СО2, N2 и др.) и площадка для складирования дегазированных баллонов. В эксплуатационной зоне может быть организована и заправка ГБА сжиженным нефтяным газом (ГСН) с помощью ЦППЗ.

Производственная зона АТП предназначена для размещения зданий и сооружений для производства технического обслуживания (ТО-1 и ТО-2) и текущего ремонта (ТР) подвижного состава.

Периодичность технического обслуживания, нормы простоя в ТО и ТР на 1000 км пробега для ГБА установлены такими же как и для базовых моделей автомобилей, эксплуатируемых на жидком нефтяном топливе.

При техническом обслуживании ГБА помимо плановых воздействий, характерных для базовых моделей автомобилей, возникают дополнительные регламентные работы, связанные с наличием и спецификой газового оборудования. Эти виды работ должны выполняться на специализированных участках (боксах), выделяемых (или вновь создаваемых) в производственной зоне.

Заезд ГБА в зоны ТО разрешается (даже при наличии полной герметичности всего комплекта газобаллонного оборудования) только на нефтяном топливе или с помощью вспомогательных средств.

При отсутствии герметичности газовой аппаратуры (любого элемента или узла) газ из баллона автомобиля должен быть слит на посту слива газа, а баллон продегазирован негорючим (инертным) газом, о чем делается специальная запись в техдокументации автомобиля и в сопровождающих документах.

Взаимное расположение эксплуатационной и производственной зон АТП на территории предприятия должно обеспечивать разделение потоков персонала (водителей и производственных рабочих) при движении от административно-бытовых помещений к рабочим местам и обратно.

Санитарно - защитная зона АТП, эксплуатирующее ГБА, должна быть адекватна такой же зоне АТП, эксплуатирующему бензиновые автомобили.

5.2.1. Пост проверки герметичности газобаллонного оборудования

Пост проверки газобаллонного оборудования на герметичность может быть организован непосредственно на КПП или на специально выделенной площадке вблизи КПП.

Площадка должна иметь асфальтированное покрытие и размеры, равные наибольшему размеру эксплуатируемых ГБА плюс 1.5 м в каждую сторону.

Площадка должна иметь навес из несгораемых материалов, выполненных без ограждающих конструкций не менее, чем с двух сторон.

Проверка герметичности газовой магистрали автомобиля производится внешним осмотром. Утечку газа обнаруживают с помощью течеискателя или нанесением на соединения мыльной пены или машинного масла (зимой).

Полученные данные фиксируются в путевом листе.

В качестве течеискателя можно использовать прибор ТИГ - 2 или другие аналогичные приборы.

Течеискатель должен иметь световую и звуковою сигнализацию и снабжен регулятором компенсации фоновой концентрации углеводородных газов.

5.2.2. Пост слива газа

В составе поста слива ГСН должны быть предусмотрены:

- площадка с твердым покрытием для установки автомобиля с размерами, превышающими наибольшие габариты транспортного средства в плане на величину, не менее 1.5 м.;

- резервуар для ГСН, смонтированного в наземном или подземном положении;

- оборудование для создания избыточного давления в баллоне автомобиля при сливе газа и проведении дегазации;

- помещение для персонала, обслуживающего пост (из расчета 4.5 м. кв. на одного работающего).

Площадка поста слива ГСН должна быть расположена под навесом из несгорающих материалов.

Навес должен быть без ограждающих конструкций не менее чем с 2-х сторон.

При выборе местоположения поста слива ГСН и его технологической схемы следует руководствоваться следующими требованиями:

- площадка поста слива ГСН (совместно с участком дегазации баллонов) должна размещаться с подветренной стороны по отношению к производственным и административно - бытовым зданиям АТП;

- расстояния от площадки поста слива ГСН и его технологического оборудования (наземных и подземных резервуаров) до зданий и сооружений необходимо принимать согласно данным табл. 5.4.

Размещение и планировка поста слива ГСН должна исключать возможность разлива (растекания) ГСН по окружающей территории и как следствие этого возможность его последующего испарения.

Покрытие проездов у поста слива ГСН должно проектироваться безискровым и стойким к воздействиям нефтепродуктов.

Таблица 5.4.

РАССТОЯНИЕ ПОСТА СЛИВА ГСН И ЕГО ОБОРУДОВАНИЯ ОТ ЗДАНИЙ И СООРУЖЕНИЙ

Здания и сооружения

Расстояние от поста слива ГСН, м. не менее

Навес поста слива ГСН

Резервуары слива ГСН

Подземный емк. до 50 м. куб.

Наземные емк. до 20 м. куб.

Навес поста слива ГСН

 

10

 

Открытая площадка хранения автомобилен

20

20

20

Здания и сооружения предприятий промышленного и бытового назначения

20

40

20

Жилые дома

20

40

50

Общественные здания и сооружения

30

40

100

При разработке рабочего проекта поста слива и выборе технологического оборудования для АТП, эксплуатирующего газобаллонные автомобили - такси, следует руководствоваться следующими исходными данными:

- повторяемость операции слива ГСН на один автомобиль в год, раз - 3-4;

- среднее количество газа, сливаемого за один раз из баллона ГБА, л - 18;

- продолжительность слива, не более, мин - 8;

- с распределениями по сменам (%): - круглосуточный;

- 1 смена - 40

- 2 смена - 50

- 3 смена - 10*)

__________________

*) - В зависимости от организации перевозок и количества ГБА режим работы поста слива может быть изменен.

Технологические решения поста слива ГСН должны предусматривать систему пожарной и аварийной сигнализации, а также систему пожаротушения.

Пост слива ГСН должен иметь необходимое вспомогательное оборудование, обеспечивающее наружное освещение, освещение сливных и заправочных колонок (устройств), громкоговорящую связь и т.п.

В зависимости от вида использования оборудования и наличия первичных источников энергии возможны три варианта технологической схемы поста слива ГСН из баллона автомобиля: вытеснительный, компрессорный и теплообменный.

Принципиальная технологическая схема вытеснительного варианта установки показана на рис. 5.2.

Установка состоит из 4-х основных систем: системы вытеснения ГСН из баллона автомобиля; систем слива ГСН в резервуар; системы хранения газа и системы заправки баллонов автомобилей ГСН из резервуара.

Система подключается с помощью гибкого шланга к наполнительному вентилю 8 автомобильного газового баллона 9.

Система слива ГСН из баллона автомобиля в резервуар 32 состоит из трубопроводов, двух запорных вентилей 12 и 29, предохранительного клапана 6, манометра 14 и системы выпуска паровой фазы и автомобильного баллона 9 «на свечу», снабженной глушителем 13.

Система хранения ГСН состоит из резервуара 32, объемом 5 - 12 м. куб., уровнемера 25, предохранительного клапана 28, вентиля паровой фазы 27. контрольного манометра 10, запорных вентилей 29 и 24, смонтированных на сливной и запорной магистралях.

Система заправки ГСН баллонов автомобилей из резервуара состоит из электронасосного агрегата 22, фильтра 23, обратного клапана 21, манометров 16 и 18, скоростного клапана 17, гибкого шланга с заправочным наконечником 15 и запорного вентиля 20.

Система подключается к запорному вентилю 24 заборной магистрали резервуара 32.

В случае необходимости поддавливают ГСН в резервуаре 32 может быть использован баллон 1 с КПГ, соединенный с помощью запорных вентилей 33, 35 и 27 и обратного клапана 34 с паровой подушкой резервуара 32.

Слив ГСН из автомобильного баллона 9 осуществляется за счет выдавливания жидкой фазы сжатым природным газом из баллона 1 (аккумулятора). В зависимости от температуры наружного воздуха газовый редуктор 31 настраивается таким образом, чтобы давление газа на выходе на 0.15 - 0.20 МПа превышало давление насыщенных паров ГСН в резервуаре, которое определяется по манометру 10.

После настройки редуктора с помощью вентилей 3, 8, 4, 29 производят слив жидкой фазы до полного опорожнения баллона 9. Освобождение баллона от остатков газовой фазы, в т.ч. природного газа, производят с помощью открытия вентиля 12 «на свечу» или технические нужды.

Заправка баллонов автомобиля ГСН из рессивера 32 производится с помощью насоса 22 через заборную магистраль и заправочное устройство 15.

Принципиальная технологическая схема компрессорного варианта поста слива ГСН показана на рис. 5.3.

Она состоит также из 4-х систем и отличается от первого варианта только схемой вытеснения ГСН из автомобильного баллона, которая включает: компрессор 22, манометр 11, заправочный вентили 1, 20 и 23, соединенных газопроводом.

Рис. 5.2. Технологическая схема установки для слива ГСН (вытеснительный вариант)

1 - баллон со сжатым природным газом; 2, 3, 12, 20, 24, 27, 29, 33, 35 - вентиль; 4 - расходный вентиль жидкой фазы; 5 - тройник; 6, 28 - предохранительный клапан; 7 - расходный вентиль паровой фазы; 8 - наполнительный вентиль; 9 - баллон автомобильный для ГСН; 10, 14, 16, 18 - манометр; 11, 19, 28, 30 - штуцер; 13 - глушитель шума; 15 - заправочная головка; 17 - кран скоростной; 21, 34 - клапан обратный; 22 - электронасосный агрегат (НЧ-5/170-1); 23 - фильтр; 25 - уровнемер; 31 - редуктор высокого давления; 32 - резервуар для ГСН

Рис. 5.3. Технологическая схема установки для слива ГСН (компрессорный вариант)

1, 15, 19, 20, 23, 24, 28 - вентиль; 2 - расходный вентиль жидкой фазы; 3 - тройник; 4, 27 - предохранительный клапан; 5 - расходный вентиль паровой фазы; 6 - наполнительный вентиль; 7 - баллон автомобиля для ГСН; 8, 11, 13, 25 - манометр; 9, 14, 21, 25 - штуцер; 10 - заправочная головка; 12 - клапан скорое гной; 16 - клапан обратный; 17 - компрессор; 18 - уровнемер; 22 - электронасосный агрегат; 29 - резервуар для ГСН

Система подключается к наполнительному вентилю 6 на газовом баллоне 7, запорному вентилю 28 паровой фазы рессивера, а также через вентили 20 и 23 к сливной магистрали резервуара 29.

Система слива газа является замкнутой и не имеет выпуска поровой фазы «на свечу», как в первом варианте.

Вытеснение жидкой фазы ГСН из баллона автомобиля 7 в резервуар 29 осуществляется за счет нагнетания компрессором 22 паров ГСН, отбираемых из рессивера.

После слива жидкой фазы производится отсос паровой фазы компрессором до избыточного давления 0.03 - 0.05 МПа. Для этого необходимо предварительно закрыть вентили 1, 28 и открыть вентили 23, 20.

После отсоса паров закрывают вентили на баллоне, отсоединяют его от установки, снимают с автомобиля и доставляют (при необходимости) на пост дегазации.

Принципиальная технологическая схема теплообменного варианта поста слива ГСН показана на рис. 5.4.

Система вытеснения, состоящая из теплообменника 1 (2) с нагревательным элементом, дроссельного устройства 22, запорно-регулирующего вентиля 21, сблокирована с системой заправки газом автомобильных баллонов ГСН.

Система вытеснения подключена с одной стороны с помощью гибкого шланга к наполнительному вентилю 7 баллона 8, а с другой стороны - к обратному клапану 19 систем заправки баллонов автомобиля ГСН, Система заправки ГСН ничем не отличается от рассмотренных ранее вариантов.

Система слива ГСН из баллонов 8 автомобиля в резервуар 23 от рассматриваемых ранее вариантов отличается дополнительно схемой, состоящей из манометра 9, обратного клапана 13, запорного вентиля 11, форсунки 14 и газопроводов, соединяющих данную схему с системой слива газа и паровой фазы резервуара через запорный вентиль 26.

Эта схема необходима для освобождения автомобильного баллона от паровой фазы после слива газа с частичной рекуперацией газового топлива.

Рис. 5.4. Технологическая схема установки для слива ГСН (теплообменный вариант)

1 - электроподогрев; 2 - водо (паро) подогрев; 3 - расходный вентиль жидкой фазы; 4 - тройник; 5, 27 - предохранительный клапан; 6 - расходный вентиль паровой фазы; 7 - наполнительный вентиль; 8 - баллон автомобильный для ГСН; 9, 16, 30, 31 - манометр; 10, 17, 29 - штуцер; 11, 18, 21, 24, 26, 28 - вентиль; 12 - заправочная головка; 13, 19 - клапан обратный; 14 - форсунка; 15 - клапан скоростной; 20 - электронасосный агрегат (НЧ-5/170-1); 22 - дроссельное устройство; 23 - резервуар для ГСН; 25 - уровнемер

Вытеснение жидкой фазы ГСН из баллона автомобиля 8 осуществляется за счет давления паров ГСН, получаемых путем нагрева жидкой фазы, отбираемой на выходе насоса через регулировочный вентиль 21 и дроссельное устройство 22.

Регулирование давления паров ГСН производится за счет регулирования теплоподвода или массового расхода. Контроль за давлением паров осуществляется манометром 31 (или спецавтоматикой).

После слива жидкой фазы пары ГСН поступают из баллонов 8 в резервуар до момента выравнивания давления. Оставшиеся пары из баллона 8 выпускаются через вентиль 11 и обратный клапан 13 на форсунку 14 для сгорания или использования на технологические нужды.

Дополнительно, следует отметить, что генеральный план реконструкции АТП должен предусматривать движение транспорта к посту слива по односторонней схеме с учетом допустимых радиусов поворота транспортных средств.

Встречное движение автотранспорта на посту слива ГСН не допускается.

В составе поста слива ГСН следует предусмотреть:

- островки для размещения одной (или двух) газораздаточных колонок;

- помещения (павильон) для операторов с пультом управления и КИП.

Помещения для операторов поста слива ГСН должен быть не ниже III степени огнестойкости и иметь выход в сторону, противоположную раздаточной колонки.

Расстояние от помещения оператора до резервуара поста слива ГСН следует принимать не менее 5 м.

Примечание: Допускается не предусматривать отдельного помещения для оператора поста слива ГСН при условии размещения пультов управления и КИП в отдельном помещении производственного здания с возможностями визуального контроля за обслуживаемыми автомобилями.

Расстояние от газораздаточной колонки (колонок) на посту слива ГСН до других зданий и сооружений следует принимать (не менее), м:

- до помещения оператора (пульта размещения и КИП) - 4;

- до подземных резервуаров поста слива - 4;

- до наземных резервуаров - 6;

- до проезда (от края островка раздаточной колонки) - 0.8;

- ширина проезжей части на 1 м больше ширины автомобиля, но не менее - 3.

Островки для газораздаточных колонок и площадка у наземного резервуара для слива ГСН должны иметь возвышение над прилегающей проезжей частью на 0.15 - 0.2 м.

5.2.3. Пост дегазации баллонов

После слива ГСН и освобождения баллона от остатков паровой фракции баллон снимают с автомобиля и направляют на специализированный пост дегазации.

Дегазация баллонов после слива ГСН может производиться инертным или негорючим газом (гелий, аргон, азот, углекислота и др. или паром).

Участок дегазации баллонов ГСН может быть совмещен с постом слива ГСН или размещен отдельно.

При организации участка дегазации баллонов для ГСН и выборе технологического оборудования следует руководствоваться следующими исходными данными (применительно к баллону ГБА полным объемом Vб = 85 л:

- расход негорючего газа для дегазации, м. куб. - 0.25;

- расход пара на один баллон, (не менее) кг - 0.8;

- температура пара, °С - 105-110;

- давление пара, МПа - 0.11 -0.12;

- время пропаривания, мин - 10 - 12;

- трудоемкость дегазации одного баллона чел. ч. - 0.25.

Остатки воды из баллона после его дегазации паром должны сливаться (через воронку и отводящую трубу) в отдельный отстойник.

Конструкция отстойника должна предусматривать естественную вентиляцию не менее однократного воздухообмена и гидрозатворов перед присоединением его к коммуникационной сети.

При сооружении отстойника воды от дегазации баллонов ГСН на открытой площадке должны выполняться требования СНиП II-37-76.

Выпуск парогазовой или газовой смеси после дегазации баллонов должен осуществляться через выпускную трубу.

Диаметр выпускной трубы должен быть не менее 50 мм и ее высота 6 м от уровня пола, но не менее чем на 2 м выше кровли близлежащих зданий в радиусе до 20 м.

Выпускная труба должна иметь «глушитель» на выпуске.

Расстояние от поста дегазации баллонов для ГСН до зданий и сооружений следует принимать (не менее, м):

- до зданий и сооружений I и II степени огнестойкости - 9;

- до других зданий и сооружений промышленного и бытового назначения - 18;

- до жилых и общественных зданий - 20;

- до сливных резервуаров ГСН и газораздаточных колонок - 6.

Пост дегазации баллонов для ГСН может быть совмещен с постом дегазации баллонов для компримированного природного газа (КПГ), если таковой имеется на территории предприятия, и дегазация в этом случае осуществляется инертным (негорючим) газом (N2, СО2, и др.).

5.2.4. Участок (помещение) для хранения дегазированных порожних баллонов ГСН

При реконструкции АТП, эксплуатирующих ГБА на ГСН, следует предусмотреть площадку под навесом из несгораемых материалов для складирования и хранения порожних дегазированных баллонов ГСН.

Примечание: Хранение дегазированных порожних баллонов допускается в специально организованном помещении с принудительно - естественной вентиляцией.

Если дегазация баллонов ГСН производится инертным (негорючим) газом следует предусмотреть металлические шкафы (или несгораемые навесы) для хранения баллонов (не более 10) с газом, используемым для дегазации.

Участок (помещение) по хранению дегазированных порожних баллонов может быть расположен (совмещен) с постом слива ГСН.

Размеры помещения или площадки под навесом для складирования дегазированных баллонов должны определяться из следующих условий:

- срок освидетельствования автомобильных баллонов для ГСН - раз в 2 года;

- время хранения баллонов на участке, не более - 10 дн.

Расстояние от участка (помещения) хранения дегазированных баллонов до зданий и сооружений должны приниматься (не менее, м):

- до глухой стены зданий и сооружений предприятий I; II и III ст. огнестойкости - не нормируется;

- до зданий предприятий IIIб, IV, VIa и V степени огнестойкости - 15;

- до зданий административного бытового назначения - 15;

- до жилых и общественных зданий - 20.

5.2.5 Открытая площадка для хранения ГБА

Хранение ГБА на ГСН может быть организовано как на открытых площадях, так и в закрытых помещениях.

Открытые площадки для хранения ГБА должны иметь твердое покрытие и уклон - в продольном направлении оси автомобиля не более 1%, в поперечном - не более 4%.

Расстояние от площадки хранения ГБА до зданий и сооружений АТП должно составлять (не менее):

- до производственных зданий и сооружений I и II степени огнестойкости со стороны стен без проемов - не нормируется

- то же со стороны стен с проемами - 9 м;

- до производственных зданий и сооружений III степени огнестойкости:

- со стороны стен без проемов -6 м;

- со стороны стен с проемами - 12 м;

- до производственных зданий и сооружений IV и V степени огнестойкости независимо от наличия проемов - 15 м;

- до административных и бытовых здании:

- I и II степени огнестойкости - 9 м;

- III и др. степеней огнестойкости - 15 м;

- до площадок хранения автомобилей, работающих на нефтяном топливе - 5 м.

Указанные расстояния в ряде случаев могут быть уменьшены при соответствующем согласовании с территориальными органами Государственной пожарной службы.

Площадка открытого хранения ГБА допускается оборудовать средствами подогрева, в том числе с помощью инфракрасных беспламенных горелок, для облегчения запуска двигателей в холодное время (при температуре окружающей среды ниже минус 5 °С) при условии исключения нагрева газовых баллонов, установленных на автомобиле.

Выбор того или иного способа подогрева двигателей при хранении ГБА на вновь создаваемых открытых стоянках в АТП зависит от технических возможностей АТП с учетом экономической эффективности рассматриваемых вариантов.

5.2.6. Требования к площадке для размещения передвижных газозаправшиков ГСН

При варианте реконструкции производственно - технической базы АТП, связанной с установкой на территории автопредприятия (или вблизи нее) передвижного газозаправщика ГСН (типа ППЦЗ) или передвижной газотранспортной станции (типа ЦППТ) следует предусмотреть для этих целей специальную площадку.

Площадка должна иметь твердое покрытие и уклоны в продольном направлении размещения заправщика (станции) не более 1%, в поперечном - не более 2%.

Размеры площадки определяются условиями размещения самого заправщика (станции), заправляемых ГБА (по одному с каждой стороны заправщика (станции), технологическими расстояниями между подвижным составом и условиями обеспечения безопасного перемещения (въезда - выезда) самого ППЦЗ (ЦППТ) и ГБА.

Площадка для заправщика ГСН должна быть оборудована средствами пожаротушения (из расчета на 200 м. кв., не более) - порошковым (вместительностью 5л) и пенным (вместительностью 10 л) огнетушителями для тушения утечек газа и возможного пролива жидкого топлива соответственно, ящиком с песком, пожарным инвентарем.

Площадка должна иметь наружное освещение и громкоговорящую связь.

Минимальное расстояние (м) от стояночной площадки ПАГЗ до зданий и сооружений АТП должны быть не менее:

- административное здание и сооружения АТП - 25;

- открытая стоянка автомобилей (с подогревом) - 25;

- пост слива ГСН - 20;

- заправочная колонка для нефтяных топлив - 12;

- канализационные очистные сооружения для производственных сточных вод - 15;

- железнодорожные пути для слива и налива сжиженных газов (до оси пути) - 20;

- резервуары (подземные) для противопожарного запаса воды - 10;

- трансформаторная подстанция закрытая - 15;

- трансформаторная подстанция открытая - 40;

- резервуары подземные для хранения жидких топлив - 10;

- автомобильные дороги (до края проезжей части) - 10;

- канализация, теплотрасса, электрокабели - 3.5;

- водопровод, телефонные кабели - 2;

- колодцы подземных коммуникаций - 5;

- воздушные линии телефонной и радиотрансляционной сети - 20;

- воздушные линии электропередач - 1.5 высоты опоры:

- операторская АЗС - 9;

- жилые, коммунально-бытовые и другие здания вне зависимости от степени огнестойкости здания - 40;

- общественные здания вне зависимости от степени огнестойкости (детские и лечебные учреждения, учебные заведения, театры, клубы, кинотеатры, дома культуры, стадионы, и т.п.). (расстояния принимаются до границ земельных участков этих учреждений) - 60;

- подземные пути железных дорог промышленных предприятий, трамвайные пути (до оси пути) и автомагистрали (до края проезжей части) - 30;

- лесные массивы:

- хвойных пород - 50;

- лиственных пород - 20;

Указанные размеры могут быть изменены (в сторону уменьшения) при соответствующем обосновании пожарной безопасности АТП по согласованию с территориальными органами Государственной пожарной службы.

5.2.7. Определение «свободного» и «расчетного» объемов помещений для ТО, ТР и хранения ГБА на ГСН. Общие положения.

Требуемый объем работ и, соответственно, необходимый объем капвложений в реконструкцию производственной базы АТП, эксплуатирующих ГБА на ГСН, в том числе в реконструкцию постов ТО (ТО-1, ТО-2), ТР ГБА на ГСН, помещений для их закрытого хранения зависит от соотношения «свободного» и «расчетного» объемов, приходящихся на единицу обслуживаемых (эксплуатируемых на ГСН) ГБА.

Свободный объем Vсв помещений определяется по строительному объему (кубатуре) с коэффициентом 0.8, учитывающим объем, занимаемый строительными конструкциями, подвижным составом, оборудованием, т.е.:

Vсв = 0.8,м. куб.                                                                            (5.1.)

Где: V - суммарный строительный объем помещения, м. куб.*

Расчетный свободный объем помещения (Vc) для ГБА на ГСН определяется из условия возможного поступления сжиженного нефтяного газа из баллонов автомобиля в количестве mуд = 2.764** г на один м. куб. свободного объема (см. приложение 2) или из расчета:

, м. куб.                                                                 (5.2.)

Где: Vб - полный объем находящийся на ГБА бака ГСН (в литрах).

___________

* - V-a×б×H, где а, в, Н - соответственно, длина, ширина и высота помещения, м (по внутренней кубатуре).

** - величина mуд = 2.764 г/м. куб. определена в соответствии с нормами Государственной противопожарной службы МВД РФ «Определение категорий помещений и зданий по взрывопожарной и пожарной опасности», НПБ 105-95, введенных приказом ГУ ГПС МВД РФ № 32 от 31.10.95 г. с 01 января 1996 г. взамен ОНТП 24-86 МВД СССР.

Там же дается к вывод формулы (5.2.)

Пример: Общий строительный объем зоны ТО-2 АТП составляет 16.000 м. куб. В зоне ТО-2 будут обслуживаться ГБА, эксплуатируемые на ГСН:

ГАЗ - 33075, полный объем бака для ГСН Vб = 171 л;

ГАЗ - 31027, полный объем бака для ГСН Vб = 85 л;

ИЖ-2715 (7), полный объем бака для ГСН Vб = 65 л;

ВАЗ - 2107 (7), полный объем бака для ГСН Vб = 50 л.

Определить свободный объем помещения Vсв. и расчетные свободные объемы для ГБА.

1. Общий свободный объем помещения:

Vсв = 0.8V = 0.8×16.000 = 12800 м. куб.

2. Расчетные свободные объемы помещения для ГБА:

ГАЗ - 33075; Vc = 170×171 = 29070 м. куб.

ГАЗ - 31027; Vc= 170×85 = 14450 м. куб.

ИЖ-2715; Vc = 170×60 = 10200м. куб.

ВАЗ - 21077; Vc = 170×50 = 8500 м. куб.

При разработке проекта реконструкции производственной зоны ТО-1 (ТО-2, ТР) из всех возможных расчетных объемов Vc (в зависимости от типа и модели обслуживаемых ГБА) выбирается наибольший Vc.

5.2.8. Посты ТО-1, ТО-2, ТР, диагностики (Д) для ГБА на ГСН

Требуемый объем реконструкции постов ТО-1 (ТО-2, ТР) производственной зоны для обслуживания ГБА на ГСН зависит от фактической величины свободного объема помещени (Vсв.), и расчетного

Подчеркнем еще раз, что при разработке проекта реконструкции производственной зоны ТО-1 (ТО-2, ТР) из всех возможных расчетных объемов (в зависимости от типа и моделей обслуживаемых ГБА) выбирается наибольший (Vc), при этом существуют следующие правила:

1. Если удельный свободный объем помещения Vсв, определенный в соответствии с конструктивной схемой газобаллонного оборудования ГБА, больше расчетного свободного объема Vc, т.е выполняется условие:

                                                                            (5.3.)

то каких - либо дополнительных мероприятий по реконструкции производственной базы, предназначенной для ТО (ТР) ГБА на КПГ, в частности создание в таких помещениях каких-либо дополнительных вентиляционных или защитных устройств, не требуется.

Категоричность таких помещений по взрывопожарной и пожарной опасности остается такой же, как и для базовых автомобилей, эксплуатируемых на нефтяном топливе. Капзатраты в этом случае связаны только с приобретением необходимого технологического оборудования.

2. Если удельный свободный объем помещения Vсв меньше расчетного , т.е.

                                                                     (5.4.)

то участок ТО-1, ТО-2 для ГБА на КПГ должны быть дополнительно оборудованы:

- непрерывно действующей системой автоматического контроля воздушной среды с установкой датчиков довзрывных концентраций;

- постоянно действующей естественной вентиляцией, обеспечивающей однократный воздухообмен;

- системой аварийного (эвакуационного) освещения, выполненной во взрывозащищенном исполнении;

- системой звуковой и световой сигнализации;

- устройством аварийной приточно-вытяжной вентиляции с резервными вентиляторами и электроснабжением по I категории надежности;

- применение электрооборудования во взрывозащищенном исполнении в соответствии с ПУЭ 86 «Правила устройства электроустановок»;

- легкосрабатываемым конструкциями в соответствии с требованиями СНиП 2.09.02-85 «Производственные здания» как для помещений категории А (взрывопожароопасных)

При невозможности осуществления однократного воздухообмена только за счет приточной вентиляции следует дополнительно применять установку вытяжных вентиляторов с механическим побуждением, выполненных во взрывозащищенном исполнении с электроснабжением по 1 категории надежности (ПУЭ) и резервными вентиляторами.

Электроснабжение потребителей автоматического контроля воздушной среды, аварийного освещения и вытяжной вентиляции, выполненной во взрывозащищенном исполнении, следует предусматривать по 1-й категории надежности.

Сигнал о достижении уровня опасной концентрации газа от систем автоматического контроля должны поступать в помещения, где осуществляется круглосуточное дежурство обслуживающего персонала (диспетчерская, контрольно-пропускной пункт, помещение охраны и т.п.).

Световая сигнализация кроме того должна устанавливаться с наружной стороны входов служебных помещений.

Включение аварийной вентиляции следует предусматривать от приборов, сигнализирующих об опасной концентрации газа в воздухе в помещении, дублированных ручным пуском. Одновременно с этим должно обеспечиваться отключение приемников электрической энергии в помещении, а так же приточной вентиляции рассматриваемого и смежных с ним помещений.

Система автоматического контроля (САК) воздушной среды должна срабатывать при достижении в помещениях концентрации сжиженного нефтяного газа составляющей 20% от нижнего концентрационного предела воспламени (НКПВ), т.е. при концентрации 0.5% ГСН (по объему) или 8.85 г ГСН на м. куб. свободного объема помещений.

5.2.9. Системы автоматического контроля газовой среды помещений

При свободном объеме помещения меньше расчетного для обеспечения условий безопасного хранения, технического обслуживания, текущего ремонта и других работ, проводимых на ГБА с баллонами, заполненными ГСН, помещения, в которых находятся указанные автомобили должны быть оборудованы системой автоматического контроля (САК) воздушной среды.

При достижении в одной из контролируемых зон помещения концентрации ГСН в количестве 20% от НКПВ, т.е. 0.5% газа по объему САК должна обеспечивать:

- включение приточной вентиляции помещений храпения, ТО, ТР и диагностики, а также смежных помещений и смежных этажей в многоэтажном здании:

- включение звуковой сигнализации и аварийного освещения указанных помещений, а также всех путей эвакуации из них, включая рампы, с установкой световых указателей над выходами из помещений и через каждые 50 м по путям эвакуации;

- отключение всех прочих потребителей электроэнергии, за исключением:

- постоянно действующих приточно-вытяжной вентиляции во взрывозащищенном исполнении в объеме однократного воздухообмена;

- аварийного освещения и звуковой сигнализации;

- систем противопожарной автоматики и связи (при их наличии).

Звуковая сигнализация должна обеспечивать оповещение о срабатывании системы автоматического контроля воздушной среды всех работающих в здании.

Световая сигнализация должна устанавливаться в помещениях храпения, ТО и ТР ГБА со стороны входов смежных помещений, а также в помещениях с постоянным круглосуточным пребыванием людей (помещение охраны и т.п.).

Контроль за состоянием воздушной среды в основных помещениях АТП, а также управление и контроль при срабатывании САК наряду с местными системами контроля и управления следует осуществляться с пульта диспетчера АТП.

В предприятиях, эксплуатирующих Г'БА, системой автоматического контроля воздушной среды должны оборудоваться также заглубленные помещения насосных станций, водоснабжения и канализации, размещенных на территории предприятия, приемные резервуары в помещениях очистки сточных вод от мойки автомобилей, с выполнением мероприятий по автоматическому включению вентсистем для проветривания.

Места установки датчиков САК определяются при конкретном проектировании, исходя из мест наиболее вероятного скопления газов, размещения технологического и вентиляционного оборудования (систем), конструктивных особенностей зданий типа и вида применяемых датчиков. Но при этом должны выполняться следующие основные требования:

- так как ГСН в 1.4 - 1.5 раза тяжелее воздуха и его пары скапливаются снизу, то в помещениях хранения, ТО, ТР, Д ГБА датчики следует размещать на высоте 0.1 м от уровня пола и на расстоянии (по горизонтали) не далее 3 м от места расположения газовой системы питания автомобиля, но не менее одного датчика (приемного устройства) на каждый рабочий пост ТО и ТР и с обязательной установкой их в углах помещений;

- датчики следует устанавливать также в осмотренных канавах по одному на каждый рабочий пост канавы, а также в заглубленных помещениях насосных станций водоснабжения и канализации, помещении очистки сточных вод от мойки автомобилей по одному датчику на каждые 100 м. кв. площади помещения;

- для помещений, смежных с помещениями хранения, постов ТО и ТР автомобилей, в которых размещены вторичные приборы систем автоматического контроля воздушной среды, а также электрозащиты аварийного освещения и вытяжной вентиляции во взрывозащищенном исполнении должно соблюдаться следующее правило: полы этих помещений должны быть подняты не менее, чем на 0.15 м от уровня пола помещений хранения, постов ТО и ТР автомобилей.

В качестве САК воздушной среды в основных помещениях АТП могут быть использованы стационарные газоанализаторы и сигнализаторами с датчиками, серийно выпускаемые промышленностью.

Технические характеристики ряда систем сигнализации на ГСН и заводы - изготовители представлены в табл. 5.6.

Таблица 5.6.

СИСТЕМЫ СИГНАЛИЗАЦИИ ДОВЗРЫВНЫХ КОНЦЕНТРАЦИЙ ГАЗОВОЗДУШНЫХ СМЕСЕЙ ДЛЯ ПРОИЗВОДСТВЕННЫХ ПОМЕЩЕНИЙ

Модель

Число датчиков

Определяемый компонент

Сигнальная концентрация , % от НКПВ

Изготовитель

СТМ-10-001Д

1

Метан, пропан, бутан и др.

20

Смоленский завод средств автоматики ПО «Аналит-прибор»

СТМ-10-008Д

8

-

20

То же

Комплекс газового контроля ГКГ - 1-1

8

-

20

Карагандинский прибороремонтный завод

СГХ - 10

8

Метан, пропан, бутан и др.

20

Конотопский завод «Красный металлист»

Сигнал - 03М

8

-

20

ПКФ «И.К.С.» г. Смоленск

5.2.10. Участок для проведения ТО и ремонта ГБА на ГСН

Контроль и регулировку газовой системы питания (без снятия их с автомобиля) выполняют в отдельном специально оборудованном помещении, изолированном от других помещений перегородками (см. рис. 5.6.), и проводят на газовом топливе, находящемся в баллоне автомобиля.

При отсутствии газа в баллоне автомобиля его источник должен находиться снаружи помещения. В качестве такого может использована установка слива ГСН или специально заправленные газом баллоны, расположенные в закрытом металлическом шкафу.

ТО и текущий ремонт газовой аппаратуры, снятой с автомобиля, следует выполнять в специализированном цехе; допускается проведение указанных работ в помещении карбюраторного или дизельного участков.

При этом необходимо предусмотреть смежное помещение площадью около 9 м. кв. для размещения компрессорной установки и аккумулятора (из 2-х 50-ти литровых баллонов на рабочее давление до 20 МПа) для сжатого воздуха.

Требования к участку по ТР газовой аппаратуры аналогичны требованиям к помещениям для хранения газобаллонных автомобилей.

Примерная технологическая планировка участка по ТО и ТР газобаллонных автомобилей в условиях автотранспортного предприятия приведена на рис. 5.6, цеха по ТО и ТР газовой аппаратуры на рис. 5.7.

5.6. Участок ТО и ТР газобаллонных автомобилей.

I - Пост ТО и ремонта ГБА; II - цех ремонта и регулировки газовой аппаратуры.

1 - мотор-тестер; 2 - стеллаж для хранения газовой аппаратуры; 3 - верстак слесарный; 4 - передвижная установка для проверки и регулировки ГА; 5 - подставка под оборудование; 6 - газоанализатор; 7 - станок сверлильный; 8 - стол канцелярный; 9 - ящик для мусора; 10 - ящик для песка: 11 - огнетушители;12 - газобаллонный автомобиль; 13 - тележка для перевозки газовых баллонов; 14 - передвижной пост слесаря-ремонтника; 15 - автомобильный подъемник.

П - принудительная вентиляция;

* - подвод силовой эл. энергии;

В - подвод воды;

# - подвод сжатого воздуха.

Рис. 5.7. Примерная планировка цеха То и ТР газовой аппаратуры в АТП.

1 - стол приемки; 2 - стеллаж; 3 - мойка наружная; 4 - стеллаж для чистой аппаратуры; 5 - ящик с обтирочным материалом; 6 - точило; 7 - станок сверлильный; 8 - мойка для деталей; 9 - верстак слесарный; 10 - пост для ТР РНД; 11 - пост для ТР смесителей; 12 - установка компрессорная; 13 - рессивер для сжатого воздуха; 14 - стенд для контроля и регулировки ГА; 15 - стеллаж готовой продукции; 16 - стол для хранения документации; 17 - рукомойник; 18 - ящик с песком; 19 - ящнк для мусора.

5.2.11. Помещения для хранения ГБА на ГСН

В закрытых помещениях ГБА могут размещаться в одноэтажных зданиях I - IV степени огнестойкости или в многоэтажных зданиях I и II степени огнестойкости при размещении их на нижних этажах (при возможности - на первом). Эти здания не должны иметь подземные этажи (подвалы), а также быть пристроены к зданиям других предприятий. При этом в многоэтажных зданиях хранение ГБА следует предусматривать отдельно (на отдельных этажах) от автомобилей, работающих на бензине.

В помещениях хранения ГБА не допускается устройство или наличие подземных сооружений: подвалов, колодцев, тоннелей, приямков.

Если для данной категории (моделей) ГБА свободный объем помещения для хранения

Vсв больше расчетного , (формула (5.1.)), то условия хранения ГБА при указанных выше требованиях остаются такими же, как и для базовых моделей, эксплуатируемых на нефтяном топливе, и каких-либо дополнительных мероприятий по реконструкции помещений для хранения ГБА не требуется.

Если свободный помещения для хранения ГБА, меньше расчетного (формула (5.2))*), то должны выполняться все требования, изложенные в разделе 5.2.7.

________

*) - этот вариант наиболее часто встречается на практике.

При достижении в помещении хранения ГБА концентрации газа, составляющей 20% от нижнего концентрационного предела воспламенения (НКПВ), т.е. для ГСН 0.5% (по объему) в воздухе, система автоматического контроля (САК) воздушной среды должна обеспечить:

- включение звукового и светового (мигающего) сигнала;

- аварийного освещения помещений хранения ГБА, а также всех путей эвакуации из них, включая рампы с установкой световых указателей под выходами из помещений и через каждые 50 м по путям эвакуации;

- включение приточной вентиляции в помещении хранения ГБА, а также смежных помещений и в смежных этажах в многоэтажном здании;

- отключение всех прочих потребителей электроэнергии, за исключением приточно-вытяжной вентиляции и систем противопожарной автоматики и связи.

Системы приточной вентиляции должны иметь устройства дистанционного пуска, расположенные у эвакуационных выходов снаружи помещения.

Звуковая сигнализация должна обеспечивать оповещение о срабатывании САК всех работающих в здании.

Световая сигнализация должна устанавливаться в помещении хранения ГБА и со стороны входов смежных помещений с постоянным круглосуточным пребыванием людей (помещения охраны и т.п.).

Помещения хранения ГБА должны отделяться от других помещений противопожарными стенами (2-го типа) и перекрытиями (2-го типа).

Все помещения для хранения ГБА на ГСН должны быть оборудованы средствами противопожарной защиты в соответствии с действующими нормами и правилами согласно их категориям по взрывопожарной и пожарной опасности.

5.2.12. Помещения для мойки ГБА

Въезд ГБА в помещение для мойки осуществляется как на нефтяном топливе, так и на ГСН при условии положительных результатов проверки герметичности газозапорной арматуры на баллонах автомобиля.

Если удельный свободный объем помещения мойки Vсв больше расчетного Vc (формула (5.1.)), то каких - либо дополнительных мероприятий по реконструкции помещения мойки для ГБА на ГСН не требуется, при условии, что в приемных резервуарах для сточных вод от мойки автомобилей имеется в наличии приточно - вытяжная вентиляция, обеспечивающая однократный воздухообмен.

Если удельный свободный объем помещения мойки Vсв меньше расчетного (формула (5.2)), то помещение мойки должно быть оборудовано:

- системой автоматического контроля воздушной среды с установкой датчиков довзрывных концентраций (по линии перемещения ГБА при мойке);

- постоянно действующей естественной вентиляцией или созданием условий постоянного проветривания помещения, обеспечивающих однократный воздухообмен;

- системой звуковой и световой сигнализации, расположенной внутри помещения и снаружи въездных и выездных ворот;

- системой приточной вентиляции в приемных резервуарах для сточных вод от мойки ГБА на ГСН.

Система автоматического контроля воздушной среды должна срабатывать при достижении в помещении мойки концентрации ГСН при 20% от НКПВ.

Хранение или техническое обслуживание (текущий ремонт) ГБА непосредственно в помещении для мойки категорически запрещено.

При выполнении указанных выше мероприятий помещение мойки для ГБА может быть отнесено к категории Д по взрывопожарной опасности (формула (5.1)) или категории В3 (формула (5.2)) при выполнении указанных выше мероприятий.

6. ТЕХНОЛОГИЧЕСКОЕ ОБОРУДОВАНИЕ ДЛЯ ПРОВЕДЕНИЯ ДИАГНОСТИРОВАНИЯ, ТО И ТР ГАЗОВОЙ АППАРАТУРЫ

При проведении работ по диагностированию, техническому обслуживанию и текущему ремонту газовой аппаратуры используют различное технологическое оборудование выполненное в виде стационарных, передвижных и переносных стендов.

Для выполнения работ по ТО и ТР газобаллонного оборудования отечественной промышленностью выпускаются комплекты специализированного инструмента.

6.1. Установка передвижная для проверки газовой аппаратуры ГБА, мод. К-277.

Предназначена для проверки газовой системы питания непосредственно на автомобиле. Обеспечивает проведение следующих видов работ:

- проверку герметичности: газовой магистрали, редуктора и вентилей;

- регулировку газового редуктора;

Состоит из стола на колесах, панели приборов с пультом управления, вакуумного насоса и ресивера сжатого воздуха и вакуума, которые расположены в виде отдельных узлов внутри стола. Установка представлена на рис. 6.1.

Технологические операции:

- проверка срабатывания и герметичности ЭМК;

- проверка и регулировка газового редуктора;

- проверка герметичности редуктора и его клапанов;

- регулировка давления 1-й ступени;

- проверка герметичности разгрузочного и экономайзерного устройства и открытие клапана 2-й ступени;

- проверка герметичности клапана 2-й ступени;

- регулировка давления 2-й ступени.

Техническая характеристика:

Давление воздуха, подводимого из рессивера, МПа - 18 - 20

Предельное остаточное давление (вакуум), Па - 2

Мощность, кВт - 0.5

Габаритные размеры - 1430×620×1580

Масса, кг - 180

Изготовитель: Новгородский з-д «Автоспецоборудование»

Рис. 6.1 Передвижная установка К-277 для проверки аппаратуры автомобилей

1 - стол; 2 - панель приборов; 3, 4, 5 - манометры; 6 - вакууметр; 7 - водяной пьезометр; 8 - сигнальная лампа; 9 - кнопка вакуумного насоса; 10 - вентили; 11 - ящики; 12 - колесо

6.2. Стенд для проверки газовой аппаратуры газобаллонных автомобилей, мод. К-278

Предназначен для проверки газовой аппаратуры систем питания автомобилей в снятом с автомобиля состоянии на специализированном участке. Обеспечивает проведение следующих видов работ:

- проверку и регулировку;

·газовых редукторов;

·расходного и наполнительного вентилей;

·электромагнитных газовых клапанов;

- контроль отдельных элементов ГБА, их демонтаж и монтаж.

Состоит из стола, панели приборов с пультом управления, вакуумного насоса и ресивера сжатого воздуха и вакуума; компрессорной установки и аккумулятора воздуха высокого давления.

Общий вид стенда показан на рис. 6.2.

Стенд обеспечивает проведение следующих видов работ:

- испытание наполнительного вентиля; *)

- испытание расходного вентиля; *)

- испытание ЭМК; *)

- проверку и регулировку газового редуктора;

- испытание дозирующе-экономайзерного устройства;

- регулировку давления 1 и 2 ступени;

- испытание разгрузочного устройства газового редуктора.

________

*) - может проводиться в составе «блока арматуры»

Техническая характеристика:

Тип - пневматический, стационарный с компрессором КР - 2

Давление воздуха, подводимого из рессивера, МПа - 18 - 20

Давление воздуха в магистрали низкого давления, МПа - 1.5

Общая мощность, установленных двигателей, кВт - 10

Габаритные размеры пульта, мм - 1200×620×1335

Масса пульта, кг - 190

Изготовитель: Новгородский з-д «Автоспецоборудование»

Рис. 6.2. Стенд для проверки газовой аппаратуры автомобилей, мод. К-278

1 - стенд; 2 - крестовина; 3 - рессивер; 4 - электрокомпрессор типа КР-2; 5 - шкаф аппаратный; 6 - насос вакуумный типа 2ВНР - 5Д

6.3. Пост для текущего ремонта газовой аппаратуры, мод. Р-991.

Предназначен для проведения текущего ремонта агрегатов газовой аппаратуры и ее отдельных узлов.

Обеспечивает проведение следующих видов работ:

- разборку (частичную или полную) агрегатов ГА;

- текущий ремонт агрегатов и узлов;

- сборку агрегатов.

Состоит (рис. 6.3.) из верстака, на плоскости которой крепится приспособление для разборки газовых редукторов, карбюраторов - смесителей; тиски; настольная лампа; стойка для запасных частей.

Техническая характеристика:

Габаритные размеры, мм - 1200×650×1400

Масса, кг- 120

Изготовитель: Новгородский з-д «Автоспецоборудование»

Рис. 6.3. Пост Р-991 для текущего ремонта газовой аппаратуры:

1 - стол; 2 - лампа; 3 - приспособление для разборки карбюраторов - смесителей; 4 - стойка-5 - тиски; 6 - приспособление для разборки редуктора.

6.4. Стенд для проверки и регулировки газовых редукторов низкого давления «Автоэко»

Стенд позволяет контролировать следующие параметры:

- герметичность редуктора и дозирующе-экономайзерного устройства;

- разрежение открытия разгрузочного устройства и клапана дозирующе-экономайзерного устройства

- давление газа в первой и второй ступени редуктора;

- ход штока.

Техническая характеристика:

Тип - стационарный, пневматический

Внешний источник питания - сжатый воздух под давлением 0.3 - 0.5 МПа

Габаритные размеры, мм - 650×470×1570

Масса, кг - 150

Изготовитель - АМО «ЗИЛ»

6.5. Универсальный стенд для проверки и регулировки газовой аппаратуры, мод. ИС-001

Универсальный стенд мод. ИС-001, выпускаемый ЗАО «Автосистема», обеспечивает:

- проверку герметичности узлов и агрегатов газовой аппаратуры;

- проверку и регулировку параметров узлов и агрегатов ГА, в т.ч. проверку величины минимального и максимального расхода газа через агрегаты;

- проверку электромагнитных клапанов на срабатывание;

- проверку рабочих параметров комплектов ГА в сборе.

Стенд содержит следующие основные части и узлы:

- пульт управления с измерительными приборами;

- стол монтажный;

- баллон для сжатого воздуха на давление 19,6 МПа;

- насос вакуумный для создания динамического (рабочего) разрежения;

- подводящие и распределительные трубопроводы и арматура.

Общий вид стенда приведен на рис. 6.4.

Техническая характеристика:

Тип - стационарный, пневматический;

Рабочее тело - сжатый воздух;

Давление рабочего тела, подводимого к стенду, МПа - 0.95 - 0.78; 14.7 - 19.6

Давление рабочего тела, подводимого к проверяемому объекту, Мпа - 0.196; 1.96; 4.9; 14.7 - 19.6. Возможно изменение давления в широком диапазоне

Статическое разрежение, создаваемое в закрытой полости проверяемого изделия, МПа - минус 0.065

Динамическое разрежение, создаваемое на выходе из проверяемого объекта, Па (мм. Вод. Ст.) - минус 250 (-25)

Максимальный расход рабочего тела, м. куб./час - 50.0

Минимальный расход рабочего тела, м. куб/час - 0.2

Напряжение подводимого электропитания, В - 380/220

Напряжение постоянного тока, подводимого к электромагнитным клапанам, В - 24, 12, 8

Максимальная мощность электропитания, потребляемая стендом, кВт - 0.4

Масса стенда, кг - 200

Изготовитель - ЗАО «Автосистема»

В настоящее время ЗАО «Автосистема» освоено серийное производство стендов - ИС-002, ИС-003, ИС-004

Рис. 6.4. Стенд ИС-001

М1 … М6 - манометры; К1 ... К10 - выключатели; Ш3 ... Ш6 - выводы для подключения проверяемых приборов к пневматическим магистралям стенда; В1 ... В3, РД1 ... РД3 - вентили регулировки давления РВД; 1 - манометры; 2 и 8 - контрольные лампы; 3 - выключатель питания; 4 - защитный колпак; 5 - кронштейн для крепления агрегатов; 6 и 7 - выводы для подключения высокого давления Ш1 и Ш2; 9 - пьезометр; 10 - ротаметр; 11 - выводы для подключения источника постоянного тока

6.6. Переносной стенд для проверки газовой аппаратуры НПФ «САГА»

Научно-производственная фирма «САГА» разработала и освоила выпуск малогабаритного переносного стенда (см. рис. 6.5.). Стенд предназначен для контроля давления и разрежения при проверке и регулировке газовой аппаратуры снятой с автомобиля или непосредственно на автомобиле. Максимальное давление проверки - 1.6 МПа

Общий вид переносного стенда НПФ «САГА» и его пневматическая схема приведены на рис. 6.5.

Рис. 6.5. Стенд НПФ «САГА»:

а - общий вид; б - пневматическая схема; 1 и 3 - манометры; 2 - вентиль; 4 - вакууметр; 5 - внешний компрессор; 6 - ручной вакуумный насос; 7 - ресиверы; 8 - выводы под соединительные шланги; 9 - проверяемый РНД

На передней панели корпуса расположены два манометра 1 и 3 и вакууметр 4. В корпусе расположен вентиль 2 для подачи к редуктору рабочего давления 1.6 МПа. На боковой панели расположены выводы 8 для подключения проверяемого агрегата или узла и подсоединения ресиверов 7. Манометры и вакууметр объединены трубопроводами в пневматическую схему. В комплект стенда входит ручной вакуумный насос 6.

6.7. Течеискатель горючих газов ТИГ-2

Течеискатель предназначен для обнаружения мест утечек углеводородных газов (метан, пропан, бутан и др.) в газобаллонном оборудовании автотранспортных средств.

Течеискатель включает в себя электронный и аккумуляторный блоки, зонд с полупроводниковым газочуствительным датчиком. В комплект также входят удлинитель зонда и блок зарядки. Течеискатель имеет звуковую и световую сигнализацию и снабжен регулятором компенсации фоновой концентрации горючего газа. Питание прибора осуществляется от четырех встроенных аккумуляторов стандарта R14.

Техническая характеристика течеискателя ТИГ-2

Порог чувствительности по метану, %

не хуже 0.1

Время срабатывания звуковой и световой сигнализации, С, не более

3

Уровень взрывозащиты

взрывобезопасный

Маркировка

iExdibsIICT6X

Напряжение питания, В

6

Время непрерывной работы без подзарядки аккумуляторов, ч., не менее

8

Габаритные размеры, мм

267×65×38

Масса, кг, не более

0.6

Разработчик и изготовитель

фирма ЗАО

«VEM», г. Москва

6.8. Комплект инструмента для ТО и ТР газовой аппаратуры, мод. И-139

Предназначен для выполнения монтажно-демонтажных и регулировочных работ при техническом обслуживании и ремонте газовой аппаратуры.

Комплект включает: инструмент (ключи рожковые, накидные, торцевые, бородки и т.д.), выпускаемые по ГОСТу; приспособления и специнструмент.

Техническая характеристика:

Количество единиц инструмента - 24

Габаритные размеры футляра, мм - 460×225×76

Масса, кг - 13

Изготовитель: Казанский ОЭЗ «Автоспецоборудование»

7. СРЕДСТВА И ПОРЯДОК ЗАПРАВКИ БАЛЛОНОВ АВТОМОБИЛЕЙ СЖИЖЕННЫМ НЕФТЯНЫМ ГАЗОМ

7.1. Автомобильная газозаправочная станция.

Стационарные автомобильные газозаправочные станции (АГЗС) предназначены для приема, хранения ГСН и заправки газобаллонных автомобилей.

Схема современной АГЗС приведена на рис. 7.1. Газ на станцию доставляют обычно с помощью специальных автоцистерн (газовозов).

Рис. 7.1. Схема газозаправочной станции для заправки автомобиля сжиженным нефтяным газом.

1 - емкость; 2 - автоцистерна; 3 - насос; 4 - электродвигатель; 5 - фильтр; 6 - электрозадвижка; 7 - газораздаточная колонка; 8 - дегазатор; 9 - счетчик жидкости; 10 - регулятор; 11 - скоростной клапан; 12 - гибкий шланг; 13 - пульт управления.

При сливе газа из цистерны 2 в резервуар АГЗС 1 используют два гибких шланга: по одному из них происходит слив газа, по другому выравнивание давления паров ГСН в соединяющихся сосудах.

Заправка баллонов автомобилей ГСН из резервуара АГЗС осуществляется самовсасывающим насосом 3 вихревого типа, который приводится в движение взрывозащищенным электродвигателем 4 по сигналу с пульта управления 13. После насоса на магистральной линии установлен фильтр 5 и электрозадвижка 6. Насос 3 подает ГСН в газораздаточные колонки 7, оборудованные дозатором 8, счетчиком 9 и регулятором 10. В баллоны автомобилей жидкость поступает через скоростной клапан 11 по гибкому шлангу 12 со специальным заправочным штуцером, который соединяется с заправочным устройством автомобиля (если такое имеется в наличии) или с заправочным штуцером блока арматуры непосредственно на баллоне автомобиля.

7.2. Блочно-комплектные станции для ГСН.

Блочно-комплектная станция (АГЗС - БКИ) состоит из технологического блока, блока управления резервуаром ГСН, трубопроводов обвязки, двух сливных колонок и заправочных колонок.

В технологическом блоке размещаются три насоса типа НЧ5/170, два испарителя для повышения давления с тремя электронагнетателями по 5 кВт каждый, запорная арматура с электроприводом.

В блоке управления размещены операторская, система отопления и вентиляции.

Texнические характеристики блочно-комплектных станций для ГСН представлены в таблице 7.1.

Таблица 7.1

БЛОЧНО-КОМПЛЕКТНЫЕ СТАНЦИИ БКИ-600\БКИ-300

Показатели

Ед. изм.

Величина

Производительность при условной заправке 140 л.

Запр/сутк

600/300

Время заправки, не более

мин

6

Количество резервуаров для ГСН при геометрическом объеме одного резервуара 25 м./куб.

шт.

4/2

Число заправочных колонок

шт.

5/2

Объем испарителя

м. куб.

0.34

Тип счетчика отпускаемого газа

-

ПХУ-25-М16

Потребляемая мощность

кВт/ч

97.3

Расчетное число обслуживаемых ГБА, дислоцируемых в районе расположения АГЗС

ед

1800/900

7.3. Передвижные газозаправщики.

Передвижные газозаправщики предназначены для транспортировки, хранения и заправки газобаллонных автомобилей сжиженным нефтяным газом. Технические характеристики газозаправщиков приведены в таблице 7.2.

Каждый из приведенных в таблице заправщиков обеспечивает один пост заправки при рабочем давлении 1.6 МПа и продолжительностью заправки 5-8 мин.

Заправщик оборудован счетчиком расхода сжиженного газа типа УИЖГ-20М.

Гидроиспытания цистерн газозаправщиков проводятся под давлением 2.3 МПа.

Для обеспечения безопасности эксплуатации цистерны оборудуются огнетушителями, устройствами для снятия статического электричества и отключения аккумуляторов во время сливо-наливных операций. Глушители автомобилей-тягачей выведены вперед и снабжены искрогасителями. Время заправки одного ГБА составляет в среднем 5 - 6 мин.

Пункт заправки ГБА от заправщика состоит из поста стоянки газозаправщика, проездного поста для обслуживающего персонала.

К местам размещения передвижных газозаправщиков предъявляются следующие требования изложенные в разделе 5.2.6.

Таблица 7.2.

ПЕРЕДВИЖНЫЕ ГАЗОЗАПРАВЩИКИ
(технические характеристики)

Показатели

Модели передвижных станций

ЦППЗ-12-885

ППцЗ-12-885М

ПЩТ-15-9357

ППцЗ-33.9

ППцТ-36.3

Автомобиль тягач

ЗИЛ-441510

ЗИЛ-441510

ЗИЛ-441510

КамАЗ-5411

КрАЗ-258Б1

Шасси полуприцепа, типа

ОдАЗ-885

ОдАЗ-88514

ОдАЗ-9357

ЧМЗАП-5524ПА

ЧМЗАП-5524ПА

Геометрический объем цистерны, м.куб.

12.0

12.45

15.2

33.9

36.3

Полезный объем цистерны при коэф. заполнения 0.85

10.2

10.85

12.9

28.8

30.85

Средняя масса перевозимого газа, кг

5200

5400

6450

14400

15420

Масса цистерны без газа, кг

10500

10200

11075

23880

23960

Модель насоса

65/140А

65/140А

НЧ-5/170-1

НЧ-5/170-1

НЧ-5/170-1

Для функционирования пульта управления газозаправщика и его насосного оборудования к площадке необходимо подвести электроэнергию 380 В с потребляемой мощностью не менее 18 кВт;

Дороги и подъезды к площадке для заправки, а также подходы к средствам тушения пожара должны быть свободны и находиться в исправном состоянии.

На площадке на видном месте должно быть вывешены:

- надпись «Не курить!»;

- правила пожарной безопасности;

- фамилия, имя, отчество ответственного за пожарную безопасность.

7.4. Основные операции при заправке сжиженным нефтяным газом.

Заправка автомобиля сжиженным нефтяным газом осуществляется в следующей последовательности:

- остановить двигатель, выключить зажигание;

- установить автомобиль на стоячный тормоз;

- открыть крышку вентиляционной коробки арматуры;

- отвернуть заглушку с наполнительного штуцера блока арматуры или пробку с заправочного устройства, если такое имеется в наличии и ввернуть переходник;

- подсоединить штуцер заправочного шланга газонаполнительной станции или передвижного газозаправщика к наполнительному вентилю;

- открыть наполнительный вентиль на блоке арматуры; открыть кран заправочного шланга и произвести заправку.

Заправка контролируется по показателю уровня и прекращается автоматически за счет срабатывания мультиклапана при достижении предельного уровня в баллоне. При этом стрелка указателя уровня топлива должна находиться в положении 4/4. Переполнение баллона сжиженным газом не допускается.

После заправки:

- закрыть заправочный вентиль;

- сбросить давление из заправочного шланга;

- отсоединить штуцер заправочного шланга и навернуть заглушку или пробку на заправочный штуцер или устройство;

- закрыть вентиляционную коробку крышкой.

В целях безопасности при заправке индивидуального автотранспорта сжиженным нефтяным газом водитель обязан соблюдать требования правил газонаполнительной станции, а также:

- не стоять около наполнительного шланга во время наполнения баллонов;

- не подтягивать гайки и соединения газовой аппаратуры, находящейся под давлением;

- не производить регулировку и ремонт газовой аппаратуры.

8. КОНТРОЛЬ (ИСПЫТАНИЯ) ГАЗОТОПЛИВНОЙ СИСТЕМЫ ПИТАНИЯ НА ГЕРМЕТИЧНОСТЬ

Контроль газотопливных систем питания ГБА, работающих на ГСН, на герметичность соединений составляющих ее агрегатов и узлов проводят на специализированных участках (постах) в следующих случаях:

- после установки на базовое АТС комплекта ГБО для работы на ГСН;

- у ГБТС, на которых прошла смена баллонов в следствии истечения срока их освидетельствования;

- у ГБТС, попавших в дорожно - транспортное происшествие и имеющих отказы, связанные с необходимостью демонтажа и последующего монтажа газовых баллонов, соединительных газопроводов, запорно - расходной и предохранительной аппаратуры;

- у ГБТС, с возникшими неисправностями агрегатов и узлов ГБО, для устранения которых при проведении ТО и ТР требуется их снятие с автомобиля.

Испытания на герметичность проводятся в соответствии с требованиями нормативного документа: Технические условия ТУ 152-12-008-99 (с изменениями № 1) «Автомобили и автобусы. Установка на автомобили газобаллонного оборудования для работы на газе сжиженном нефтяном (ГСН). Приемка и выпуск после установки. Испытания газотопливных систем».

8.1. Подготовка ГБТС к испытанию газотопливной системы питания.

8.1.1. Полностью укомплектованное и вымотое ГБТС установить на рабочее место для проведения испытаний.

8.1.2. Произвести наружный осмотр всего ГБО.

Особое внимание необходимо обратить на соединения трубопроводов и шлангов.

8.1.3. Проверить легкость открытия и закрытия наполнительного и расходного вентилей, магистрального электромагнитного газового клапана.

Убедиться в отсутствии газа в баллоне (баллонах).

8.1.4. Закрыть расходные вентили на баллоне.

8.1.5. Снять защитный колпачок заправочного устройства или наполнительного вентиля и подсоединить шланг подачи сжатого воздуха.

8.2. Проверка газовой системы питания на герметичность.

8.2.1. Подать с поста сжатый воздух и довести давление в подводящем шланге до 1.6 МПа и проверить омыливанием герметичность соединения шланга с заправочным устройством или наполнительным вентилем.

В случае не герметичности сбросить давление до нуля, подтянуть резьбовые соединения или заменить уплотнитель и повторить испытание.

8.2.2. Открыть наполнительный вентиль и произвести наполнение газового баллона воздухом

В случае срабатывания предохранительного клапана при давлении воздуха ниже 1.6 МПа, следует произвести регулировку клапана, предварительно сбросив давление в баллоне, с последующим повторным наполнением баллона воздухом.

8.2.3. При давлении в баллоне 1.6 МПа прекратить подачу воздуха и по истечении 2-3 мин. начать проверку газотопливной системы питания на герметичность.

8.2.4. Открыть магистральный клапан и проверить внешнюю герметичность расходных вентилей путем омыливания и внутреннюю их герметичность по отсутствию давления в первой камере газового редуктора или по падению давления в баллоне при открытом магистральном клапане и закрытых расходных вентилях.

8.2.5. Закрыть магистральный клапан. Медленно открыть расходный вентиль и наполнить газовую систему воздухом до магистрального клапана. Проверить газопровод и магистральный клапан на герметичность путем омыливания. При обнаружении не герметичности закрыть расходный вентиль и подтянуть гайки газопроводов в местах соединений. После чего цикл работ (п. 8.2.4. и 8.2.5.) повторить.

Проверить внутреннюю герметичность магистрального клапана по отсутствию давления в первой камере газового редуктора или по падению давления в баллоне (при открытом расходном вентиле и закрытом магистральном клапане).

8.2.6. Открыть магистральный клапан и путем омыливания проверить герметичность соединений и самих агрегатов на участках газотопливной системы:

а) от магистрального клапана до редуктора испарителя;

б) от дозатора газа до смесительных устройств;

При обнаружении не герметичности закрыть расходный вентиль и устранить неисправность, после чего цикл работ повторить.

Примечание: При больших утечках воздуха и соответствующим понижением давления в баллоне, его следует довести вновь до максимального (1,6 МПа)

Не герметичность в разъемных соединениях устраняется путем подтягивания гаек и замены ниппелей.

8.2.7. При наличии в первой ступени газового редуктора датчика давление проверить его работу, включить зажигание и по манометру в кабине водителя прочитать его показания. Давление должно быть в пределах 0.12 - 0.15 МПа.

8.2.8. По окончании проверки на герметичность, закрыть наполнительный вентиль, отсоединить шланг подачи воздуха, предварительно сбросив в нем давление.

Проверить внутреннюю герметичность наполнительного вентиля.

8.2.9. С помощью специального устройства, подключенного к наполнительному вентилю, выпустить воздух из баллона и произвести его вакуумирование до давления не менее 0.01 МПа.

8.2.10. Сделать отметку в техдокументации в соответствии с требованиями ТУ 152-12-008-99.

9. ОСВИДЕТЕЛЬСТВАВАНИЕ АВТОМОБИЛЬНЫХ ГАЗОВЫХ БАЛЛОНОВ ДЛЯ ГСН.

9.1. Общие положения.

Организации и предприятия, имеющие газобаллонные автомобили, в соответствии с ПБ 10-115-96 «Правила устройства и безопасной эксплуатации сосудов, работающих под давлением», утвержденных постановлением № 20 Госгортехнадзора РФ 18 апреля 1995 г., должны периодически проводить освидетельствование автомобильных газовых баллонов.

Освидетельствование баллонов для ГСН производиться на специализированных пунктах в соответствии с утвержденными Правилами. На АТП производятся только работы по сливу газа, снятию и установке газовых баллонов на автомобили с последующей их опрессовкой.

Освидетельствование баллонов должно проводиться по методике, утвержденной разработчиком конструкции баллонов, в которой должны быть указаны периодичность освидетельствования баллонов.

Если предприятие - изготовитель баллонов не указывает периодичность освидетельствования, то согласно ПБ 10-115-96 периодичность освидетельствования автомобильных баллонов для ГСН равна один раз в два года.

Освидетельствование должно осуществляться на специализированных пунктах или наполнительных станциях.

Разрешение (лицензия) на освидетельствование баллонов выдается организациям органами Госгортехнадзора России после проверки ими наличия:

- производственных помещений, а также технических средств, обеспечивающих возможность качественного проведения работ по освидетельствованию;

- подготовленных рабочих кадров и инженерно - технических работников, осуществляющих освидетельствование баллонов;

- приказа о назначении в организации лиц, ответственных за проведение освидетельствования из числа специалистов, имеющих соответствующую подготовку;

- инструкции (технологического процесса) по проведению технического освидетельствования баллонов.

При выдаче разрешения на освидетельствование органы Госгортехнадзора России должны зарегистрировать у себя клеймо с соответствующим шифром, присвоенным данной организации (пункту или наполнительной станции). Клеймо должно быть круглой формы диаметром 12 мм.

Освидетельствование автомобильных газовых баллонов для ГСН включает в себя:

- осмотр внутренней и наружной поверхности баллона;

- гидравлические испытания пробным (Рпр) давлением равной 1.5 рабочего давления (Рр), т.е. давлением 2.4 МПа;

- пневматические испытания баллона с блоком запорно - предохранительной арматуры в сборе рабочим давлением Рр=1,6МПа.

Доставка баллонов на пункт освидетельствования и обратно должна осуществляться заказчиком.

9.2. Технические требовании к баллонам при их освидетельствовании и правила приемки и выдачи баллонов.

9.2.1. Технические требования к баллонам, при их приемке на освидетельствование.

Перед отправлением на пункт баллоны для ГСН должны быть:

- очищены снаружи от грязи и масла;

- по типу и конструкции соответствовать заводской поставке по ТУ завода - изготовителя;

Допускается наличие деталей и арматуры различной конструкции в пределах конструктивных изменений предприятия - изготовителя за период выпуска данного изделия;

- полностью укомплектованные наполнительно-расходной и контрольно-измерительной арматурой, а для автомобилей индивидуального пользования и грязезащитным колпаком; для баллонов грузовых автомобилей с разделенной арматурой на одном конце крестовины должна быть поставлена заглушка;

- полностью освобождены от сжиженного нефтяного газа и продегазированы негорючим газом (азот, СО2 и т.п.); наличие остаточного давления газа в баллонах при их приемке на пункте - не допускается, при наличии газа баллоны подлежат возврату заказчику;

Примечание: для баллонов индивидуального транспорта слив газа и дегазация баллонов осуществляется на посту слива газа, организованного непосредственно на данном пункте.

Не подлежат освидетельствованию баллоны у которых:

- на наружной поверхности корпуса баллона - трещины, вмятины, раковины и риски, глубиной более 10% от номинальной толщины; четко выраженная коррозия;

- отсутствуют основные паспортные данные (дата изготовления, масса, объем);

9.2.2. Правила приемки баллонов па освидетельствование.

Баллоны на освидетельствование принимаются в комплекте с запорно-предохранительной и расходной арматурой вместе с паспортами установленной формы, выданными предприятиями - изготовителями баллонов. Исключение составляют баллоны объемом менее 100 литров, которые не паспортизируются.

Примечание: для баллонов с наружным диаметром менее 325 мм необходимые паспортные данные наносятся на корпусе баллона; для баллонов с объемом менее 100 л. и диаметром более 325 мм паспортные данные наносятся на табличке, выполненной в соответствии с ГОСТ 12971-61 и установленной на корпусе баллона.

Приемка баллонов проводится представителем пункта и оформляется по накладным на приемку баллона. В случае несоответствия технического состояния баллона требованиям приемки (п. 9.2.1.), баллон на освидетельствование не принимается и возвращается заказчику с указанием причины отказа.

9.2.3. Технические требования к баллонам, выпускаемым после освидетельствования.

Баллоны должны быть освидетельствованы в соответствии с требованиями «Правил устройства и безопасной эксплуатации сосудов, работающих под давлением», утвержденных Гостехнадзором РФ и настоящими требованиями.

Баллоны должны быть полностью укомплектованы новой или капитально отремонтированной арматурой в соответствии с конструкторской документацией.

После испытания баллона на маркировочной табличке или для баллонов диаметром менее 325 мм - на корпусе баллона должно быть выбито одной строкой: клеймо пункта и дата производственного и очередного освидетельствования (например: 6-04-06). Высота цифр, при этом не менее 8 мм. Допускается дублирование срока последующего освидетельствования баллонов масляной белой краской на наружной поверхности баллона.

Окраска баллона выполняется по V классу ГОСТ 9.037-74, группа Ж2 по ГОСТ 9.009-73, красной эмалью ПФ-115 ГОСТ 6456-76. Корпус баллона должен быть окрашен в красный цвет; надпись «огнеопасно» и «верх» - белые. Нанесение надписей должно быть произведено в соответствии с конструкторской документацией. Лакокрасочное покрытие корпуса и надпись не должны иметь следов отслоения.

9.2.4. Правила выдачи баллонов заказчику.

Выдача заказчику баллонов, прошедших освидетельствование, и паспорта к ним производится представителем пункта in обменного фонда обезличенно и оформляется накладной на выдачу баллонов.

В паспорте каждого прошедшего испытания баллона должны быть запись о проведенном освидетельствовании и сроке следующего освидетельствования, а для не паспортизируемых баллонов - соответствующее клеймение на табличке или корпусе баллона.

Баллоны, не прошедшие по тем или иным причинам испытания, выбраковываются, о чем делается соответствующая запись в журнале испытаний и паспорте баллона. Выбракованные баллоны подлежат списанию.

9.3. Функциональная схема и последовательность операций при освидетельствовании баллонов.

Функциональная схема освидетельствования автомобильных баллонов ГСН приведена на рис. 9.1 и состоит из следующих последовательных операций:

- приемка баллонов с проверкой комплектности, на отсутствие газа и осмотр наружной поверхности и передача их на склад;

- выдача баллонов со склада для их освидетельствования;

- демонтаж арматуры и вентилей;

- мойка (пропарка) внутренней поверхности баллона;

- осмотр внутренней поверхности баллона;

- установка технологических заглушек;

- проведение гидравлических испытаний под давлением 2.4 МПа:

- осушка внутренней поверхности баллона;

- монтаж арматуры и вентилей;

- проверка герметичности соединений арматуры с баллоном сжатым воздухом (или негорючим газом N2, СО2) под давлением 1.6 МПа;

- подготовка наружной поверхности баллона под окраску;

- покраска и сушка баллона;

- маркировка баллона;

- оформление результатов освидетельствования и передача баллонов на склад готовой продукции;

- выдача баллонов заказчику.

Рис. 9.1 Схема технологического процесса освидетельствования баллонов для ГСН.

9.4. Производственная структура и оборудование пункта.

Основными элементами производственной структуры пункта являются производственный участок, на котором производятся основные операции по освидетельствованию газовых автомобильных баллонов и вспомогательные участки.

Структурно пункт должен состоять из следующих участков:

- приема, входного контроля и выдачи автомобильных баллонов;

- помещения для складирования баллонов;

- освидетельствование баллонов с постами испытании;

- осушки внутренней поверхности баллона;

- подготовки, покраски и сушки окрашенных баллонов;

- маркировки баллонов и оформления документации по результатам освидетельствования;

- компрессорного и насосного оборудования;

- слесарно-механических работ.

Примечание: При создании участка по освидетельствованию баллонов для ГСН на производственных площадях пункта освидетельствования баллонов для компримированого природного газа и испытанию топливных систем ГБА (ОБИТС) необходимые площади для:

- покраски и сушки баллонов;

- компрессорного и насосного оборудования;

- слесарно-механических работ с кладовой инструмента и запасных частей;; а также вспомогательные: очистные сооружения, тепловой пункт, вентиляционные камеры и административно - бытовые помещения - могут быть использованы в существующем на пункте ОБИТС виде.

Для обеспечения функциональной схемы и принятой технологической последовательности освидетельствования баллонов для ГСН пункт должен быть оснащен следующим нестандартизированным оборудованием:

- установкой для испытаний баллонов;

- набором клейм для маркировки; захватом для транспортировки баллонов;

- установкой для осушки внутренней поверхности баллона;

- установкой для подготовки наружной поверхности баллона к покраске;

- камерой для окраски баллонов; камерой для сушки баллонов после окраски;

- тележками для транспортировки баллонов;

- контейнерами для транспортировки и хранения баллонов;

- пневмо-гидравлическим оборудованием (насосами, компрессором и др.), обеспечивающим проведение необходимых технологических операций на пункте;

- специализированным инструментом.

Перечень оборудования, изготавливаемого ОАО «ПКТБА» приведен в приложении 2.

10. ТРЕБОВАНИЯ ТЕХНИКИ БЕЗОПАСНОСТИ ПРИ ЭКСПЛУАТАЦИИ ГАЗОБАЛЛОННЫХ АВТОМОБИЛЕЙ, РАБОТАЮЩИХ НА ГСН

10.1. Общие требования.

К эксплуатации и техническому обслуживанию автомобилей на ГСН допускается персонал, прошедший специальное обучение и сдавший экзамен. После сдачи экзамена водитель получает удостоверение на право вождения газобаллонных автомобилей на ГСН, а слесари и механики - на право выполнения работ по ТО и ТР газовой аппаратуры. Обучение организуется администрацией предприятия-автовладельца.

Должностные лица, нарушающие указанные правила, несут ответственность независимо от того привело ли это нарушение к аварии или несчастному случаю и могут быть привлечены к дисциплинарной, а также иной ответственности, предусмотренной действующим законодательством, в зависимости от характера нарушения и тяжести его последствий.

Обо всех авариях и несчастных случаях, связанных с использованием сжиженного нефтяного газа, а также сжатого воздуха администрация предприятия (автовладелец) обязаны немедленно сообщать местному органу Гостехнадзора РФ.

Расследование аварий и несчастных случаев должно проводиться в соответствии с Положением о расследовании и учете несчастных случаев.

На основе «Правил по технике безопасности на автомобильном транспорте» администрация предприятия должна разработать инструкцию по охране труда для каждой отдельной профессии (вида работы) с учетом специфики производства, оборудования и утвердить руководством данного предприятия по согласованию с профсоюзными организациями.

10.2. Требования техники безопасности для водителей газобаллонных автомобилей.

К управлению газобаллонным автомобилем допускаются водители, прошедшие специальную подготовку и сдавшие экзамен по программе технического минимума в объеме 40 ч. Программа предусматривает доведение до обучаемых необходимых сведений и данных об устройстве газобаллонных автомобилей, правил по охране труда и технике безопасности.

ВОДИТЕЛЬ ОБЯЗАН:

- перед выездом на линию произвести осмотр автомобиля с целью обнаружения возможных неисправностей и утечек газа, проверить крепления газовой аппаратуры и баллонов;

- при обнаружении утечки газа закрыть расходный и магистральный вентиль и откатить автомобиль в безопасное для людей место;

- при появлении запаха во время движения остановить автомобиль, устранить, если возможно, неисправность или сообщить о происшедшем на АТП;

- производить слив газа на специальной площадке при неработающем двигателе и отключенной бортовой электросети (масса); категорически запрещается сливать газ в помещениях, в непосредственной близи от места стоянки автомобилей или вблизи от источников огня и места нахождения людей;

- обеспечить въезд и перемещение в помещении для ТО и ТР газобаллонного автомобиля только на бензине;

- пуск двигателя на ГСН после длительной стоянки (более 3-х суток) производить при открытом капоте;

- отогревать газовую аппаратуру в зимнее время только горячей водой, паром, горячим воздухом или с применением инфракрасных беспламенных горелок; применение открытого огня недопустимо;

- в случае пожара, на автомобиле выключить зажигание, закрыть расходный вентиль; тушить пожар огнетушителем, песком или струей распыленной воды; во избежание взрыва во время пожара газовой баллон следует интенсивно охлаждать холодной водой, не допуская повышения давления в нем; автомобиль должен быть оборудован огнетушителем, кошмой и специнструментом.

ВОДИТЕЛЬ НЕ ДОЛЖЕН:

- эксплуатировать автомобиль, у которого истек срок очередного освидетельствования газового баллона;

- стоять около наполнительного шланга или баллонов во время наполнения баллонов газом, наклоняться к наполнительному вентилю, отсоединять наполнительный шланг, находящийся под давлением;

- подтягивать гайки или соединения, стучать металлическими предметами по аппаратуре и газопроводам, находящимися под давлением;

-производить какой - либо текущий ремонт или регулировку газовой системы питания на территории АГЗС или вблизи газозаправщика.

ЗАПРЕЩАЕТСЯ:

- хранить автомобиль с неисправной газовой аппаратурой на открытых стоянках с газом в баллонах;

- переставлять и заменять баллон на автомобиле без разрешения лица, ответственного за эксплуатацию транспортного средства;

- оставлять автомобиль на длительную стоянку с открытым вентилем на баллоне;

Автомобиль должен быть оборудован огнетушителем, кошмой, специнструментом.

10.3. Требования безопасности для технического персонала при обслуживании и ремонте газовой аппаратуры.

ТЕХНИЧЕСКИЙ ПЕРСОНАЛ ДОЛЖЕН:

- проверить перед началом работы исправность инструмента и оборудования, включить вентиляцию;

- производить ремонт газовой аппаратуры на автомобиле только при отсутствии давления газа в газопроводах;

- производить при работающем на газе двигателе только регулировку частоты вращения коленчатого вала на холостом ходу. Все прочие работы производить при неработающем двигателе;

- выполнять работы по снятию и установке газовой аппаратуры специальными инструментами, а не случайными подручными средствами. Агрегаты можно снимать только в остывшем состоянии;

- производить сварочные, окрасочные работы (включая горячую сушку), а также работы с электродрелью, абразивными материалами и т.п., дающими искрение, только при отсутствии газа в баллоне.

ЗАПРЕЩАЕТСЯ:

- производить ремонт газовой аппаратуры при наличии на автомобиле горючих и легковоспламеняющихся грузов, а также людей в кузове или кабине автомобиля;

- запускать двигатель при утечке газа;

- сливать газ из баллона вне установленного места;

- производить снятие и ремонт аппаратуры при наличии в ней газа;

- пользоваться нестандартным и неисправным инструментом;

- проверять пламенем герметичность соединении;

- применять дополнительные рычаги при открывании и закрывании вентилей;

- очищать краску и красить наполненные газом баллоны;

- пользоваться замасленными шлангами, скрученными и сплющенными резиновыми трубками.

При возникновении утечек газа на автомобиле, находящемся в помещении, его необходимо отбуксировать на пост слива газа, а помещение проветрить.

10.4. Правила безопасности при заправке автомобилей сжиженным нефтяным газом.

Заправка газобаллонных автомобилей сжиженным нефтяным газом производится на газонаполнительных станциях (АГЗС) или от передвижных автогазозаправщиков, устанавливаемых на специально отведенной для этого площадке, оборудованной молниезащитными средствами.

Заправка автомобилей газом должна проводиться только оператором (водителем -оператором), который должен быть снабжен спецодеждой установленного образца, шланговым противогазом, головным убором, перчатками, резиновым фартуком и защитными очками.

ЗАПРЕЩАЕТСЯ:

- въезд на площадку без разрешения оператора;

- въезд со взрывоопасным или легковоспламеняющимся грузом, а также с людьми в кабине или кузове;

-в радиусе 15 м от станции курить или пользоваться открытым огнем, производить работы, дающие искрение, а также переключать двигатель с одного вида топлива на другой;

- сливать или выпускать сжиженный газ в атмосферу;

Заправке подлежат баллоны, предназначенные только для сжиженного нефтяного газа. Баллон должен иметь клеймо завода - изготовителя и паспортные данные.

ЗАПРЕЩАЕТСЯ:

Наполнять газом баллоны у которых:

- истек срок периодического освидетельствования;

- отсутствует клеймо;

- неисправна запорно-предохранительная арматура;

- поврежден корпус баллона (трещины, сильная коррозия, глубокие вмятины);

- окраска баллона не соответствует данному газу.

Сжиженный нефтяной газ заправляют в баллон горизонтально установленного автомобиля, оставляя не менее 10% свободного объема баллона для создания паровой подушки.

ЗАПРЕЩАЕТСЯ во время заправки газобаллонного автомобиля:

- производить работы, не относящиеся к заправке;

- присутствие посторонних лиц;

- прогревать или запускать двигатель;

- оставлять ключ в замке зажигания;

- оставлять автомобиль без присмотра;

- заправлять баллоны газом через шланг, не имеющий заземления;

- регулировать и демонтировать газовую аппаратуру;

- после прекращения заправки оставлять наполненную струбцину, присоединенной к наполнительному вентилю баллона.

Разъединение шлангов, открытие и закрытие вентилей, подсоединение и отсоединение струбцин следует производить без рывков и ударов во избежании резкого выхода газа и ценообразования.

Если во время заправки в газонаполнительном шланге появились трещины или разрывы, необходимо немедленно перекрыть наполнительный вентиль на баллоне автомобиля и выходной вентиль газонаполнительной станции.

Аварийные случаи, при которых необходимо немедленно прекратить заправку газом:

- при утечке газа из какой - либо части станции или газозаправщика;

- при вибрации насоса или явно слышимом стуке;

- при резком повышении температуры подшипников или торцевого уплотнителя;

- при давлении в напорной линии, превышающим 1.6 МПа.

Приложение 1

1. Предприятия и организации, выпускающие автомобильный подвижной состав, работающий на газовом топливе

п.п.

Наименование предприятия, организации

Наименование подвижного состава на КПГ (тип, модель и т.д.)

Адрес, телефон, факс

1

ОАО «ГАЗ»

Грузовые автомобили:

ГАЗ-33076

ГАЗ-33026 «Газель»

Легковые автомобили:

ГАЗ-31029-80 «Волга»

603046 г. Нижний Новгород, проспект Ленина, тел. 56-13-39 факс 96-41-10

2

АМО ЗИЛ

Грузовые автомобили:

ЗИЛ-431620

Автопогрузчики:

ЗИЛ-4057.20

Двигатель:

ЗИЛ-5096.10

109280 г. Москва, Автозаводская ул., 23 Тел. 277-29-44

3

ОАО КАМАЗ

Грузовые автомобили:

КАМАЗ-53208

КАМАЗ-53218

Шасси: 53219

КАМАЗ-53217

Седельный тягач:

КАМАЗ-54118

Самосвал; КАМАЗ-55118

423810. Россия, Республика Татарстан, г. Набережные Челны, ул. Академика Рубаненко, 8

факс (8552)53-02-63

тел. (8552)53-05-86

тел. (8552)51-58-21

3.1.

ООО Фирма «Мобильгаз» - официальный дилер ОАО «КАМАЗ» и ОАО «РЗАА»

Поставка газодизельных автомобилей КАМАЗ и комплектов газодизельного оборудования. Переоборудование базовых автомобилей в газодизельные. Поставка комплектов ГБО к автобусам и автомобилям с бензиновыми двигателями и их установка на автомобиль.

423832,Республика Татарстан, г. Набережные Челны, Новый город, д. 41/05-333

Тел/факс (8552) 51-20-01

(51-58-21)

4

ООО «Ликинский автобус»

Газодизельный автобус ЛИАЗ-5256.11

142670, Московская обл., г. Ликино-Дулево, ул. Калинина, 1

тел/факс (0964) 14-59-20;

14-57-76;14-60-15

2. ПРЕДПРИЯТИЯ И ОРГАНИЗАЦИИ, ВЫПУСКАЮЩИЕ АВТОМОБИЛЬНУЮ ГАЗОВУЮ АППАРАТУРУ ДЛЯ ГСН и КПГ.

№№ п.п.

Наименование предприятия, организации

Обозначение комплекта ГБО и наименование подвижного состава на КПГ (тип, модель и т.д.)

Адрес, телефон, факс

1

ОАО «Рязанский завод автомобильной аппаратуры» (РЗАА)

117.4400000-10 - ГАЗ-53

116.4400000-10 - ЗИЛ-130

118.4400000-10 - КАМАЗ

044Б2.246710 - Икарус

131.4400000-10 - ГАЗ-24

133.4400000-10 - ВАЗ

134.4400000-10 - АЗЛК

132.4400000-10 - АЗЛК

390013, г. Рязань, Московское шоссе, 6 тел.(0912)

34-81-56

34-81-69

факс 34-81-51

2

ЗАО «Автосистема»

АВСТ.454400.210 - ВАЗ

АВСТ.454400.211 - АЗЛК-2140

АВСТ.454400.212 - АЗЛК-2140 и ИЖ-412

АВСТ.454400.212 - ГАЗ-24; 2410

АВСТ.454400.290 - ЗИЛ-130

АВСТ.454400.291-ГАЗ-52.53

АВСТ.454400.296 - ГАЗ-66

АВСТ.454400.292 - ЗИЛ-4331

АВСТ.454400.470 - КАМАЗ-5320

АВСТ.454400.473 - КАМАЗ-5511

АВСТ.454400.601 - Икарус

АВСТ.454400.294 - ЗИЛ-131

АВСТ.454400.501 - ЛИАЗ-677

АВСТ.454400.502 - ЛАЗ-965

АВСТ.454400.471 - КАМАЗ-5321

АВСТ.454400.474 - МАЗ

125183, г.Москва, А-183,а/я-24

Тел.(095)454-45-51

454-51-76

454-43-05

3

ОАО «Автогаз»

Газовая аппаратура для грузовых автомобилей, в т.ч. с впрыском газа.

117419, г. Москва, 2ой Рощинский проезд, 8 тел. (095) 234-39-80

факс. (095) 232-67-69

4

АО «Новогрудский завод газовой аппаратуры»

Аппаратура для автомобилей ГАЗ-330210 «Газель», ГАЗ-53, ЗИЛ-130

231400, Республика Беларусь, Гродненская обл., г. Новогрудок, ул. А. Мицкевича, 109

тел. (01597)2-13-32

факс (01597) 2-17-42

5

АО Завод им. Фрунзе (АО ЗИФ) (изготовитель ГА)

АКТШ. 454400.004 для автомобилей ВАЗ с карб. ДААЗ-2101; 2103.

АКТШ.454400.004-01 для автомобилей ВАЗ с карб. ДААЗ-2105

440039, Россия, г. Пенза, ул. Ленина, 3

тел. (8412)64-79-73

62-25-58

факс (8412) 62-52-90

6

НПФ «САГА» (разработчик)

Газовая аппаратура «САГА-7» и «САГА-6»

125434, г. Москва ул. Автомоторная, 2,

НАМИ

тел.456-31-21

факс 154-13-65

6.1.

ОАО «ПАО ИНКАР» (изготовитель)

- «»-

614600, Россия, г. Пермь, ул. Куйбышева, 140

тел. (3422) 49-32-22

49-32-30

факс (3422) 49-32-75

42-79-01

7

ООО «Грико»

Аппаратура с впрыском газового топлива в двигатель легковых автомобилей

117420, г. Москва, ул. Профсоюзная, 78

НИИАА

Тел. 120-41-00

334-43-22

128-16-98

128-76-41

8

АО «Компрессор»

Газовая аппаратура для легковых автомобилей.

194044, г. Санкт-Петербург, Б. Сампсониевский пр, 64

тел. (812)245-50-90

245-30-38

245-17-90

245-51-27

факс 596-33-97

9

Фирма «Калининград-газоавтоматика» (изготовитель)

Комплект газобаллонного оборудования для легковых автомобилей

Калининградская обл., тел.(0112) 43-63-47

10

ОАО ЭПО «СИГНАЛ»

Газобаллонное оборудование для легковых, грузовых автомобилей и автобусов, в т.ч. инжекторные

413119, Саратовская обл. г. Энгель-19, ОАО «СИГНАЛ»

тел.(845-11)5-04-27

5-04-55

5-04-76

факс (845-11)5-04-66

3. ПЕРЕЧЕНЬ ГАРАЖНОГО И КОИТРОЛЬНО-ДИАГНАСТИЧЕСКОГО ОБОРУДОВАНИЯ, НЕКОТОРЫХ УЗЛОВ ГАЗОВОЙ АППАРАТУРУ, ВЫПУСКАЕМЫХ ПРЕДПРИЯТИЯМИ И ОРГАНИЗАЦИЯМИ РОССИИ

п.п.

Наименование оборудования, приборы и т.п.

Организация изготовитель

Адрес, телефон, факс

1

Установка передвижная для проверки газовой аппаратуры автомобиля, модель К-277

Новгородский завод «Автоспецоборудованне»

172632, г. Новгород, ул. С. Петербургская, 43

тел. (81622)7-74-12

7-74-13

7-74-14

2

Стенд для проверки газовой аппаратуры автомобилей, модель К-278

- «»-

- «»-

3

Пост для текущего ремонта ГБО Р-991

- «»-

- «»-

4

Специальный инструмент для ТО и ремонта ГБА, мод. И-149

Казанский завод «Автоспецоборудование»

420021, г. Казань, ул. Нариманова, 40

тел. (8432) 32-77-50

5

Универсальный стенд для проверки и регулировки аппаратуры газобаллонных автомобилей

АО «Автосистема»

103460, Россия, г. Москва, к-460, НИИМВ

тел.(095) 454-45-51

факс(095) 456-54-90

6

Стенд для проверки и регулировки газовых редукторов низкого давления

АМО ЗИЛ

109280 г. Москва, ул. Автозаводская, 23

тел. (095) 277-89-11

277-28-32

7

Течеискатель горючих газов ТИГ-2

Фирма «ВЕМ»

105425, г. Москва, ул. Никитская, 12/1

тел. 367-00-01

164-30-90

164-31-90

8

Ультразвуковой толщинометр УТ-80

Инженерно-технический центр «Оргтехдиагностика»

117463, Россия, г. Москва, пр. Карамзина, 13/1

тел. 422-63-77

факс 422-59-22

9

Эндоскоп оптический для контроля состояния внутренней поверхности сосудов, баллонов, трубопроводов (модели ЭТГ-10/1; ЭТГ-10/1.5; ЭТЖ-10/1.5

- «» -

- «» -

10

Электромагнитные клапаны: - бензиновый, модель КЭБ-1;

- для сжиженного нефтяного газа;

- для компримированного природного газа, модель ЭГ-4

АЗОТ «Машиноаппарат»

г. Москва

11

Топливный насос высокого давления модели 602 с 2-х режимным регулятором скорости для газодизельных двигателей ЯМЗ-236

АООТ «Ярославский завод топливной аппаратуры (ЯЗТА)»

150014, г. Ярославль ул. Свободы, 62

тел. (085)21-02-55

факс (085) 21-08-34

12

Электроуправляемый газовый клапан для дозирования газового топлива в газодизельном

двС

- «» -

- «» -

13

Газовые смесители с улучшенным смесеобразованием газового топлива в двигателях внутреннего сгорания

МНПП «Согласие ЛТД»

428000, г. Чебоксары, пр. И. Яковлева, 25

ЛПУ МГ

Тел. (8352) 42-58-54

14

Стационарный сигнализатор взрывоопасных газов и паров СИГНАЛ-ОЗМ

ПКФ «И.К.С.»

214018, г. Смоленск ул. Панфилова, 5

тел/факс (0812)61-00-61

55-99-84

55-23-36

15

Стационарная измерительная газовая система «Марш»-С

ЗАО «Дыхательные системы-2000»

119361, г. Москва ул. Озерная, д. 42

тел/факс (095)437-01-22

437-04-88

960-34-22

16

Системы автоматического контроля воздушной среды в помещениях мод. СТМ-10-001Д и мод. СТМ-10-008Д

ФГУП Смоленское ПО «Аналитприбор»

214031, г. Смоленск, ул. Бабушкина, 3

тел (0812) 51-95-40

51-11-68

факс (0812) 52-51-59

59-07-48

17

Переносной стенд для проверки газовой аппаратуры

НПФ «САГА»

125438, г. Москва ул. Автомоторная, 2

тел. 456-31-21

456-44-61

факс 154-13-65

Приложение 2.

Технологическое оборудование для технического освидетельствования автомобильных газовых баллонов для ГСН.

Изготовотель: Пензенское конструкторско-технологическое бюро арматуростроения (ОАО «ПКТБА»)

Адрес: 440060, г. Пенза, пр. Победы, д. 75

Тел/факс (8412) 45-78-04; 45-78-00; 45-75-08; 45-78-05.

Комплекс оборудования для освидетельствования автомобильных газовых баллонов для ГСН в исполнении КТОБ-А-3.

В состав комплекта входят:

1. Стенд для слива отстатков сжиженного газа, мод. СС-А.

Предназначен для слива остатков сжиженного газа из баллона.

Габаритные размеры, мм - 3430×2150×1250;

Масса, кг - 1200.

2. Стенд для пропаривания баллонов для сжиженного газа, мод. СПМ-А.

Предназначен для пропаривания баллонов водяным паром при температуре 90 - 130 °С после слива остатков сжиженного газа.

Габаритные размеры, мм - 3430×2150×1250;

Масса, кг - 1240.

3. Стенд для испытаний баллонов на прочность, мод. СИП-А. Предназначен для гидравлических испытаний на прочность корпуса баллонов. Давление воды при заливе - 0.2 … 0.3 Мпа, при испытаниях на прочность - 2.5 МПа.

Габаритные размеры, мм - 2150×2300×2330;

Масса, кг - 1100

4. Установка для сушки газовых баллонов, мод. УС-А. Предназначена для сушки внутренней поверхности баллонов для ГСН после гидравлических испытаний горячим воздухом при температуре 60 - 80 °С.

Габаритные размеры, мм - 2330×952×2009;

Масса, кг - 650

5. Стенд для завинчивания арматуры, мод СЗ-А. Предназначен для завинчивания арматуры с определенным крутящим моментом (от 19 до 20 ктс. М) в баллон для ГСН.

Габаритные размеры, мм - 2200×830×3110;

Масса, кг - 1365.

6. Стенд для испытаний на герметичность, мод. СИГ-А. Предназначен для пневматических испытаний на герметичность соединений запорно-предохранительной арматуры с баллоном для ГСН.

Габаритные размеры, мм - 1700×860×1200;

Масса, кг - 430.

7. Стенд для очистки наружной поверхности баллона под окраску, мод. СОП-А. Предназначен для очистки наружной поверхности баллонов для сжиженного газа под окраску.

Габаритные размеры, мм - 2250×1170×1170;

Масса, кг - 490.

8. Камера окрасочная, мод. КО. Камера окрасочная тупикового типа, с гидрофильтром. Предназначена для окраски баллонов для ГСН, КПГ и других газов.

Габаритные размеры, мм - 3100×2900×4640;

Масса, кг - 2310.

9. Станция редуцирования, мод. СР. Предназначена для понижения давления сжатого воздуха, выдаваемого компрессорной установкой, до давления необходимого для пневмоиспытаний различных изделий. Давление на входе - 23.0 МПа, давление на выходе, МПа: 0.6, 1.0, 1.6, 5.0, 10.0, 20.0.

Габаритные размеры, мм - 1650×670×1220;

Масса, кг - 250.

10. Пневмогидравлическая насосная станция, мод. ПГС-А. Предназначена для создания необходимого давления воды при испытаниях на прочность баллонов.

Давление воды, подаваемого в насосную станцию - 0.2...0.3 МПа.

Давление воздуха в пневмосистеме - 0.4...0.6 МПа.

Диапазон выходного давления - 1.0...3.0 МПа

Габаритные размеры, мм - 607×675×1200;

Масса, кг - 185.

11. Кран консольный, мод. КК-1; КК-2; КК-3. Мод. КК-1 и КК-3 предназначены для транспортировки газовых баллонов от одного рабочего места к другому при выполнении процесса освидетельствования. Мод. КК-2 - предназначена для транспортировки газовых баллонов на участке покраски и сушки.

Техническая характеристика

Модель крана

КК-1

КК-2

КК-3

Грузоподъемность, т

0.25

0.20

1.0

Радиус обслуживания, мм:

 

 

 

- наибольший

3000

3000

4000

- наименьший

1000

1000

750

Скорость:

 

 

 

- подъема груза, м/с

0.11

0.11

0.11

- передвижения, м/с

0.4

-

0.4

- поворота, об/мин

2

-

1

Поворот стрелы, max. град.

345

-

330

Мощность механизма подъема, кВт

0.55

-

0.55

Способ перемещения тележки

электропривод

вручную

электропривод

Способ поворота стрелы

-

ручной

-

Давление воздуха в системе, МПа

-

0.4...0.6

-

Мощность механизма поворота, кВт

0.75

-

0.75

Габаритные размеры, мм.

 

 

 

- длина

3600

3600

4970

- ширина

516

380

800

- высота

4500

4060

4710

Масса, кг

800

790

1660

 

423800, Республика Татарстан,
г. Набережные Челны, район БСИ-8

Приёмная: +7(8552) 74-69-02
info@nchkz.ru
hCard

Copyright © Набережночелнинский крановый завод, 2008-2015 г.
Все опубликованные материалы, за исключением нормативной документации и книг, являются собственностью компании.
Копирование и использование разрешается только с указанием гиперссылки на сайт http://www.nchkz.ru, как на источник информации.

   
  Яндекс.Метрика Яндекс.Метрика
 
Tatarstan.Net - все сайты Татарстана   Rambler's Top100