ЦНИИПРОМЗДАНИЙ
РЕКОМЕНДАЦИИ
ПО ПРОЕКТИРОВАНИЮ ГИДРОИЗОЛЯЦИИ ПОДЗЕМНЫХ ЧАСТЕЙ ЗДАНИЙ И СООРУЖЕНИЙ
МОСКВА, 1996
г.
СОДЕРЖАНИЕ
РЕКОМЕНДАЦИИ по проектированию гидроизоляции
подземных частей зданий и сооружений. - М. ЦНИИпромзданий, 1996
г. - 102 с.
Рекомендовано
к изданию решением секции несущих конструкций Научно-технического Совета
ЦНИИцромзданий, взамен СН
301-65*.
Содержит
рекомендации по защите подземных частей зданий и сооружений, а также
заглубленных помещений и фундаментов колонн, стен и оборудования от подземных
вод с помощью окрасочной, штукатурной, оклеечной и облицовочной гидроизоляции.
Рассмотрены типы гидроизоляции.
В
Приложениях даны примеры устройства гидроизоляции подземных сооружений,
деформационных швов, сопряжения закладных изделий с гидроизоляцией, а также
примеры устройства гидроизоляции фундаментов при воздействии агрессивных
подземных вод.
Рекомендации
предназначены для инженерно-технических работников проектных институтов,
монтажных и строительных организаций.
Руководитель
разработки - Ю.В. Фролов.
1.1. Рекомендация по
проектированию гидроизоляции распространяется на защиту подземных частей зданий
и сооружений, а также в заглубленных помещений и фундаментов колонн, стен и
оборудования от подземных вод с помощью следующих видов гидроизоляции:
окрасочной (битумной,
битумно-полимерной, полимерной);
штукатурной (холодной
асфальтовой, горячей асфальтовой, цементной);
оклеечной (рулонной,
листовой);
облицовочной (из стальных
или полиэтиленовых листов).
1.2. В качестве
гидроизоляции может быть использован водонепроницаемый бетон, который
получается из обычного бетона путем введения в его состав специальных веществ в
жидком, пастообразном или порошковом виде.
1.3. Гидроизоляция
применяется в тех случаях, когда она по сравнению с другими мероприятиями
(дренаж, битумизация, цементация силикатизация и др.) имеет эксплуатационные и
экономические преимущества.
1.4. Воздействие воды на
конструкцию может быть трех видов:
а) фильтрационная или
просачивающаяся вода;
б) почвенная или
грунтовая влага;
в) подземная вода.
Фильтрационная вода
возникает от дождевых и талых вод, а также случайных стоков. Попадая в грунт,
она заполняет поры между отдельными частицами почвы и под воздействием собственного
веса опускается в более глубокие слоя.
Почвенная влага это вода,
которая удерживается в грунте адгезионными или капиллярными силами. Почвенная
влага всегда присутствует в грунте независимо от подземных или фильтрационных
вод.
Подземная вода обуславливается
уровнем грунтовых вод в зависимости от рельефа местности я положением
водоупорного слоя.
В отличие от подземных
вод просачивающаяся вода и грунтовая влага не оказывают на конструкцию
гидростатического давления, если конструктивное решение обеспечивает
беспрепятственное стекание воды без образования застойных зон.
Почвенная влага, находясь
при пониженном давлении, может проникать в конструкцию, поднимаясь вверх под
влиянием капиллярных сил, противоположных направлению силы тяжести.
1.5. Назначение
гидроизоляции состоит в следующем:
а) Защита внутреннего
объема подземных сооружений от проникновения в него капиллярной, грунтовой или
поверхностной воды через ограждающие конструкции.
б) Зашита материала
ограждающей конструкции от коррозии.
1.6. Все виды
гидроизоляционных работ могут быть объединены в несколько основных групп (рис
1);
- наружная
противонапорная гидроизоляция;
- внутренняя
противонапорная гидроизоляция;
- гидроизоляция
водосборников;
- гидроизоляция
крышевидной формы для зашиты от поверхностных или фильтрационных вод;
- гидроизоляция для
защиты от грунтовых вод.
1.7. Выбор типа
гидроизоляции зависит от следующих факторов:
- величины
гидростатического напора воды;
- допустимой влажности
внутреннего воздуха помещения, которая определяется по СНиП II-3-79**
Рис. 1. Виды
гидроизоляций для подземных сооружений
а)
наружная противонапорная гидроизоляция;
б) внутренняя
противонапорная гидроизоляция;
в) гидроизоляция
водосборников;
г)
гидроизоляция крышевидной формы для защиты от поверхностных или фильтрационных
вод; д) гидроизоляция для защиты от грунтовой влаги
1 -
вертикальная гидроизоляция; 2 - горизонтальная гидроизоляция; 3 - гидроизоляция
пола.
Допустимая влажность
воздуха должна, как правило, задаваться в технологической части проекта.
Помещения имеют следующие
режимы влажности:
сухой режим - до 60 %;
нормальный режим - от 60
до 75 %;
влажный режим - свыше 75 %.
- трещиностойкости изолируемых конструкций, которая определяется
по СНиП
2.03.01-84*.
Трещиностойкость
изолируемых конструкций подразделяется на три категории: 1-ая категория - в
конструкциях не допускается образование трещин; 2-ая категория - в конструкциях
допускается раскрытие трещин до 0,2
мм; 3-я категория - в конструкциях допускается
непродолжительное раскрытие трещин до 0,4
мм и продолжительное до 0,3
мм.
- агрессивности среды,
которая определяется по СНиП 2.03.11-85,
приложение 5.
1.8. При выборе типа
гидроизоляции необходимо также учитывать механическое воздействие на
гидроизоляцию, температурные воздействия, условия производства работ,
дефицитность и стоимость материалов, а также сейсмичность района строительства.
1.9. В зависимости от
гидростатического напора область применения различных типов гидроизоляции
определяется по табл. 1.
Гидроизоляцию конструкций
необходимо предусматривать выше максимального уровня грунтовых вод не менее,
чем на 0,5 м.
Выше максимального уровня
грунтовых вод конструкции должны быть изолированы от капиллярной влаги. Средние
значения максимального поднятия капиллярной воды в зависимости от вида грунта
приведены в табл. 2.
Таблица 1
|
Свойства гидроизоляции
|
Тип
гидроизоляции
|
|
окрасочная
|
штукатурная
|
оклеечная
|
облицовочная
|
|
Гидростатический напор, м
|
2
|
5
|
20
|
30
|
30
|
30
|
Не ограничен
|
|
|
|
|
|
|
|
|
Таблица 2.
|
Вид грунта
|
Капиллярный подъем воды, м
|
|
Пески:
|
|
|
крупнозернистые
|
0,03 - 0,15
|
|
среднезернистые
|
0,15 - 0,35
|
|
мелкозернистые
|
0,35 - 1,1
|
|
Супеси
|
1,1 - 2,0
|
|
Суглинки:
|
|
|
легкие
|
2,0 - 2,5
|
|
среднее и тяжелые
|
3,5 - 6,5
|
|
лессовые и глинистые грунты
|
4,0 и более
|
|
Глины
|
до 12,0
|
|
Илы
|
до 25,0
|
1.10. В
зависимости от допустимой влажности внутреннего воздуха в подземных помещениях
(подвалов, тоннелей, венткамер и др.) тип гидроизоляции следует назначать в
соответствии с табл. 3.
Таблица 3
|
Тип
гидроизоляции
|
Воздействие воды
|
Относительная влажность помещений, %
|
|
Менее 60
|
60 - 70
|
Свыше 75
|
|
Окрасочная
|
Капиллярный подсос
|
+
|
+
|
+
|
|
Гидростатический напор
|
-
|
+1)
|
+1)
|
|
Штукатурка цементная
|
Капиллярный подсос
|
-
|
-
|
-
|
|
Гидростатический напор
|
-
|
+2)
|
+3)
|
|
Штукатурка асфальтовая
|
Капиллярный подсос
|
-
|
-
|
-
|
|
Гидростатический напор
|
-
|
+
|
+
|
|
Оклеечная
|
Капиллярный подсос
|
-
|
-
|
-
|
|
Гидростатический напор
|
+
|
+
|
+
|
|
Облицовочная
|
Капиллярный подсос
|
-
|
-
|
-
|
|
Гидростатический напор
|
+
|
+
|
+
|
Знак "+" -
допускается к применению
Знак "-" - не допускается к
применению или не рекомендуется
1) - окрасочная гидроизоляция
на полимерной основе
2) - торкретирование следует
предусматривать с наружной и внутренней стороны изолируемой конструкции, с устройством
со стороны напора поверх торкретного слоя окрасочной гидроизоляции
3)- торкретирование следует
предусматривать только со стороны напора с устройством поверх торкретного слоя
окрасочной гидроизоляции.
1.11. Для конструкций,
при расчете которых допускается: раскрытие трещин 0,2
мм и более, применять окрасочную гидроизоляцию (битумную
и пластмассовую) и цементную штукатурку не следует.
1.12. При выборе типа и
конструкции гидроизоляции необходимо учитывать химический состав грунтовых вод
и наличия блуждающих токов.
Степень агрессивности
воды по отношению к цементам и выбор цемента для бетона и растворов изолируемой
конструкции следует производить в соответствии с главой СНиП 2.03.11-85.
Защиту от блуждающих
токов подлежит осуществлять в соответствии с действующими нормативными
документами.
1.13. При выборе типа
гидроизоляции сооружений, находящихся под действием сдвигающих сил, необходимо
учитывать, что асфальтовые, битумные и некоторые пластмассовые гидроизоляции
отличаются ползучестью; на эту гидроизоляцию не допускается постоянно
действующие сдвигающие и растягивающие нагрузки, а сжимающие нагрузки не должны
превышать 500 кПа (при применении полиизобутиленовых листов - 300 кПа).
Для стен, испытывающих
сдвигающие, растягивающие или большие сжимающие напряжения, а также
сейсмические нагрузки, гидроизоляцию в стенах следует предусматривать из
цементно-песчаного раствора.
1.14. В основании
сооружении гидроизоляция должна предусматриваться по подготовке из бетона
класса В12,5 толщиной 100 мм,
а при агрессивности воды - среды по подготовке из плотного асфальтобетона
толщиной 40 мм
по слою щебня, пролитого битумом толщиной 60
мм. При этом щебень и наполнители асфальтобетона должны
быть из материалов, стойких к воздействию данной среды.
1.15. Работы по
устройству гидроизоляции надлежит выполнять в соответствии с требованиями главы
СНиП 3.04.01-87,
а в случае необходимости в проекте должны быть указаны дополнительные
требования к методу и последовательности производства работ, обусловленные
конкретным проектом гидроизоляции.
1.16. При проектировании
гидроизоляции вновь строящихся сооружений следует учитывать прогнозируемое повышение
уровня подземных вод при эксплуатации предприятии.
2.1. Окрасочная
гидроизоляция представляет собой сплошное многослойное (2 - 4 слоя)
водонепроницаемое покрытие, выполняемое окрасочным способом и имеющее толщину 3
- 6 мм.
Окраска является наиболее
распространенным и наиболее механизированным способом гидроизоляции и
антикоррозионной защиты поверхностей бетонных и железобетонных сооружений.
Однако область применения
ограничивается недостаточной долговечностью окрасочных покрытий.
2.2. Окрасочная
гидроизоляция наносится на изолируемую поверхность с увлажняемой стороны и
рекомендуется в основном для защиты от капиллярной влаги.
При гидростатическом
напоре ее можно применять, если нет деформационных швов и если будет создана
возможность периодического осмотра и ремонта гидроизоляции, а напор не будет
превышать 5 м.
2.3. Основными видами
окрасочной гидроизоляции являются битумно-полимерные и полимерные составы на
основе нефтяных битумов, различных полимерных вяжущих и смол.
Примечание. Окрасочную гидроизоляцию из
чистых разжиженных битумов, битумных и дегтевых лаков применять не допускается.
2.4. По составу исходных
материалов окрасочные покрытия подразделяются:
1. Битумные:
а) из растворенных и горячих
битумов;
б) из битумных эмульсий и
паст.
Битумные материалы
изготовляют в виде растворов битума и пеков, водобитумных и водопековых
эмульсий, применяемых как с наполнителями и спецдобавками, так и без них.
2. Битумно-полимерные:
а) из битумно-латексных
эмульсий;
б) из битумно-наиритовой
мастики;
в) из битумно-резиновых
составов.
Битумно-полимерные
композиции применяются в виде расплавов, растворов или водоэмульсионные,
обладающие повышенной деформативной способностью и водостойкостью.
3. Полимерные:
а) из синтетических смол;
б) из лакокрасочных
материалов.
Полимерные материалы
изготовляют на основе синтетических каучуков и смол (хлоркаучуковые,
бутилкаучуковые, алкидные, полиуретановые, эпоксидные и другие мастики и
краски).
4. Полимерцементные - из цементно-латексных
составов:
Полимерцементные
материалы приготовляются на основе цемента и синтетического латекса. При
приготовлении полимерцементных составов применяются: цемент, песок,
синтетический латекс, жидкое стекло, эмульгатор.
2.5. Материалы, применяемые
для окрасочной гидроизоляции должны иметь адгезию к бетону не менее 0,1 МПа (1
кгс/см2). Гибкость мастик в зависимости от района строительства
должна соответствовать ГОСТ
25591-83.
2.6. Штукатурная
гидроизоляция представляет собой сплошное водонепроницаемое покрытие из смеси
(горячей или холодной) битумных, цементных или полимерных вяжущих с
минеральными или органическими наполнителями, нанесенное на изолируемую
поверхность штукатурным способом толщиной от нескольких миллиметров до
нескольких сантиметров (6 - 50
мм).
Надежность работы
штукатурной гидроизоляции зависит от жесткости изолируемых конструкций. Поэтому
штукатурную гидроизоляцию необходимо применять на поверхностях жестких
сооружений, не подвергающихся деформациям и вибрациям любого происхождения.
2.7. По составу исходных
материалов различают следующие типы штукатурной гидроизоляции:
1. На основе неорганических
вяжущих
а) цементные:
- из торкретбетона или
пенобетона;
- из цементно-песчаных
растворов с уплотняющими добавками;
- из коллоидно-цементного
раствора.
2. На основе органических
вяжущих
а) битумные:
- из холодных асфальтовых
мастик;
- из горячих асфальтовых
мастик;
- из горячих асфальтовых
растворов.
2.8. Штукатурно-цементную
гидроизоляцию следует выполнять в виде покрытия из цементно-песчаного раствора
(состава цемент - песок 1:1 или 1:2) наносимую механизированным
(торкретированием) или ручным способом.
Торкретирование следует
применять, как правило, для защиты ограждающих конструкций из монолитного
бетона.
Общую толщину и
количество слоев штукатурной цементной гидроизоляции следует назначать в
зависимости от величины гидростатического напора. Количество слоев должно быть
не более 3-х. Общая толщина слоев не должна превышать 20
мм при гидростатическом напоре до 10
м и 30 мм
при гидростатическом напоре от 10 до 30
м.
2.9. Холодная асфальтовая
гидроизоляция выполняется из холодной эмульсионной асфальтовой мастики, которая
наносится на очищенную и огрунтованную поверхность несколькими слоями,
грунтовка должна предусматриваться из разжиженных битумных паст.
Холодная асфальтовая
гидроизоляция применяется для антифильтрационной защиты подземных частей
сооружении, заполнения деформационных швов, а также для антикоррозийной защиты
бетонных конструкций в условиях выщелачивающей, сульфатной, морской и щелочной
(рН > 12) агрессивности воды при эксплуатационной температуре до 80°С.
Не допускается применение
холодной асфальтовой гидроизоляции при нефтехимической и общекислотной (рН <
5,5) агрессивности воды.
Холодную асфальтовую
гидроизоляцию следует располагать, как правило, со стороны действующего на
сооружение подпора воды. При защите от капиллярной влажности допускается
гидроизоляцию располагать на противоположной от увлажнения стороне.
Количество слоев и общую
толщину гидроизоляции следует назначать в зависимости от действующего
гидростатического напора:
при капиллярности подсоса
влаги - 2 слоя общей толщиной 5 - 7
мм;
при напоре до 10
м - 3 - 4 слоя общей толщиной 10 - 15
мм;
при напоре 10
м и более - 4 - 5 слоев общей толщиной 15 - 20
мм.
Холодную асфальтовую
гидроизоляцию на горизонтальных поверхностях следует. защищать стяжкой из
цементного раствора или бетона, а на вертикальных поверхностях защитным
ограждением может служить стенка из кирпича, бетонных плит, плоские
асбестоцементные листы, либо слой цементной штукатурки толщиной 1 - 2
см.
Защитное ограждение для
холодной асфальтовой штукатурки не требуется, если она засыпается песчаным
грунтом или доступна для периодического осмотра и ремонта.
2.10. Горячая асфальтовая
гидроизоляция выполняется из горячих асфальтовых мастик или растворов,
наносимых на изолируемую поверхность в расплавленном виде. Температура нагрева
составляет 150 - 190°С. Такие мастики или растворы получают путем смеси битумов
с порошкообразным или волокнистым заполнителем и с применением в случае
необходимости полимерными или пластифицирующими добавками.
Горячую асфальтовую гидроизоляцию
следует предусматривать со стороны напора или увлажнения без применения, как
правило, защитного ограждения.
Запрещается применение
горячей асфальтовой гидроизоляции при температуре свыше 50°С и при воздействии
нефтепродуктов.
Количество наметов и
общую толщину гидроизоляции следует устанавливать по табл. 4.
Таблица 4
|
Назначение гидроизоляции
|
Горячая, асфальтовая гидроизоляции
|
|
из асфальтового раствора
|
из асфальтовой мастики
|
|
Кол-во наметов
|
Общая толщина, мм
|
Кол-во наметов
|
Общая толщина, мм
|
|
Против капиллярной влаги
|
1
|
4 - 6
|
1
|
3-5
|
|
Против гидростатического напора до 5,0
м
|
2
|
8 - 12
|
2
|
6-10
|
|
Против гидростатического напора более 5,0
м
|
3
|
12-18
|
3
|
9-15
|
2.11. Разновидностью
горячей гидроизоляции является литая гидроизоляция, наносимая путем разлива по
горизонтальной поверхности или заливки в щель между опалубкой и изолируемой
(вертикальной или наклонной) поверхностью горячих асфальтовых составов.
На горизонтальных
поверхностях литую гидроизоляцию следует наносить в 1 или 2 слоя. Количество и
толщину горизонтальных слоев следует назначать по табл. 5.
Таблица 5
|
Назначение гидроизоляции
|
Толщина литой асфальтовой гидроизоляции в мм
|
|
первого слоя
|
второго слоя
|
|
из асфальтовой мастики
|
из асфальтового раствора
|
из асфальтовой мастики
|
из асфальтового раствора
|
|
Против капиллярной влаги
|
5 - 7
|
12 - 15
|
-
|
-
|
|
Против гидростатического напора до 10
м
|
5 - 7
|
15 - 20
|
5 - 7
|
15 - 20
|
|
Против гидростатического напора свыше 10
м
|
7 - 10
|
20 - 25
|
7 - 10
|
20 - 25
|
На
горизонтальных поверхностях по литой гидроизоляции необходимо предусматривать
защитную стяжку из цементного раствора.
На вертикальных и наклонных
поверхностях литую гидроизоляцию следует устраивать путем поярусной заливки
асфальтового раствора или мастики в щель между изолируемой поверхностью
сооружения и ограждением из дерева, кирпича или бетонных плит. Ограждение, как
правило, следует оставлять в качестве защитного ограждения литой гидроизоляции.
Толщина слоя залавки
гидроизоляции назначается в зависимости от высоты слоя заливки и составляет,
при высоте до 200 мм
- 30 - 45 мм,
при высоте от 200 до 400 мм
-35 - 50 мм,
при высоте от 400 до 600 мм
- 50 - 60
мм.
Состав асфальтовой
гидроизоляции следует принимать по ГОСТ
9128-84*.
Оклеечная гидроизоляция
2.12. Оклеечная
гидроизоляция представляет собой сплошной водонепроницаемый ковер рулонных,
пленочных гидроизоляционных материалов, наклеиваемых послойно мастиками на
огрунтованную поверхность изолируемой конструкции.
2.13. Оклеенную
гидроизоляцию следует проектировать только из гнилостойких материалов.
Применение негнилостойких рулонных материалов на картонной основе (рубероида,
толя, пергамина и др.) для долговременных сооружений не допускается.
2.14.
Оклеенные покрытия по составу применяемых рулонных материалов подразделяются на
две группы;
1. Покрытие из битумных
рулонных материалов:
- изол ГОСТ 10296-79*;
- гидроизол ГОСТ 7415-86;
- фольгоизол ГОСТ 20429-84*;
- армобетон ТУ
21-27-50-75;
- экарбит и другие.
2. Покрытие из
синтетических полимерных материалов:
- полиэтиленовая пленка ГОСТ 10354-82*;
- поливинилхлоридная
пленка ГОСТ
16272-79*;
- полипропиленовая пленка
ТУ 38-10264-82*.
2.15. Наклейку и окраску
гидроизоляционного ковра надлежит производить битумной, битумно-полимерной или
полимерной мастикой со стойкими, в случае агрессивной среды, наполнителями к
этой среде.
2.16. Количество слоев
оклеечной рулонной или листовой гидроизоляции на битумной, битумно-полимерной
или синтетической основе следует назначать в зависимости от величины
гидростатического напора воды и допустимой относительной влажности в защищаемом
помещении согласно табл. 6.
Таблица 6
|
Наименование гидроизоляции
|
Количество слоев оклеечной гидроизоляции, при относительной
влажности помещений, %
|
|
менее 60
|
60 - 75
|
свыше 75
|
|
Против гидростатического напора до 5
м
|
4
|
3
|
2
|
|
то же, более 5 м
|
5
|
4
|
3
|
2.17.
Гидроизоляционный ковер следует располагать со стороны напора воды с
обязательным защитным ограждением в виде кирпичной стены, бетонных плит,
асбоцементных листов и других материалов.
2.18. Устройство
оклеечной гидроизоляции должно выполняться по СНиП 3.04.01-87.
2.19. Преимуществом
полиэтиленовых пленок по сравнению с другими видами гидроизоляционных
материалов является их гнилостойкость и высокая коррозионная стойкость в
агрессивных средах. Однако из-за невысокой механической прочности пленки
толщиной 0,2
мм они обычно защищаются теми же
битумными рулонными материалами в 1 слой. Для склеивания полиэтиленовых пленок
применяют специальные клеи и клеящие мастики (88М, УМС-50, БКС, МПТ-70 и др.).
Чаще всего полиэтиленовую пленку наклеивают на конструкцию на битуме с устройством
защитных стенок.
А. Металлическая гидроизоляция.
2.20. Металлическую
гидроизоляцию выполняют в виде сплошного ограждения из стальных листов толщиной
не менее 4 мм,
соединенных между собой при помощи сварки (встык или внахлестку), а с
изолируемой конструкцией - анкерами, заделываемыми в бетон. Металлическая
гидроизоляция обладает высокой прочностью, водонепроницаемостью при больших
давлениях воды и долговечностью. Такие покрытия весьма дороги и многодельны,
поэтому применение металлоизоляции. ограничено. Она применяется в следующих
случаях:
- при большом
гидростатическом напоре, когда другие виды гидроизоляции не эффективны, но
требуется обеспечить постоянную сухость помещения;
- для изоляции конструкций, подвергающихся воздействию
повышенных температур (свыше 80°С);
- при значительных
механических воздействиях;
- при гидроизоляции
отдельных приямков сложной формы.
2.21. Металлическую
гидроизоляцию устраивают, как правило, с внутренней поверхности ограждающих
конструкций, что дает возможность при эксплуатации устранять течи. При
применении наружной гидроизоляции она должна быть защищена от коррозии согласно
СНиП
2.03.11-85.
2.22. Все элементы
металлической гидроизоляции (облицовка, ребра, анкера) назначаются в каждом
конкретном случае по расчету на прочность с учетом давления воды и давления
бетонной смеси на стальную обшивку, используемую как опалубку при бетонировании
конструкции, а также цементного раствора, нагнетаемого за стальную обшивку под
давлением 0,2 - 0,3 Мпа.
Б. Листовая гидроизоляция из полимерных материалов.
2.23. Листовая
гидроизоляция из полимерных материалов представляет собой однослойный ковер из
листов толщиной 1 - 2 мм,
соединенных между собой в стыках сваркой или склеиванием. Крепление листов к
изолируемой поверхности может осуществляться дюбелями, гвоздями, прижимными
планками или наклеиваться на мастиках, клеях и т.д., а также могут применяться
полиэтиленовые листы с анкерными ребрами, которые обеспечивают закрепление
листов в бетон при бетонировании.
2.24. Гидроизоляция из
профилированного полиэтиленового листа может применяться для защиты сборных
конструкций, путем установки ее в опалубку до бетонирования или путем наклейки
на сборный элемент с помощью полимерсиликатного состава толщиной 10
мм. Между собой полиэтиленовые листы соединяются
стыковыми, нахлесточными и угловыми швами в соответствии с требованиями ГОСТ
16310-80*.
3.1. Гидроизоляция
деформационных швов в подземных помещениях при отсутствии подземных вод
осуществляется установкой в шов просмоленной доски, обернутой рубероидом с
последующей заделкой шва просмоленной паклей (или другим герметизирующим
материалом) и зачеканкой внутренней поверхности шва цементным раствором (рис.
2а).
При сборных
железобетонных элементах с небольшой толщиной стенок (100 - 200
мм) гидроизоляция может осуществляться с помощью жгута
пакли, пропитанного битумом, с зачеканкой внутренней поверхности шва цементным
раствором (рис. 2б).
3.2. Гидроизоляция
деформационных швов при штукатурной асфальтовой гидроизоляции осуществляется с
помощью стальных компенсаторов и гернитового шнура, прижимаемых к изолируемой
конструкции анкерными болтами, устанавливаемыми в бетонной подготовке (для
днища) или привариваемых к специальным закладным деталям (для стен и
перекрытий) с последующей обделкой шва согласно рис. 3.
3.3. Гидроизоляция
деформационных швов при цементной штукатуркой гидроизоляции осуществляется
путем установки в тело бетона металлических, пластмассовых или резиновых компенсаторов,
просмоленной доски обернутой рубероидом и различным герметизирующих материалов
в соответствии с рис.
4.
Этот тип конструктивного
решения гидроизоляции деформационных: швов может быть использован и в случае применения
асфальтовой гидроизоляции.
3.4. При оклеечной
гидроизоляции гидроизоляция деформационных швов может осуществляться:
а) из алюминиевых или
медных рулонных полос, прокладываемых с внешней стороны шва между слоями
оклеечной гидроизоляции (рис. 5);
б) с использованием
медных, резиновых или пластмассовых компенсаторов, устанавливаемых в теле
фундамента (рис, 6);
в) со стальными съемными компенсаторами, устанавливаемыми
с внутренней стороны помещения, позволяющими производить ревизию шва и замену
компенсаторов в случае необходимости (рис. 7),

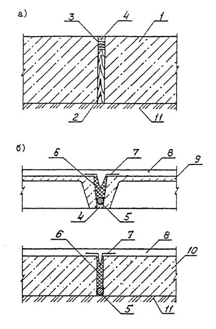
Рис. 2 Гидроизоляция деформационных швов в помещениях
при отсутствии подземных вод
а) в монолитных массивных конструкциях;
б) в тонкостенных сборных конструкциях
1 - фундамент; 2 - просмоленная доска, обернутая толем; 3
- просмоленная пакля; 4 - цементный раствор; 5 - прокладка резиновая пористая; 6
- битумная мастика (полимерный герметик); 7 - металлический компенсатор; 8 -
пол; 9 - плита перекрытия; 10 - железобетонная плита днища; 11 - грунт.

Рис. 3. Гидроизоляция деформационного шва в штукатурной гидроизоляции
а) деформационный шов в
перекрытии;
б) то же в днище;
в) то же в стене.
1 - асфальтовая гидроизоляция; 2 - армирующий
слой; 3 - битумная мастика; 4 - прокладка резиновая пористая; 5 - защитная
стяжка из цементного раствора; 6 - цементный раствор; 7 - жгут пакли,
пропитанный битумом; 8 - подготовка из бетона; 9 - плита железобетонная; 10 -
защитная стенка; 11 - металлический компенсатор; 12 - изолируемая конструкция;
13 - грунт.

Рис. 4. Гидроизоляция деформационного шва при цементной штукатурной
гидроизоляции
1 - подготовка из бетона; 2 - просмоленная пакля; 3 -
штукатурная гидроизоляция; 4 - защитная стяжка из цементного раствора; 5 - жгут
пакли пропитанный битумом; 6 - два слоя гидроизола; 7 - армирующий слой; 8 -
просмоленная доска, обернутая рубероидом; 9 - металлический компенсатор; 10 -
битумная мастика; 11 - цементный раствор; 12 - изолируемая конструкция; 13 -
грунт.

Рис. 5. Деформационный и температурно-усадочный шов с прокладкой алюминиевых
рулонных полос
1 - алюминий толщиной 0,5 - 1
мм; 2 - гидроизоляция; 3 - цементный раствор; 4 -
просмоленная доска, обернутая толем; 5 - просмоленная пакля; 6 - бетонная
подготовка; 7 - защитная кирпичная стенка; 8 - грунт.

Рис. 6. Деформационные и температурно-усадочные швы с медными (или
резиновыми) компенсаторами
а) при торкрет-штукатурной
гидроизоляции;
б) при оклеечной
гидроизоляции;
1 - компенсатор; 2 -
торкрет-штукатурка; 3 - цементный раствор; 4 - асфальтовая мастика; 5 -
просмоленная доска, обернутая толем; 6 - литой асфальт; 7 - бетонная подготовка;
8 - просмоленная пакля; 9 - рулонная гидроизоляция; 10 - просмоленный жгут; 11
- кирпичная защитная стенка; 12 - грунт.
3.5. При металлической
облицовочной гидроизоляция, которая, как правило, устраивается внутри
помещения, герметизация деформационных швов осуществляется с помощью стальных
компенсаторов, привариваемых к металлической изоляции.
3.6. Пропуск
технологических трубопроводов через гидроизоляцию может осуществляться
набивными и нажимными сальниками.
Набивные сальники
применяются главным образом при капиллярном подсосе воды, а прижимные - при
наличии подземных вод, создающих гидростатический напор.
Пример решения набивного
сальника доказан на рис. 8, а прижимного - на рис. 9,
3.7. При пропуске через
гидроизоляцию труб необходимо предусматривать установку закладных частей с
фланцами или приварку к
пропускаемым деталям уплотнительных фланцев. Закладные части, как правило,
следует делать из труб диаметром более диаметра пропускаемых деталей, а фланцы
шириной не менее 12 см.
Тоннели, каналы
4.1. Гидроизоляцию
тоннелей следует осуществлять в зависимости от допускаемой влажности воздуха в
них и величины гидростатического напора воды, а в необходимых случаях и с
учетом трещиностойкости конструкций.
Пешеходные и кабельные
тоннели следует относить к помещениям с допустимой относительной влажностью
менее 60 %. Коммуникационные
тоннели, каналы и транспортерные подземные тоннели следует относить к
помещениям с допустимой относительной влажностью 60 - 70 %.
Рис. 7. Деформационные и температурно-усадочные швы со стальными съемными
компенсаторами
а) для днищ; б) для стен;
1 - железобетонное днище; 2 - бетонная
подготовка; 3 - выравнивающая цементная стяжка; 4 - защитная цементная стяжка;
5 - просмоленная доска; 6 - гернитовый шнур на тиоколовой мастике; 7 -
оклеечная гидроизоляция (основная); 8 - стеклоткань, пропитанная битумом; 9 -
компенсатор из оцинкованной стали δ
= 3
мм (приваривается к закладным деталям водонепроницаемым
швом); 10 - закладные детали; 11 -просмоленная пакля; 12 - битумная мастика
(покраска); 13 -цементный раствор; 14 - железобетонная стена; 15 - прижимная
стенка.

Рис. 8. Схема устройства пропуска
технологических трубопроводов через гидроизоляцию с набивным сальником
1 - жгут пакли, пропитанный
битумом; 2 - герметик; 3 - цементная зачеканка; 4 - гидроизоляция (окрасочная);
5 - технологический трубопровод; 6 - изолируемая конструкция
Рис. 9. Схема
устройства пропуска технологических трубопроводов через гидроизоляцию с
прижимным сальником
1 - прижимной сальник; 2 - технологический трубопровод; 3
- уплотняющая набивка; 4 - гидроизоляция; 5 - изолируемая конструкция; 6 -
приварной фланец.
4.2. В тоннелях и
каналах, находящихся выше уровня грунтовых вод и находящихся вне здания, а
также располагаемых в зданиях с мокрым процессом, следует предусматривать, как
правило, окрасочную гидроизоляцию с: устройством в уровне верха
перекрытия оклеечной гидроизоляции, располагаемой по цементной стяжке,
необходимой для образования уклона (рис. 10).
4.3. При наличии
грунтовых вод конструктивные решения штукатурной, оклеечной и стальной
гидроизоляции тоннелей и каналов приведены соответственно на рис. 11, 12 и 13.
При применении
металлической гидроизоляции в стальной облицовке днища необходимо предусмотреть
отверстия для нагнетания в полости цементного раствора.
Подвалы
4.4. Защиту подвальных
помещений от подземных вод следует, как правило, осуществлять путем устройства
пластовых дренажей.
Пластовые дренажи
надлежит применять при коэффициенте фильтрации грунта не более 5 м/сутки
(супеси, суглинки, мелкозернистые и пылеватые пески).
Пластовый дренаж следует
укладывать под всем заглубленным помещением. В трещиновато-скальных и
крупнообломочных грунтах рекомендуется устраивать однослойную, а в песчаных и
глинистых грунтах двухслойную песчано-гравийную постель (рис. 14).
Для отвода воды из пластового дренажа в
ливнесточную сеть или к специальным станциям перекачки необходимо укладывать
трубчатые дрены с минимальным уклоном 0,005. Для линейных дрен рекомендуется
применять железобетонные и керамические трубы, а в условиях агрессивных
подземных вод - только керамические.
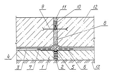
Рис. 10.
Гидроизоляция тоннеля при отсутствии подземных вод
1 - окрасочная гидроизоляция; 2 - оклеечная
гидроизоляция; 3 - цементная стяжка; 4 - бетонная подготовка; 5 - изолируемая
конструкция.
Рис. 11.
Оклеечная гидроизоляция тоннеля при наличии подземных вод
1 - бетонная
подготовка; 2 - выравнивающая цементная стяжка; 3 - оклеечная гидроизоляция; 4
- защитная цементная стяжка; 5 - железобетонное днище; 6 - защитная стенка; 7 -
обмазочная гидроизоляция; 8 - стена; 9 - стеклоткань, пропитанная битумом; 10 -
бетонный выравнивающий слой.
Рис. 12. Штукатурная
цементная гидроизоляция тоннеля при наличии подземных вод
1 - железобетонная стена; 2 - железобетонное днище
тоннеля; 3 - защитный цементный слой; 4 - литой асфальт; 5 - бетонная
подготовка; 6 - цементная торкрет-штукатурка; 7 - обмазочная гидроизоляция; 8 -
слой рулонного материала на битумной мастике.
Рис. 13.
Металлическая гидроизоляция тоннеля при наличии подземных вод
1 - закладная деталь; 2 - листы металлической
гидроизоляции; 3 - уголок; 4 - цементный раствор; 5 - отверстие для нагнетания
цементного раствора методом инъектирования под давлением; 6 - стальная
накладка.
Рис. 14, Пластовые дренажи
а) в
трещиновато-скальных и крупнообломочных грунтах;
б) в песчаных
и глинистых грунтах;
1 - защитный бетонный слой; 2 - толь (пергамин) - 1 слой;
3 - гравий (крупностью 3-25 мм);
4 - естественный грунт основания; 5 - песок (крупностью 0,25-1
мм).
Ширина пластового дренажа
в одну сторону до трубчатой дрены не должна превышать 30
м, при этом дну котлована необходимо придавать уклон в
сторону дрены не менее 0,01. При малой ширине сооружения (до 5
м) возможна горизонтальная планировка.
Пристенный дренаж
подземных помещений отсыпается до максимального расчетного уровня грунтовых вод
из средних и крупных песков.
4.5. В случае, когда
устройство дренажей технически невозможно или экономически нецелесообразно,
следует предусматривать гидроизоляцию.
4.6. У наружных стен
зданий с подвалами необходимо предусматривать устройство водонепроницаемой
отмостки из литого асфальта по бетонной подготовке на уровне планировочной
отметки грунта.
Гидроизоляцию в стенах
следует располагать на высоте 0,15 - 0,5
м от планировочной отметки (выше уровня примыкания
отмостки).
Если пол расположен ниже
планировочной отметки, то в стенах под полом необходимо предусматривать
устройство второй гидроизоляции.
Подпорные стены
4.7. Поверхность
подпорных стен, обращенная в сторону засыпки должна быть защищена окрасочной
гидроизоляцией.
4.6. При расположении
подпорных стен вне здания следует предусматривать со стороны грунта пристенный
дренаж (рис. 15).
Таблица 7.
Типы покрытия гидроизоляции в зависимости от
степени агрессивного воздействия подземных вод.
(плюс
(+) - рекомендуется, минус (-) - не допускается)
|
Тип покрытия
|
Наименование защитного покрытия
|
Степень агрессивного воздействия подземных вод
|
|
слабая
|
средняя
|
сильная
|
|
|
1. Окрасочные покрытия
|
|
|
|
|
I
|
Битумные покрытия холодные и горячие
|
+
|
-
|
-
|
|
II
|
Битумно-полимерные покрытия
|
+
|
+
|
-
|
|
III
|
Полимерные лакокрасочные покрытия
|
+*)
|
+
|
-
|
|
IV
|
Полимерные покрытия эпоксидные
|
+*)
|
+*)
|
-
|
|
|
2. Штукатурные асфальтовые и литые покрытия
|
|
|
|
|
V
|
Штукатурные асфальтовые покрытия
|
+*)
|
+
|
-
|
|
VI
|
Литые асфальтовые покрытия
|
+*)
|
+
|
-
|
|
|
3. Оклеечные покрытия
|
|
|
|
|
VII
|
Оклеечные битумные (рулонные) покрытия
|
+*)
|
+*)
|
+
|
|
VIII
|
Оклеечное полимерное (рулонное) покрытие
|
+*)
|
+*)
|
+
|
*) при соответствующем обосновании
Таблица 8.
Выбор типа гидроизоляции для
защиты подземных конструкций от воздействия агрессивных подземных вод.
|
№№ п.п.
|
Наименование подземных конструкций
|
Степень воздействия агрессивных подземных вод
|
|
слабая
|
средняя
|
сильная
|
|
I.
|
Массивные фундаменты (фундаменты оборудования, колонн зданий и
сооружений, фундаментные плиты толщиной более 0,5
м и др.)
|
I
|
II,
V
|
III, VII
|
|
2.
|
Сборные и монолитные конструкции
толщиной менее
0,5 м
(подпорные стены, фундаментные плиты, свайные ростверки и пр.)
|
II
|
III,
VI
|
IV, VIII
|
|
3.
|
Сваи, фундаментные и цокольные балки и др.
|
I
|
III
|
IV
|
Степень
агрессивного воздействия подземных вод устанавливается по СНиП 2.03.11-85
"Защита строительных конструкций от коррозии".
При средней и сильной степени
воздействия агрессивных вод поверхности конструкции, располагаемые выше
защитной гидроизоляции, окрашивается горячим битумом за 2 раза.
Примеры устройства
гидроизоляции фундаментов при наличии агрессивных подземных вод приведены в приложении
2.
При необходимости
выполнения гидроизоляции подземных сооружений, строительство которых ведется
способами, исключающими доступ к наружной поверхности сооружений (способы
"стена в грунте", "секущие сваи", опускные колодцы,
продавливание объемных железобетонных элементов, щитовая проходка и т.п.),
технология производства гидроизоляционных работ отличается особой спецификой,
учитывающей как конструктивное решение сооружения, так и применение
специального оборудования для производства этих работ.
Способ "стена в грунте"
5.1. Строительство
подземных сооружений способом "стена в грунте" состоит в
первоначальном устройстве в грунте траншеи, заполняемой глинистым раствором, с
последующим вытеснением этого раствора монолитным бетоном или сборными
конструкциями стен сооружений (рис. 16).
5.2. Водонепроницаемость
сооружений, возводимых способом "стена в грунте" обеспечивается
прежде всего за счет водонепроницаемости самих конструкций, а также за счет
применения медленно твердеющего глинисто-цементного раствора, применяемого при
разработке котлована.
Рис. 16. Схема
производства работ при возведении стен способом "стена в грунте" из
сборного железобетона
1 - сборная панель; 2 - цементно-глинистый раствор; 3 -
разделительный элемент (труба); 4 - железобетонный воротник; 5 - бетон на
мелком заполнителе
5.3. Для получения
водонепроницаемого бетона высокой плотности (W6 и более)
широко применяются химические добавки, в том числе суперпластификаторы,
введение которых способствует повышению прочности бетона, его морозостойкости и
водонепроницаемости до W8 - W12. Имеет
место широкое применение специальных бетонов в целях повышения
водонепроницаемости сооружений - полимербетонов, бетонов на основе напрягающего
цемента. Применяются также конструкции (преимущественно сборные), покрытые или
пропитанные различными составами.
5.4. Состав
глиноцементного раствора устанавливается в зависимости от активности цемента,
вида применяемой глины, гидрогеологических условий.
Ориентировочный
состав глиноцементного раствора (по данным НИИОСП) на 1
м3 раствора в кг следующий:
бетонитовый глинопорошок - 70 - 90;
жидкое стекло - 4 - 6;
цемент марки 200 - 400 - 50 - 190;
хлористый кальций - 1,5 - 2,5;
сульфатноспиртовая барда - 0,5 - 1;
вода -
870 - 890.
5.5. При
расположении днища сооружения выше водоупора необходимо устройство гидроизоляции
днища. Гидроизоляция днища может быть выполнена обычными способами, при этом
необходима тщательная гидроизоляция сопряжения стен с днищем.
Способ "секущихся свай"
5.6. Способ "секущих
свай" состоит в устройстве непрерывного ряда буровых свай с использованием
обсадных труб или бетонитового раствора для образования герметичной ограждающей
или несущей стены (рис. 17).
5.7. Водонепроницаемость
стен из "секущих свай" обеспечивается за счет применения при их
возведении бетонов на расширяющемся или напрягающем цементе, устройством
противофильтрационных завес, торкретированием внутренних стен сооружений.
Возможно также устройство противофильтрационных завес из глиноцементного
раствора.
Способ "опускного колодца"
5.8. Сущность способа
опускного колодца состоит в следующем. На поверхности возводятся внешние стены
подземного сооружения на всю высоту или ее часть из монолитного или сборного
железобетона. Затем изнутри контура ведется разработка грунта, конструкция
постепенно под действием своего веса погружается в грунт. По мере погружения
стен производится их наращивание до проектных размеров (рис. 18).
Условия погружения
опускных колодцев улучшают путем уменьшения сил трения колодца по грунту
различными способами. Подмыв массивных колодцев позволяет снизить усилия трения
на 25 %. При покрытии наружных
поверхностей стен опускных колодцев синтетическими материалами силы трения
снижаются на 25 %. Синтетическое
покрытие одновременно является гидроизоляцией.
Наиболее эффективным способом уменьшения сил трения при
погружении опускных колодцев является применение тиксотропной рубашки.
Рис. 17. Схема
производства работ при строительстве подземных сооружений способом
"секущихся свай"
1 - бетонные сваи; 2 - железобетонные сваи; 3 - разбуриваемое
отверстие; 4 - стена из секущихся свай; 5 - железобетонный воротник; 6 -
арматурный каркас; 7 - пионерная траншея
Рис. 18 Схема
производства работ при строительстве сооружений способом опускного колодца
1 - опускной колодец; 2 -
тиксотропная рубашка
При этом собственный вес
колодца может быть уменьшен в 2 - 3 раза. Применение тиксотропной рубашки
позволяет решить конструкцию тонкостенных колодцев в сборном железобетоне и
обеспечить их водонепроницаемость.
5.9. При использовании
сборных конструкций для опускных колодцев стыки между панелями должны
заделываться бетоном на расширяющемся или напрягающем цементе.
5.10. Гидроизоляцию
наружных поверхностей стен опускных колодцев при наличии подземных вод следует
предусмотреть из цементной штукатурки с устройством поверх нее окрасочной
гидроизоляции, которые выполняются до погружения колодца. Верхнюю границу
гидроизоляции стен следует принимать на 0,5
м выше максимального прогнозируемого уровня подземных
вод. Выше этого уровня наносится окрасочная, гидроизоляция (битумная или
пластмассовая).
Для днища опускных
колодцев следует предусматривать горячую асфальтовую или оклеечную
гидроизоляцию, укладываемую под железобетонной плитой днища (рис. 19).
Гидроизоляция и облицовка
колодцев из листовой стали допускается, если это обосновывается
технологическими требованиями или в тех случаях, когда требуется обеспечить
относительную влажность в помещении менее 60 %.
При отсутствии подземных
вод и при глубине колодцев до 15
м допускается к применению окрасочная гидроизоляция.
5.11. Штукатурную
гидроизоляцию из цементно-песчаного раствора следует выполнять методом
торкретирования в два слоя общей толщиной 20 - 30
мм. При производстве в зимнее время в интервале
температур плюс 5 - минус 10°С в состав гидроизоляционных покрытий необходимо
вводить противоморозные добавки.
Рис. 19.
Сопряжение оклеечной гидроизоляции днища опускного колодца с цементной
гидроизоляцией стен
1 - ножевая часть опускного колодца; 2 - слой торкрета; 3
- днище; 4 - битумная мастика; 5 - деревянная рейка; 6 - оклеечная
гидроизоляция; 7 - бетонная стяжка; 8 - бетонная подготовка.
5.12. При пропуске сквозь
стены труб и других деталей для усиления штукатурной цементной гидроизоляции
необходимо к фланцам закладных деталей приварить стальную сетку и покрыть ее и
фланцы торкретным слоем (рис. 20).
5.13. При применении
гидроизоляции спускных колодцев из листовой стали, когда это обосновано
технологическими требованиями, ее следует использовать в качестве опалубки при
бетонировании стен, а в днище необходимо предусматривать зазор величиной 0,03
м для последующего нагнетания в полость между днищем и
стальной гидроизоляцией, в которой предусмотрены отверстии цементного раствора
(рис. 21).
Способ продавливания объемных железобетонных элементов
5.14. Сущность метода
продавливания заключается в том, что возведение тоннеля ведется закрытым
способом, путем задавливания конструкции в породу и удаление грунта из забоя
специальными средствами.
Продавливание
железобетонных конструкций осуществляется путем продавливания их в грунт под воздействием усилий,
развиваемых домкратами. Для уменьшения сил продавливания первое звено объемного
элемента оснащается ножевой частью, а усилия от домкратов воспринимаются
специально устраиваемой в котловане упорной стеной (рис. 22).
5.15. Водонепроницаемость
сооружений обеспечивается за счет плотности материала конструкций и
соответствующей герметизации стыков.
5.16. В целях снижения
усилия трения при продавливании элементов, а также повышения их
водонепроницаемости наружные поверхности продавливаемых элементов покрываются
эпоксидными и другими синтетическими материалами.
Рис. 20.
Пример решения пропуска труб через стены опускного колодца
1 - металлическая арматурная сетка; 2 - штукатурная
цементная гидроизоляция; 3 - выпуск арматуры; 4 - ребристый патрубок; 5 -
добетонировка проема в стене погружения колодца.
Рис. 21. Металлическая гидроизоляция
опускных колодцев
а) пример решения
сопряжения оклеечной гидроизоляции днища и стальной гидроизоляции стен; б) то
же, при стальной гидроизоляции стен и днища;
1 - стальная гидроизоляция; 2 - оклеечная гидроизоляция;
3 - отверстия для нагнетания цементного раствора; 4 - деревянная рейка.
Рис. 22 Схема
производства работ при строительстве подземных сооружений способом
продавливания объемных железобетонных элементов
1 - объемные
железобетонные элементы; 2 - ножевое устройство; 3 - гидравлические домкраты
5.17. Герметизация стыков
объемных элементов выполняется в зависимости от назначения сооружения,
гидрогеологических условий и конструктивного решения продавливаемых элементов.
Для герметизации стыков используются различного рода прокладки: листовая
резина, транспортерная лента толщиной 10 - 12
мм, жгуты, пропитанные каменноугольным лаком и т.д.
5.18. При строительстве в
обводненных грунтах пешеходных переходов, а также сооружений особого назначения
применяется внутренняя металлоизоляция, состоящая из стальных листов толщиной 4
- 6 мм,
заанкеренных в бетон конструкций в процессе их формирования. После окончания
продавливания металлическая изоляция смежных секций сваривается, покрывается
антикоррозионным покрытием с устройством при необходимости облицовочных стенок,
полов и т.п.
Способ щитовой проходки
5.19. При щитовом способе
разработки породы и возведении обделки, как при способе продавливания выполняют
без нарушения земной поверхности через ствол шахты (рис. 23).
В качестве временной
крепи используется стальной цилиндр - щит, имеющий диаметр несколько больший,
чем тоннельная обделка. Тоннельная обделка при щитовом способе работ имеет, как
правило, круговое очертание и состоит из железобетонных блоков.
Для тоннелей
метрополитена имеет место применение обделок из чугунных тюбингов.
Рис. 23, Схема
производства работ при щитовой проходке
1 - сборная круглая обделка (цельная или из тюбингов); 2 -
стальной щит; 3 - щитовые гидравлические домкраты
При щитовом способе работ
применяют обделки из монолитного бетона.
5.20. Водонепроницаемость
тоннелей, сооружаемых способом щитовой прокладки осуществляется за счет
применения обделок, обладающих требуемой водонепроницаемостью, чеканки швов и
нагнетания за обделку раствора на расширяющемся или напрягаемом цементе с
использованием в случае необходимости полимерных добавок.
Для водонасыщенных
грунтов рекомендуется к применению гидроизоляция, устраиваемая с внутренней
стороны тоннеля.
Рис. 1
Рис. 2
Рис. 2
Рис. 3
Рис. 4
Рис. 5
Рис. 6
Рис. 7
Рис. 8.I
Рис. 8.II
Рис.
9
Рис.
10
Рис. 11
Рис. 12.I
Рис. 12.II
Рис. 12.III
Рис. 13
Рис. 14
ПОДРИСУНОЧНЫЕ ПОДПИСИ
Рис. 1
Способы уплотнения
деформационных швов при устройстве гидроизоляции
а) окрасочной; б)
цементной; в) при заполнении шва поропластом; г) при перекрытии шва
профилированной резиной; д) с односторонним усилением металлическими листами;
е) то же, с двух сторон; ж) с односторонним усилением металлическими листами и
рулонными гидроизоляционными материалами; з) то же, с двух сторон; и) с
фигурным компенсатором для широких швов с окантовкой; к) то же, в стене (при
необходимости смены компенсатора); л) с фигурным компенсатором при узких швах
(до 20 мм);
м) на перекрытиях; н) компенсатор для тоннелей и каналов, примыкающих к
сооружениям с большими осадками; о) резиновые или пластмассовые профилированные
компенсаторы; п) угловое звено фигурного компенсатора; р) из асфальтовых мастик
(растворов) при деформации в шве до 20
мм в основании сооружения; с) то же, в стене; т, у) то
же, при деформации более 20 мм.
1 - подготовка по
утрамбованному грунту с выровненной поверхностью; 2 - гидроизоляция; 3 -
рулонный гидроизоляционный материал; 4 - плоские металлические листы; 5 -
заполнение шва эластичной мастикой; 6 - окантовка шва; 7 - фигурный
металлический компенсатор с болтовым креплением; 8 - то же, без крепления; 9 -
резиновая или пластмассовая лента; 10 - армирующая металлическая сетка; 11 -
жгут из рулонного материала; 12 - асфальтовый мат или асфальтобетон; 14 -
поропласт;- 15 - плита перекрытия; 16 -защитное ограждение.
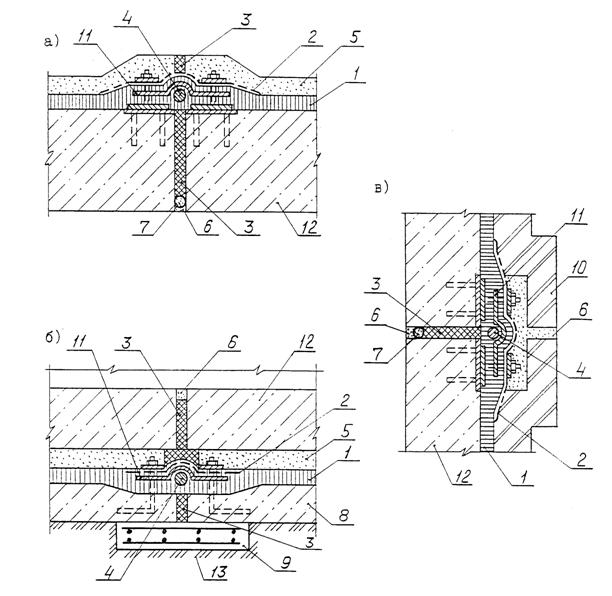
Рис. 2.
Способы сопряжения
закладных изделий с гидроизоляцией
а, б) с оклеечной при
пропуске труб через отверстия, диаметром более диаметра труб; в) с оклеечной
при пропуске горячих труб; г) с оклеечной при применении бандажных накладок; д)
с оклеечной при заделке анкера
в стену; е) с асфальтовой при заделке анкера в стену; ж) с асфальтовой, при
заделке труб в стену; з) групповой фланец для нескольких труб и кабелей; к, к)
с асфальтовой и цементной при пропуске труб через отверстия диаметром более
диаметра труб.
1 - изолируемая
конструкция; 2 - гидроизоляция; 3 - защитное ограждение; 4 - труба (анкер); 5 -
заливка мастикой; 6 - фланец и защемляющая накладка; 7 - упор, уплотняющая
набивка и зажимное приспособление; 8 - манжет из битумированной стеклоткани с
обмоткой жгутом (проволокой) или с зажимом бандажной накладкой; 9 -защитная
металлическая диафрагма; 10 - армирующая металлическая сетка.
Рис. 3.
Устройство прокладок в
стенах зданий без подвалов,
а) по поверхности стены;
б) с подрезкой стены.
1 - фундамент; 2 -
рулонная гидроизоляция; 3 - прокладка (горизонтальный заграждающий слой); 4 -
цементная штукатурка; 5 - внутренняя защитная штукатурка; 6 - отметка верха
подстилающего слоя пола; 7 - планировочная отметка земли; 8 - отмостка.
Рис. 4.
а) Устройство, прокладок,
в стенах с подвалом при высокорасположенном перекрытии подвала;
б) Устройство прокладок в
стенах зданий с подвалом при низкорасположенном перекрытии подвала.
1 - перекрытие подвала; 2
- подготовка; 3 - верхние противокапиллярные прокладки; 4 - цементная
гидроизоляция; 5 - внутренняя штукатурная гидроизоляция; 6 - отметка верха
подстилающего слоя пола; 7 - планировочная отметка земли; 8 - отмостка; 9 -
нижняя противокапиллярная прокладка; 10 -вертикальная гидроизоляция из слоя битумных
покрытий; 11 - нижняя прокладка из рулонного материала.
Рис. 5.
Гидроизоляция подземных
сооружений.
а) от напора грунтовых
вод; б) от грунтовой капиллярной влаги.
1 - гидроизоляция; 2 -
подстилающий слой (подготовка); 3 - несущая конструкция; 4 - защитная стяжка; 5
- защитное ограждение гидроизоляции (устраивается при необходимости); 6 -
максимальный, уровень грунтовых вод; 7 - планировочная отметка земли; 8 -
шпонка 100×150 мм из горячих асфальтовых материалов.
Рис. 6.
Гидроизоляция
заглубленных сооружений.
а) от напора грунтовых
вод; б) от грунтовой капиллярной влаги
1 - гидроизоляция от
напора грунтовых вод; 2 - подстилающий слой (подготовка); 3 - несущая
конструкция; 4 - гидроизоляция от капиллярной влаги; 5 - защитное ограждение
гидроизоляции (устраивается при необходимости); 6 - максимальный уровень
грунтовых вод; 7 - планировочная отметка земли; 8 - шпонка 100×150 мм из
горячих асфальтовых материалов.
Рис. 7.
Гидроизоляция подвалов.
а) (от грунтовой
капиллярной влаги; б) от напора грунтовых вод (железобетонное днище заанкерено в стене); в) от напора
грунтовых вод (сплошной фундамент в виде монолитной железобетонной плиты); г) от напора грунтовых вод (с
пригрузочным слоем на днище).
1 - гидроизоляция; 2 -
подстилающий слой: (подготовка); 3 - противокапиллярная прокладка; 4
-.цементная штукатурка; 5 - защитное ограждение гидроизоляции (устраивается при
необходимости); 6 - максимальный уровень грунтовых вод; 7 - пригрузочная
конструкция; 8 - отмостка; 9 - заанкеренная железобетонная плита; 10 - битумная
мастика; 11 - фундаментная плита; 12 - шпонка 100×150 мм из горячих
асфальтовых мастик.
Рис: 8
Гидроизоляция
реконструируемых подвалов.
I. Гидроизоляция
по грунту и существующему бетонному полу при уровне грунтовых вод от 15 до 50
см.
а) по грунту; б) по
существующему бетонному полу.
II. Гидроизоляция по
грунту и существующему бетонному полу при уровне грунтовых вод более 50:
см. (вариант армирования сварными сетками).
а) по грунту; б) по
существующему бетонному полу.
1 - существующая
изолируемая стена; 2 - щебеночная подготовка - 100
мм; 3 - бетон класса В7, 5; 4 - гидрофобный
цементно-песчаный раствор M150;
5 - три слоя холодной асфальтовой мастики по грунтовке; 6 - цементно-песчаный
раствор М75; 7 - цементно-песчаный раствор М100; 8 - плинтус из цементно-песчаного
раствора; 9 - дополнительный слой холодной асфальтовой мастики - 3
мм; 10 - существующий бетон; 11 - цементно-песчаная
штукатурка; 12 - железобетонная плита; 13 - штыри из круглой стали; 14 -
уровень грунтовых вод.
Рис. 9.
Гидроизоляция опускных
колодцев.
а) с двух сторон; б) с
одной наружной стороны; в, г) сопряжение оклеечной гидроизоляции с цементной
гидроизоляцией стен.
1 - нож опускного
колодца; 2 - подготовка; 3 -
днище опускного колодца; 4 - окрасочная битумная гидроизоляция; 5 -
выравнивающая или защитная стяжка; 6 - оклеечная гидроизоляция; 7 -
планировочная отметка земли; 8 - цементная штукатурная гидроизоляция; 9 -
максимальный уровень воды в сооружении; 10 - максимальный уровень грунтовых
вод; 11 - битумная мастика; 12 - лист оклеечной гидроизоляции.
Рис. 10.
Гидроизоляция кессонов.
а) с двух сторон; б) с
наружной стороны.
1 - планировочная отметка
земли; 2 - цементная гидроизоляция; 3 - несущая конструкция; 4 - окрасочная
битумная гидроизоляция; 5 - максимальный уровень грунтовых вод.
Рис. 11.
1 - металлическая
гидроизоляция от напора грунтовых, вод; 2 - подготовка; 3 - железобетонный
короб; 4 - гидроизоляция от грунтовой влаги; 5 - футеровка; 6 - максимальный
уровень грунтовых вод; 7 - планировочная отметка земли; 8 - гидроизоляция от
просачивающейся сверху воды; 9 - теплоизоляция (принимается по расчету в
зависимости от температуры "отходящих газов); 10 - засыпка (котельный шлак
или другой теплоизоляционный материал); 11 - защитный слой из
цементно-песчаного раствора.
Рис. 12.
Гидроизоляция из
полиэтиленовых листов.
I. Для сборных
конструкций стен
а) разрез по стене; б)
деталь стыка панелей; в) деталь угла панельных стен
II. Для сборных конструкций, каналов и
коллекторов а) канал из объемных секций; б) коллектор из объемных секций; в)
деталь сопряжения гидроизоляции днища и cтен; г.) коллектор из плоских элементов.
III. Конструкции деформационных швов в
стенах и днище.
а) в стенах; б) в днище
1 - гидроизоляция; 2 -
полиэтиленовая накладка; 3 - сварные швы; 4 - гладкий полиэтиленовый лист; 5 -
железобетонная конструкция сооружения (монолитная или сборная); 6 - подготовка;
7 - песчаная подсыпка; 8 - стяжка из цементно-песчаного раствора; 9 - битумная
мастика; 10 - пороизол; 11 - мытый песок; 12 - один слой пергамина; 13 -
деревянная. прокладка.
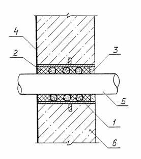
Рис. 13.
Гидроизоляция
трубопроводов (водопровода и канализации) при бесканальной прокладке.
а) напорных; б)
безнапорных.
1 - глинобетон; 2 -
трубопровод; 3 - местный грунт; 4 - планировочная отметка земли.
Рис. 14.
Гидроизоляция одноярусных
каналов.
1 - глинобетон; 2 - окрасочная или оклеечная
гидроизоляция; 3 - местный грунт; 4 – планировочная отметка земли; 5 -
изолируемая конструкция.
Рис. 1.
Гидроизоляция фундамента под стену
Рис. 2.
Гидроизоляция фундамента под колонну
Рис. 3.
Гидроизоляция свайного фундамента
Рис. 4. Гидроизоляция
фундамента под оборудование
Рис. 5. Узел
1. Окрасочная гидроизоляция
1 - подготовка из щебня,
пропитанного битумом - 100 мм;
2 - выравнивающий слой из цементного раствора марки 100; 3 - грунтовка; 4 -
окрасочная гидроизоляция (тип I...V); 5 - защитная стяжка, из
цементного раствора марки 100; 6- изолируемая конструкция
Рис. 6. Узел
2. Асфальтовая гидроизоляция
1 - подготовка из щебня, пропитанного битумом - 100
мм; 2- битумная грунтовка; 3 - асфальтовая штукатурная
гидроизоляция (тип 7); 4 - защитная стяжка из цементного раствора марки 100; 5
- изолируемая конструкция
Рис. 7. Узел
3, Литая гидроизоляция
1 - подготовка из щебня,
пропитанного битумом - 100 мм;
2 - литая гидроизоляция (тип VI);
3 - защитная стяжка из цементного раствора марки 100; 4 - изолируемая
конструкция
Рис. 8. Узел
4. Оклеечная гидроизоляция
1 - подготовка из щебня, пропитанного битумом - 100
мм; 2 - уплотненный асфальтобетон - 40
мм; 3 - грунтовка; 4 - оклеечная гидроизоляция (тип VII и
VIII); 5 - защитная стяжка из цементного раствора марки 100 - 30
мм; 6 - изолируемая конструкция
Рис. 9. Узел
5. Окрасочная гидроизоляция
1 - подготовка из щебня,
пропитанного битумом - 100 мм;
2 - выравнивающий слой из цементного раствора марки 100 - 10
мм; 3 - грунтовка; 4 - окрасочная гидроизоляция (тип I…IV); 5 - стяжка из
цементного раствора марки 100 - 30
мм; 6 - затирка цементным раствором марки 100 - 10
мм; 7 - армирующий слой (слой стеклоткани); 8 -
изолируемая конструкция
Рис. 10. Узел
6. Асфальтовая и окрасочная гидроизоляция
1 - подготовка из щебня, пропитанного битумом - 100
мм; 2- грунтовка; 3 - асфальтовая гидроизоляция (тип V);
4 - стяжка из цементного раствора марки 100 - 30
мм; 5 - затирка цементным раствором марки 100 - 10
мм; 6 - армирующий слой (слой стеклоткани); 7 -
окрасочная гидроизоляция (тип II); 8 - изолируемая конструкция
Рис. 11. Узел
7. Литая и окрасочная гидроизоляция
1 - подготовка из щебня, пропитанного битумом - 100
мм; 2 - литая асфальтовая гидроизоляция (тип VI); 3 -
стяжка из цементного раствора марки 100 - 30
мм; 4 - затирка цементным раствором марки 100 - 10
мм; 5 - грунтовка; 6 - армирующий слой (слой
стеклоткани); 7 - окрасочная гидроизоляция (тип III); 8 - изолируемая
конструкция
Рис. 12. Узел
8. Оклеечная гидроизоляция
1 - подготовка из щебня,
пропитанного битумом - 100 мм;
2 - уплотненный асфальтобетон - 40
мм; 3 - грунтовка; 4 - оклеечная гидроизоляция (типы VII и VII); 5 - стяжка из
цементного раствора марки 100 - 30
мм; 6 - армирующий слой; 7 - затирка цементным раствором
марки 100 - 10 мм;
8 - цементный раствор марки 100; 9 - защитная стенка; 10 - изолируемая
Рис. 13. Узел
9. Окрасочная гидроизоляция
1 - выкружка из цементного
раствора марки 100 (R = 50 - 100 мм); 2 -
затирка цементным раствором марки - 100 - 10
мм; 3 - цементная стяжка; 4 - грунтовка; 5 - окрасочная
гидроизоляция (типы I…IV);
6 - изолируемая конструкция
Рис. 14. Узел.
10. Оклеечная гидроизоляция
1 - выкружка из цементного
раствора марки 100 (R = 50-100
мм); 2 - затирка цементным раствором марки 100 - 10
мм; 3 - армирующий слой; 4 - грунтовка; 5 - оклеечная
гидроизоляция (типы VII и VIII); 6 - стяжка из цементного раствора марки 100; 7
- цементный раствор марки 100; 8 - защитная стенка; 9 - изолируемая конструкция

Рис. 15. Узел
11. Окрасочная гидроизоляция
1 - затирка цементным
раствором марки 100 - 10 мм;
2 - грунтовка; 3 - окрасочная гидроизоляция (типы I…IV); 4 - изолируемая конструкция; 5 -
окраска битумом за 2 раза
Рис. 16. Узел
12. Оклеечная гидроизоляция
1 - затирка цементным
раствором марки 100 - 10 мм;
2 - грунтовка; 3 - оклеечная гидроизоляция (типа VII и VIII); 4 - цементный раствор марки 100; 5
- защитная стенка; 6 - окрасочная гидроизоляция (типа III и IV); 7 - изолируемая конструкция; 8 - окраска
битумом за 2 раза
Рис. 17. Узел
13. Окрасочная гидроизоляция
1 - подготовка из щебня,
пропитанного битумом - 100 мм; 2- выравнивающий слой из цементного раствора
марки 100; 3- грунтовка; 4 - окрасочная гидроизоляция- (тип I…IV); 5 - стяжка из цементного раствора марки
100; 6 - затирка цементным раствором марки 100 - 10
мм; 7 - армирующий слой (слой стеклоткани); 8 -
изолируемая конструкция
Рис. 18. Узел
14. Асфальтовая и окрасочная гидроизоляция
1 - подготовка из щебня,
пропитанного битумом - 100 мм;
2- грунтовка; 3 - асфальтовая гидроизоляция (тип V); 4 - стяжка из цементного раствора марки
100; 5 - затирка цементным раствором марки 100 - 10
мм; 6 - армирующий слой (слой стеклоткани); 7 -
окрасочная гидроизоляция (тип II);
8 - изолируемая конструкция
Рис. 19. Узел
15. Литая и окрасочная гидроизоляция
1 - подготовка из щебня,
пропитанного битумом - 100 мм;
2 - литая асфальтовая гидроизоляция (тип VI); 3 - стяжка из цементного раствора марки
100; 4 - затирка цементным раствором марки 100 - 10
мм; 5 - грунтовка; 6 - армирующий слой (слей
стеклоткани); 7 - окрасочная гидроизоляция (тип III); 8 - изолируемая конструкция
Рис. 20. Узел
16. Оклеечная гидроизоляция
1 - подготовка из щебня,
пропитанного битумом - 100 мм;
2 - уплотненный асфальтобетон - 40
мм; 3 - грунтовка; 4 - оклеечная гидроизоляция (типы VII и VIII); 5 - стяжка из
цементного раствора марки 100; 6 - армирующий слой; 7 - затирка цементным
раствором марки 100 - 10 мм;
8 - цементный раствор марки 100; 9 - защитная стенка; 10 - изолируемая
конструкция
Рис. 21. Узел
17. Окрасочная гидроизоляция
1 - выкружка из цементного
раствора марки 100 (R = 50 - 100
мм); 2 - затирка цементным раствором марки 100 - 10
мм; 3- цементная стяжка; 4 - грунтовка; 5 - окрасочная
гидроизоляция (типа I…IV); 6 - изолируемая
конструкция
Рис. 22, Узел
18. Оклеечная гидроизоляция
1 - выкружка из цементного
раствора марки 100 (R = 50 - 100
мм); 2 - затирка цементным раствором марки 100 - 10
мм; 3- армирующий слой; 4 - грунтовка; 5 - оклеечная гидроизоляция
(типы VII и
VIII); 6 - стяжка из цементного раствора марки 100; 7 - цементный раствор марки
100; 8 - защитная стенка; 9 - изолируемая конструкция
Рже. 23. Узел
19. Окрасочная гидроизоляция
1 - затирка цементным раствором
марки 100 раковин и выбоин; 2 - грунтовка; 3 - окрасочная гидроизоляция; (типы
I, III и IV); 4 - изолируемая
конструкция
Рис, 24. Узел
20. Окрасочная гидроизоляция
1 - подготовка из щебня,
пропитанного битумом - 100 мм;
2 - выравнивающий слой из цементного раствора марки 100; 3 - грунтовка; 4 -
окрасочная гидроизоляция (тип I…IV);
5 - стяжка из цементного раствора марки 100; 6 - затирка цементным раствором
марки 100 - 10 мм;
7 - армирующий слой (слой стеклоткани); 8 - изолируемая конструкция
Рис. 25. Узел
21. Асфальтовая и окрасочная гидроизоляция
1 - подготовка из щебня,
пропитанного битумом - 100
мм; 2 - грунтовка; 3 - асфальтовая гидроизоляция (тип 7);
4 - стяжка из цементного раствора марки 100; 5 - затирка цементным раствором
марки 100 - 10 мм;
6 - армирующий слой (слой стеклоткани); 7 - окрасочная гидроизоляция (тип II); 8 - изолируемая
конструкция
Рис. 26. Узел 22. Литая и окрасочная гидроизоляция
1 - подготовка из щебня, пропитанного битумом - 100
мм; 2 - литая асфальтовая гидроизоляция (тип V); 3 -
стяжка из цементного раствора марки 100; 4 - затирка цементным раствором марки
100 - 10 мм;
5 - грунтовка; 6 - армирующий слой (слой стеклоткани); 7 - окрасочная
гидроизоляция (тип III); 8 - изолируемая конструкция
Рис. 27. Узел 22. Оклеечная гидроизоляция
1 - подготовка из щебня,
пропитанного битумом - 100 мм;
2 - уплотненный асфальтобетон -
40 мм; 3
- грунтовка; 4 - оклеенная гидроизоляция {типы VII и VIII); 5 - стяжка из цементного раствора
марки 100; 6 - армирующий слой; 7 - затирка цементным раствором марки 100 - 10
мм; 8 - цементный раствор марки 100; 9 - защитная стенка;
10 - изолируемая конструкция
К подразделу "Штукатурная гидроизоляция".
1. Для производства
водонепроницаемых растворов, бетонов и железобетонных конструкций можно
использовать ГИДРО-3 - сухую смесь портландцемента (класс В30) и минеральной
расширяющейся добавки (ИР-1).
При применении смеси
ГИДРО-3 вместо цемента, бетоны и растворы приобретают свойство
"самозалечивания" сквозных (и несквозных) трещин и незначительных
дефектов, т.е. если в результате механических воздействий в бетоне появляются
трещины шириной раскрытия до 0,8
мм и через них будет просачиваться вода, то через 3 - 10
дней эти трещины надежно "зарастут" и протечки воды
самоликвидируются.
Растворы и бетоны с
применением смеси ГИДРО-3 могут использоваться против капиллярного подсоса,
влаги и при "гидростатическом напоре не более 2,0
м при выполнении работ со стороны помещения.
Указания к применению смеси ГИДРО-3.
Для нанесения
водонепроницаемого раствора (штукатурки) необходимо провести подготовку
поверхности. Основание, на которое наносится раствор (на основе ГИДРО-3),
должно быть жёстким, чистым, без расслоений и выкрашивающихся участков, без
жирных пятен и загрязнений, достаточно шероховатым для хорошего сцепления. Если
основание грязное или гладкое, рекомендуется предварительно зачистить его
пескоструйным методом или металлической щеткой, обеспылить и увлажнить.
Практически во всех случаях необходима набивка армирующей сетки для придания дополнительной
прочности водонепроницаемому покрытию (давление воды через основание). Для
этого необходимо использовать кладочную или монтажную сетку из проволоки
диаметром 2 - 4 мм
с размерами ячейки от 5 до 20
см. Сетка должна быть отнесена от несущей конструкции не
менее чем на 5 мм.
Наличие масла, масляной
пленки на поверхности арматуры не допустимо.
2. Штукатурную
гидроизоляцию из материалов системы "Шомбург" (Германия) следует
располагать, как правило, со стороны действующего на сооружение подпора воды.
При защите от капиллярной влажности допускается гидроизоляцию располагать на
противоположной от увлажнения стороне.
До нанесения
гидроизоляции необходимо произвести затирку неровностей цементно-песчаным
раствором для штукатурных работ с добавкой связующего состава (вяжущей
эмульсии).
Гидроизоляция включает в
себя ряд последовательно наносимых слоев:
- грунтовочный слой из
состава АКВАФИН-Ф;
- 1-ый гидроизоляционный
слой из цементосодержащего состава АКВАФИН-2к;
- два слоя эластичной
гидроизоляции из состава АКВАФИН-2к.
АКВАФИН-Ф является
готовым к применению раствором на основе гидрофобизирущих кремниевых соединений
и применяется для повышения сцепления за счет капиллярного проникновения в
структуру бетона. АКВАФИН-Ф наносится на поверхность с расходом 0,3...0,4 кг/м2.
АКВАФИН-1к является
гидроизоляционным составом для нанесения на поверхности; содержит кварцевый
песок, марочный цемент и добавки; образует прочное, жесткое покрытие.
АКВАФИН-2к является
эластичным гидроизоляционным покрытием, состоящим из 3-х весовых частей
состава. АКВАФИН-1к и одной весовой части жидкого эластификатора.
Гидроизоляционное
покрытие можно подвергать нагрузкам не ранее, чем через 72 часа после нанесения
последнего слоя.
В углах сопряжения
"стена-пол" устраивается галтель (плинтус) из цементно-песчаного
раствора, с добавкой вяжущей эмульсии, разбавленной водой в пропорции от 1:3 до
1:5.
Материалы отделочных
слоев, наносимых по гидроизолированным поверхностям, рекомендуется
согласовывать с фирмой - производителем работ с гидроизоляционными материалами
системы "Шомбург".
К подразделу
"Оклеечная гидроизоляция".
Пункт 2.14, 1-ую группу покрытия из
битумных рулонных материалов дополнить:
- изопласт (ТУ
5774-005-057 66 480-95);
- изоэласт (зимний);
- мостопласт (ТУ
5774-006-057 66 480-96).
При
использовании перечисленных выше битумно-полимерных наплавляемых материалов
число слоев, указанных в таблице 6 видов гидроизоляции, снижается на три слоя,
т.е. используется в один или в два слоя.