В данном разделе размещена информация справочного характера, предоставленная открытыми источниками.
Компания не занимается реализацией и сопровождением товаров и услуг не связанных с производством и обслуживанием грузоподъёмных механизмов.

ГОСУДАРСТВЕННЫЙ
СТАНДАРТ СОЮЗА ССР
ШТАНГЕНЦИРКУЛИ
ТЕХНИЧЕСКИЕ
УСЛОВИЯ
ГОСТ 166-89
(СТ
СЭВ 704-77 ¸ СТ СЭВ 707-77; СТ СЭВ
1309-78, ИСО 3599-76)
ГОСУДАРСТВЕННЫЙ
КОМИТЕТ СССР ПО УПРАВЛЕНИЮ
КАЧЕСТВОМ ПРОДУКЦИИ И СТАНДАРТАМ
Москва
ГОСУДАРСТВЕННЫЙ
СТАНДАРТ СОЮЗА ССР
|
ШТАНГЕНЦИРКУЛИ
Технические условия
Vernier callipers.
Specifications
|
ГОСТ
166-89
(СТ СЭВ 704-77 ¸ СТ СЭВ 707-77;
СТ СЭВ 1309-78, ИСО 3599-76)
|
Срок действия с 01.01.91
до 01.01.96
Несоблюдение стандарта
преследуется по закону
Настоящий
стандарт распространяется на штангенциркули, предназначенные для измерения
наружных и внутренних размеров до 2000 мм, а также штангенциркули специального назначения
для измерения канавок на наружных и внутренних поверхностях, проточек,
расстояний между осями отверстий малых диаметров и стенок труб.
Требования
настоящего стандарта являются обязательными.
(Измененная редакция, Изм. № 2).
1. ТИПЫ. ОСНОВНЫЕ ПАРАМЕТРЫ И РАЗМЕРЫ
1.1. Штангенциркули следует изготовлять следующих основных типов:
I - двусторонние с глубиномером (черт. 1);
Т-1 -
односторонние с глубиномером с измерительными поверхностями из твердых сплавов
(черт. 2);
II - двухсторонние (черт. 3);
III - односторонние (черт. 4).
Примечание.
Допускается оснащать штангенциркули приспособлениями или вспомогательными
измерительными поверхностями для расширения функциональных возможностей
(измерения высот, уступов и др.).

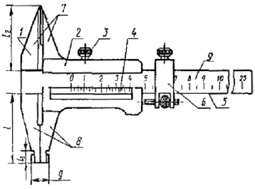
1
- штанга; 2 - рамка; 3 - зажимающий элемент; 4 - нониус; 5
- рабочая поверхность штанги; 6 - глубиномер; 7 - губки с
кромочными измерительными поверхностями для измерения внутренних размеров; 8
- губки с плоскими измерительными поверхностями для измерения наружных
размеров; 9 - шкала штанги.
Черт. 1

1
- штанга; 2 - рамка; 3 - зажимающий элемент; 4 - нониус; 5
- рабочая поверхность штанги; 6 - глубиномер; 7 - губки с
плоскими измерительными поверхностями для измерения наружных размеров; 8
- шкала штанги.
Черт. 2

1
- штанга; 2 - рамка; 3 - зажимающий элемент; 4 - нониус; 5
- рабочая поверхность штанги; 6 - устройство тонкой установки рамки; 7
- губки с кромочными измерительными поверхностями для измерения наружных
размеров; 8 - губки с плоскими и цилиндрическими измерительными
поверхностями для измерения наружных и внутренних размеров соответственно; 9
- шкала штанги.
Черт. 3
(Измененная редакция, Изм. № 1).

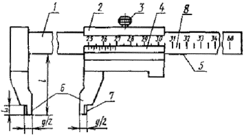
1
- штанга; 2 - рамка; 3 - зажимающий элемент; 4 - нониус; 5
- рабочая поверхность штанги; 6 - губки с плоскими измерительными
поверхностями для измерения наружных
размеров; 7 - губки с цилиндрическими измерительными поверхностями для
измерения внутренних размеров; 8 - шкала штанги.
Черт. 4
(Измененная редакция, Изм. № 1).
1.2. Штангенциркуль следует изготовлять с отсчетом по нониусу (ШЦ) (черт. 1 - 4) или с отсчетом по круговой
шкале (ШЦК) (черт. 5), или с цифровым отсчетным устройством (ШЦЦ) (черт. 6).

1 - круговая шкала отсчетного
устройства; 1 -
цифровое отсчетное устройство;
2 - штанга; 3 - рамка; 4
- шкала штанги. 2
- штанга; 3 - рамка.
Черт. 5 Черт.
6
Примечание. Черт 1-6 не определяют конструкцию
штангенциркулей.
1.3. Диапазон измерений, значение отсчета по нониусу, цена деления
круговой шкалы и шаг дискретности цифрового отсчетного устройства
штангенциркулей должны соответствовать указанным в табл. 1.
Таблица 1
мм
|
Диапазон
измерения штангенциркулей
|
Значение отсчета по нониусу
|
Цена деления круговой шкалы отсчетного
устройства
|
Шаг дискретности цифрового отсчетного
устройства
|
|
0 - 125
|
|
|
|
|
0 - 135
|
|
|
|
|
0 - 150
|
|
0,02; 0,05; 0,1
|
|
|
0 - 160
|
|
|
|
|
0 - 200
|
|
|
|
|
0 - 250
|
0,05; 0,1
|
|
0,01
|
|
0 - 300
|
|
|
|
|
0 - 400
|
|
|
|
|
0 - 500
|
|
|
|
|
250 - 630
|
|
|
|
|
250 - 800
|
|
|
|
|
320 - 1000
|
|
-
|
|
|
500 - 1250
|
|
|
|
|
500 - 1600
|
0,1
|
|
-
|
|
800 - 2000
|
|
|
|
Примечания:
1.
Нижний предел измерения у штангенциркулей с верхним пределом до 400 мм установлен для измерения наружных
размеров.
2.
У штангенциркулей типа Т-1 диапазон измерения относится только к измерениям
наружных размеров и глубины.
3
Верхний предел измерения штангенциркулей типов I и Т-1 должен быть не более 300 мм.
4.
Допускается изготовлять штангенциркули с раздельными нониусами или шкалами для
измерения наружных и внутренних размеров.
5. Допускается изготовлять штангенциркули
типа III с
поверхностями для измерения наружных размеров из твердого сплава (Твердый сплав
по ГОСТ 3882)
Пример условного обозначения штангенциркуля типа II с диапазоном измерения 0 -
250 мм и значением отсчета по нониусу 0,05 мм:
Штангенциркуль ШЦ-II-250-0,05 ГОСТ 166
То же,
штангенциркуля типа II с диапазоном измерения 250 - 630 мм и значением
отсчета по нониусу 0,1 мм, класса точности 1:
Штангенциркуль ШЦ-II-250-630-0,1-1 ГОСТ 166
То же,
штангенциркуля типа I с диапазоном измерения 0 - 150 мм с ценой деления
круговой шкалы 0,02 мм.
Штангенциркуле ШЦК-1-150-0,02 ГОСТ 166
То же,
штангенциркуля типа I с диапазоном измерения 0 - 125 мм с шагом дискретности
цифрового отсчетного устройства 0,01 мм:
Штангенциркуль ШЦЦ-1-125-0,01 ГОСТ 166
(Измененная редакция).
1.4. Штангенциркули типов II и III, комплектуемые приспособлением для разметки, следует оснащать
устройством для тонкой установки рамки (черт. 3).
Для тонкой
установки рамки допускается применять микрометрическую подачу.
1.5. Вылет губок l и l2 для
измерения наружных размеров и вылет губок l1 и l3 для измерения внутренних размеров должен соответствовать указанным в
табл. 2 (черт. 1 - 4).
(Измененная редакция, Изм. № 2).
Таблица 2
мм
|
Диапазон
измерения
|
l
|
l1
|
l2
|
l3
|
|
не менее
|
не более
|
не менее
|
|
0 - 125
|
35
|
42
|
15
|
-
|
-
|
|
0 - 135
|
38
|
42
|
16
|
-
|
-
|
|
0 - 150
|
38
|
42
|
16
|
-
|
-
|
|
0 - 160
|
45
|
50
|
16
|
16
|
6
|
|
0 - 200
|
50
|
63
|
16
|
20
|
8
|
|
0 - 250
|
60
|
80
|
16
|
25
|
10
|
|
0 - 300
|
63
|
100
|
22
|
30
|
10
|
|
0 - 400
|
63
|
125
|
-
|
30
|
10
|
|
0 - 500
|
|
160
|
-
|
40
|
15
|
|
250 - 630
|
80
|
200
|
-
|
40
|
15
|
|
250 - 800
|
|
200
|
-
|
50
|
15
|
|
320 - 1000
|
|
200
|
-
|
50
|
20
|
|
500 - 1250
|
|
|
-
|
|
|
|
500 - 1600
|
100
|
300
|
-
|
63
|
20
|
|
800 - 2000
|
|
|
-
|
|
|
(Измененная редакция. Изм. №
1).
1.6. Штангенциркули типов II и III с губками для измерения внутренних
размеров должны иметь цилиндрическую измерительную поверхность с радиусом не
более половины суммарной толщины губок (не более g/2).
Для
штангенциркулей с пределом измерения до 400
мм размер (черт. 3 - 4) не должен превышать 10 мм, а для штангенциркулей
с верхним пределом измерения свыше 400 мм - 20 мм.
1.7. Длину нониуса следует выбирать из ряда 9; 19; 39 мм - при значении
отсчета по нониусу 0,1 мм, 19; 39 мм - при значении отсчета по нониусу 0,05 мм.
Длинные штрихи
нониуса допускается отмечать целыми числами.
1.8. Штангенциркули с цифровым отсчетным устройством должны обеспечивать
выполнение функций, характеризующих степень автоматизации, в соответствии с
перечнем (по приложению).
1.9. Питание штангенциркулей с цифровым отсчетным устройством должно
осуществляться от встроенного источника питания.
Питание
штангенциркулей, имеющих вывод результатов измерения на внешнее устройство,
должно осуществляться от встроенного источника питания и (или) от сети общего
назначения через блок питания.
(Измененная редакция, Изм. № 2).
1.10. Конструкция штангенциркулей с цифровым отсчетным устройством должна обеспечивать
правильность показаний при наибольшей допустимой скорости перемещения рамки не
менее 0,5 м/с.
1.11. (Исключен. Изм. № 2).
2. ТЕХНИЧЕСКИЕ ТРЕБОВАНИЯ
2.1. Штангенциркули следует изготовлять в соответствии с требованиями
настоящего стандарта по рабочим чертежам, утвержденным в установленном порядке.
2.2. Штангенциркули со значением отсчета по нониусу 0,1 мм и верхним
пределом измерения до 400 мм и
штангенциркули с отсчетом по круговой шкале с ценой деления 0,1 мм следует
изготовлять двух классов точности: 1 и 2.
2.3. Предел допускаемой погрешности штангенциркулей при температуре
окружающей среды (20 ± 5) °С должен соответствовать указанному в табл. 3.
2.4. Предел допускаемой погрешности штангенциркулей типов 1 и Т-1 при
измерении глубины, равной 20 мм,
должен соответствовать табл. 3.
Таблица 3
мм
|
Измеряемая
длина
|
Предел допускаемой погрешности
штангенциркулей (±)
|
|
при значении отсчета по нониусу
|
с ценой деления круговой шкалы отсчетного
устройства
|
с шагом дискретности цифрового отсчетного
устройства
|
|
0,05
|
0,1 для класса точности
|
0,02
|
0,05
|
0,1 для класса точности
|
0,01
|
|
1
|
2
|
1
|
2
|
|
До 100
|
|
0,05
|
|
|
|
|
|
|
|
Св. 100 до 200
|
0,05
|
|
0,10
|
0,03
|
0,04
|
0,05
|
0,08
|
0,03
|
|
» 200 » 300
|
|
|
|
0,04
|
|
|
|
|
|
» 300 » 400
|
|
0,10
|
|
|
|
|
|
0,04
|
|
» 400 » 600
|
0,10
|
|
|
|
|
|
|
0,05
|
|
» 600 » 800
|
|
|
|
|
|
|
|
0,06
|
|
» 800 » 1000
|
|
|
|
|
|
|
|
0,07
|
|
» 1000 » 1100
|
|
0,15
|
|
-
|
-
|
-
|
-
|
|
|
» 1100 » 1200
|
|
0,16
|
-
|
|
|
|
|
|
|
» 1200 » 1300
|
-
|
0,17
|
|
|
|
|
|
-
|
|
» 1300 » 1400
|
|
0,18
|
|
|
|
|
|
|
|
» 1400 » 1500
|
|
0,19
|
|
|
|
|
|
|
|
» 1500 » 2000
|
|
0,20
|
|
|
|
|
|
|
(Измененная редакция).
Примечания:
1.
За измеряемую длину принимают номинальное расстояние между измерительными
поверхностями губок.
2.
У штангенциркулей с одним нониусом погрешность проверяют по губкам для
измерения наружных размеров.
3.
При сдвигании губок штангенциркулей до их
соприкосновения смещение нулевого штриха нониуса допускается только в сторону
увеличения размера.
4. Погрешность штангенциркуля не должна
превышать значений, указанных в табл. 3 при температуре (20 ± 10) °С при
поверке их по плоскопараллельным концевым мерам длины из стали.
2.5. Допуск плоскостности и прямолинейности измерительных поверхностей
должен составлять 0,01 мм на 100 мм длины большей стороны измерительной
поверхности штангенциркулей.
При этом
допускаемые отклонения плоскостности и прямолинейности измерительных поверхностей
должны быть:
0,004 мм - для штангенциркулей со значением отсчета по нониусу, с ценой
деления шкалы и шагом дискретности не более 0,05 мм и длиной большей стороны
измерительной поверхности менее 40 мм;
0,007 мм - для штангенциркулей со значением отсчета по нониусу и с ценой
деления шкалы 0,1 мм и длиной большей стороны измерительной поверхности менее
70 мм.
Допуск
прямолинейности торца штанги штангенциркулей типов I и Т-1 должен составлять
0,01 мм.
По краям плоских
измерительных поверхностей в зоне шириной не более 0,2 мм допускаются завалы.
Примечание. Требования к плоскостности
относят только к поверхностям шириной более 4 мм.
(Измененная редакция. Изм. № 1, 2).
2.6. Допуск параллельности измерительных поверхностей губок для измерения
внутренних размеров должен составлять 0,010 мм на всей длине. Для
штангенциркулей 2 класса точности измерительные поверхности кромочных губок
допускается изготовлять с допуском параллельности 0,02 мм.
В зоне до 0,5 мм
от верхней кромки измерительных поверхностей допускаются завалы.
Допуск
параллельности на 100 мм длины плоских измерительных поверхностей губок для
измерения наружных размеров должен быть:
0,02 мм - при значении отсчета по нониусу, цене деления шкалы и шаге
дискретности не более 0,05 мм;
0,03 мм - при значении отсчета по нониусу и цене деления шкалы 0,1 мм.
2.7. Мертвый ход микрометрической пары устройства для тонкой установки
рамки не должен превышать 1/3 оборота.
2.8. Отклонения размера губок с цилиндрическими измерительными
поверхностями для измерения внутренних размеров не должны превышать: (
) мм при цене деления или значении отсчета по нониусу не
менее 0,05 мм; (
) мм при цене деления или шаге дискретности менее 0,05 мм.
2.9. Рамка не должна перемещаться по штанге под действием собственного
веса при вертикальном положении штангенциркуля.
2.10. Усилие перемещения рамки по штанге должно быть не более значений,
указанных в табл. 4.
Таблица 4
Примечание. Для штангенциркулей с
диапазоном измерения 0 - 125, 0 - 135, 0 - 150 мм допускаемые значения усилия перемещения
выбирают из ряда 10, 15 Н.
2.11. Требования к шкале штанги и нониуса.
2.11.1 Расположение плоскости шкалы нониуса относительно плоскости шкалы
штанги указано на черт. 7.

Черт. 7
2.11.2. Расстояние а от верхней
кромки края нониуса до поверхности шкалы штанги не должно превышать 0,25 мм для
штангенциркулей со значением отсчетов 0,05 и 0,30 мм - для штангенциркулей со
значением отсчета 0,1 мм.
2.11.3. Размеры штрихов шкал штанги и нониуса должны соответствовать
указанным ниже:
ширина штрихов
0,08 - 0,20 мм;
разность ширины
штрихов в пределах одной шкалы (для шкалы штанги на расстоянии более 0,3 от
края шкалы) и штрихов шкал штанги и нониуса одного штангенциркуля не более 0,03
мм при отсчете по нониусу 0,05 мм; 0,05 мм при отсчете по нониусу 0,1 мм.
(Измененная редакция, Изм. № 2).
2.12. Требования к круговой шкале отсчетного устройства
2.12.1. Длина деления шкалы должна быть не менее 1 мм.
2.12.2. Ширина штрихов шкалы 0,15 - 0,25 мм. Разность ширины соответствующих
штрихов в пределах одной шкалы должна быть не более 0,05 мм.
2.12.3. Ширина стрелки над делениями шкалы должна быть 0,15 - 0,20 мм. Конец
стрелки должен перекрывать короткие штрихи не более чем на 0,8 их длины.
Расстояние между концом стрелки и циферблатом не должно превышать 0,7 мм для
шкалы с ценой деления не более 0,05 мм и 1,0 мм с ценой деления 0,1 мм.
2.12.4. Отсчетное устройство должно обеспечивать возможность совмещения
стрелки с нулевым делением круговой шкалы.
2.13. У штангенциркулей с цифровым отсчетным устройством высота цифр
отсчетного устройства должна быть не менее 4 мм.
2.14. Штангенциркули с цифровым отсчетным устройством дополнительно могут
оснащаться интерфейсом для вывода результата измерения на внешнее устройство.
2.15. Твердость измерительных поверхностей штангенциркулей должна быть: из
инструментальной и конструкционной стали - не менее 59 HRCэ;
из
высоколегированной стали - не менее 51,5 НRСэ.
Примечание. Для штангенциркулей типа I с верхним
пределом измерения до 160 мм, изготовленных из инструментальной или
конструкционной сталей, твердость измерительных поверхностей должна быть не
менее 53 НRСэ.
2.16. Параметр шероховатости плоских и цилиндрических измерительных
поверхностей штангенциркулей - Rа £ 0,32 мкм по ГОСТ 2789-73;
измерительных
поверхностей кромочных губок и плоских вспомогательных измерительных
поверхностей - Rа £ 0,63 мкм по ГОСТ
2789-73.
(Измененная редакция, Изм. № 1).
2.17. Наружные поверхности штангенциркулей должны быть покрыты или
обработаны в соответствии с табл. 5.
Таблица 5
|
Наименование
поверхности
|
Верхний предел измерения, мм
|
Вид обработки или покрытия штангенциркулей из
стали
|
|
высоколегированной
|
инструментальной и конструкционной
|
|
Штанга (кроме, шкалы и торца), губки,
рамка штангенциркуля, рамка микроподачи, за исключением измерительных и
прилегающих к ним поверхностей
|
До 2000
|
-
|
Хромирование
|
|
Шкала штанги и нониуса
|
До 630
|
Матовая поверхность
|
Хромирование матовое
|
|
|
|
|
Хромирование
|
|
|
Св. 630 до 2000
|
-
|
Хромирование
|
Примечание.
Допускается применять другие металлические и неметаллические покрытия по ГОСТ
9.303 и ГОСТ
9.032, по защитно-декоративным свойствам не уступающие указанным в табл. 5.
Допускается штангенциркули с верхним пределом
измерения свыше 1000 мм не хромировать.
(Измененная редакция, Изм. № 1).
2.18. Штангенциркули должны быть размагничены.
2.19 - 2.24 (Исключены. Изм № 1, 2).
2.25. Комплектность
2.25.1. К каждому штангенциркулю должна быть приложена эксплуатационная
документация по ГОСТ 2.601.
2.25.2. По заказу потребителя штангенциркули типов II и III комплектуют
приспособлением для разметки.
2.26. Маркировка
2.26.1. На каждом штангенциркуле должны быть нанесены:
товарный знак
предприятия-изготовителя;
порядковый номер
по системе нумерации предприятия-изготовителя;
условное
обозначение года выпуска;
значение отсчета
по нониусу или цена деления;
размер g
(штангенциркулей типов II и IIIс одним нониусом или одном
шкалой, черт. 3
- 4)
на одной из губок;
класс точности 2
(для штангенциркулей со значением отсчета по нониусу или ценой деления
шкалы 0,1 мм);
слово «Внутр.»
на шкале для измерения внутренних размеров.
(Измененная редакция, Изм. № 2).
2.26.2. Допускается не указывать порядковый номер в эксплуатационной
документации.
2.26.3. Маркировка на футляре - по ГОСТ 13762.
Наименование или
условное обозначение штангенциркуля наносят только на жестком футляре.
2.27. Упаковка
2.27.1. Методы и средства для обезжиривания и консервации штангенциркулей -
по ГОСТ 9.014.
2.27.2. Штангенциркули должны быть упакованы в футляры, изготовленные из
материалов по ГОСТ 13762 Для штангенциркулей с нониусом с верхним пределом до 630 мм
включительно допускается мягкая упаковка.
2.27.3. Штангенциркули с пределом измерения свыше 400 мм при
транспортировании в контейнерах допускается упаковывать в футляры без
транспортной тары.
При упаковывании
без транспортной тары футляры с штангенциркулями должны быть закреплены так,
чтобы исключалась возможность их перемещения.
3. ПРИЕМКА
3.1. Для проверки соответствия штангенциркулей требованиям настоящего
стандарта следует проводить государственные испытания, приемочный контроль,
периодические испытания.
(Измененная редакция, Изм. № 2).
3.2. Государственные испытания - по ГОСТ 8.383 и ГОСТ 8.001.
Проверку
погрешностей штангенциркулей при температуре (20 ± 10) °С проводят только при государственных
испытаниях.
3.3. При приемочном контроле каждый штангенциркуль проверяют на
соответствие требованиям пп. 1.3; 1.4; 1.6; 1.8; 2.3 - 2.10; 2.12.4; 2.16; 2.18; 2.25; 2.26.
3.4. Периодические испытания проводят не реже раза в 3 года не менее чем
на 3 штангенциркулях каждого типоразмера из числа прошедших приемочный контроль
на соответствие всем требованиям настоящего стандарта.
Результаты
испытаний считают удовлетворительными, если все образцы соответствуют всем
проверяемым требованиям.
(Измененная редакция, Изм. № 2).
3.5. (Исключен. Изм. № 2).
4. МЕТОДЫ КОНТРОЛЯ И ИСПЫТАНИЙ
4.1. Поверка штангенциркулей - по ГОСТ 8.113 и МИ 1384.
4.2. При определении влияния транспортной тряски используют ударный стенд,
создающий тряску ускорением 30 м/с2 при частоте 80 - 120 ударов в
минуту.
Штангенциркули в
упаковке крепят к стенду и испытывают при общем числе ударов 15000. После
испытаний погрешность штангенциркулей не должна превышать значений, указанных в
табл. 3.
Допускается проводить
испытания штангенциркулей транспортированием на грузовой машине со скоростью 20
- 40 км/ч на расстояние не менее 100 км по грунтовой дороге.
4.3. Воздействие климатических факторов внешней среды при
транспортировании определяют в климатических камерах в следующих режимах: при
температуре минус (50 ± 3) °С, плюс (50 ± 3) °С и при влажности (95 ± 3) %. Выдержка в климатической камере по каждому из трех видов
испытаний - 2 ч. После испытаний погрешность штангенциркулей не должна
превышать значений, указанных в табл. 3.
Допускается
после выдержки штангенциркулей в каждом режиме выдерживать его в нормальных
условиях в течение 2 ч.
5. ТРАНСПОРТИРОВАНИЕ И
ХРАНЕНИЕ
Транспортирование
и хранение - по ГОСТ
13762.
6. УКАЗАНИЯ ПО ЭКСПЛУАТАЦИИ
Штангенциркули
допускался эксплуатировать при температуре окружающей среды от 10 до 40 °С и относительной влажности воздуха - не
более 80 % при температуре 25 °С.
7. ГАРАНТИИ ИЗГОТОВИТЕЛЯ
Изготовитель
гарантирует соответствие штангенциркулей требованиям настоящего стандарта при
соблюдении условий транспортирования, хранения и эксплуатации.
Гарантийный срок
эксплуатации штангенциркулей - 12 мес со дня ввода в эксплуатацию,
штангенциркулей, оснащенных твердым сплавом, - 18 мес, а при продаже через
розничную сеть - 12 мес со дня продажи.
Обязательное
1. Выдача цифровой информации в прямом коде (с указанием знака и
абсолютного значения).
2. Установка начала отсчета в абсолютной системе координат.
3. Запоминание результата измерения*.
4. Гашение памяти с восстановлением текущего результата измерения*.
5. Вывод результатов измерения на внешнее устройство*.
6. Предварительная остановка нуля.
7. Предварительная установка числа (ввод констант)*.
8. Сравнение результатов измерения с пороговыми границами*.
9. Арифметические действия с результатами измерения и константами*.
* По заказу потребителя.
ИНФОРМАЦИОННЫЕ ДАННЫЕ
1. РАЗРАБОТАН И ВНЕСЕН Министерством станкостроительной и
инструментальной промышленности
ИСПОЛНИТЕЛИ
М.Б.
Шабалина, канд.
техн. наук (руководитель темы); Н.В. Семенова
2. УТВЕРЖДЕН И ВВЕДЕН В ДЕЙСТВИЕ Постановлением Государственного
комитета СССР по управлению качеством продукции и стандартам от 30.10.99 № 3253
3. ВЗАМЕН ГОСТ 166-80
4. Срок проверки - III кв. 1994 г., периодичность - 5 лет
5. Стандарт полностью соответствует СТ СЭВ 704-77 - СТ СЭВ 707-77, СТ
СЭВ 1309-78, ИСО 3599-76
6. ССЫЛОЧНЫЕ НОРМАТИВНО-ТЕХНИЧЕСКИЕ ДОКУМЕНТЫ
СОДЕРЖАНИЕ